Холодильник Electrolux ENF 4450 AOX - инструкция пользователя по применению, эксплуатации и установке на русском языке. Мы надеемся, она поможет вам решить возникшие у вас вопросы при эксплуатации техники.
Если остались вопросы, задайте их в комментариях после инструкции.
"Загружаем инструкцию", означает, что нужно подождать пока файл загрузится и можно будет его читать онлайн. Некоторые инструкции очень большие и время их появления зависит от вашей скорости интернета.

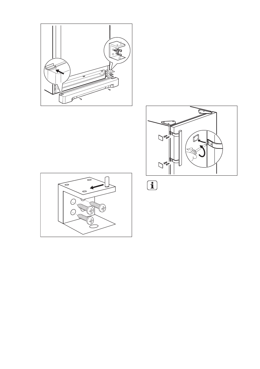
7. Осторожно положите прибор на
заднюю стенку, полностью
вывинтите регулируемую ножку и
привинтите ее с противоположной
стороны
8. Снимите нижнюю петлю,
развинтив ее винты.
9. С помощью 12-миллиметрового
гаечного ключа вывинтите штифт
петли и закрепите его на
противоположной стороне петли.
10. Установите нижнюю петлю на
противоположной стороне,
используя снятые ранее винты.
11. Осторожно установите прибор в
рабочее положение и
отрегулируйте уровень,
завинчивая/ вывинчивая пальцами
или ключом регулируемые ножки,
расположенные внизу прибора.
12. Выньте заглушку из
вентиляционной решетки, нажимая
на нее в направлении стрелки, и
установите ее с противоположной
стороны.
13. Установите вентиляционную
решетку, закрепив винты.
14. Установите нижнюю дверцу.
15. Установите среднюю петлю (H) с
противоположной стороны.
16. Установите верхнюю дверцу.
17. К пакету документации
прилагается верхняя петля,
необходимая для выполнения
смены сторон. Вставьте петлю на
место и привинтите.
18. Снимите заглушки и ручки и
установите их с противоположной
стороны.
19. Установите пластиковые заглушки
в оказавшиеся открытыми
отверстия.
В завершение проверьте,
чтобы:
• все винты были
затянуты.
• магнитная прокладка
прилегала к корпусу.
• дверца как следует
открывалась и
закрывалась.
При низкой температуре в
помещении (т.е. зимой)
прокладка может неплотно
прилегать к корпусу. В
таком случае дождитесь
естественной усадки
прокладки по месту. В
случае нежелания
выполнять
вышеописанные операции
самостоятельно можно
обратиться в ближайший
сервисный центр.
Специалист сервисного
центра перевесит дверцу
за отдельную плату.
РУССКИЙ
53
Содержание
- 37 возможностями; Общие правила техники безопасности
- 39 Давление поступающей в прибор воды; УКАЗАНИЯ ПО БЕЗОПАСНОСТИ; электросети
- 41 Панель управления; Регулировка температуры; ЕЖЕДНЕВНОЕ ИСПОЛЬЗОВАНИЕ; Передвижные полки
- 42 Полка для бутылок; Ящик для овощей с; регуляцией влажности
- 43 Воздушное охлаждение; льда
- 44 Замораживание свежих; Хранение замороженных; продуктов
- 45 время работы
- 47 холодильника
- 48 морозильника; Перерывы в эксплуатации; ПОИСК И УСТРАНЕНИЕ НЕИСПРАВНОСТЕЙ
- 50 Закрывание дверцы
- 51 Выбор места установки
- 54 BRRR
- 55 ТЕХНИЧЕСКИЕ ДАННЫЕ; Технические данные; ОХРАНА ОКРУЖАЮЩЕЙ СРЕДЫ












