Холодильник Electrolux ENB 3850 - инструкция пользователя по применению, эксплуатации и установке на русском языке. Мы надеемся, она поможет вам решить возникшие у вас вопросы при эксплуатации техники.
Если остались вопросы, задайте их в комментариях после инструкции.
"Загружаем инструкцию", означает, что нужно подождать пока файл загрузится и можно будет его читать онлайн. Некоторые инструкции очень большие и время их появления зависит от вашей скорости интернета.

70
!
!
!
!&
&
#
# +
+"
"
"
"**&
&(
()
)!
!"
"%
% $
$
+
+
" "$"!-!&& *+"1&#!&7 $"+!7
'"("1&) *+""1!!5 '"$5 # 1 &(& 2 &+.9&
7 $"!%!5. $&+ ",*"+ +"1!" "#","&)
+" # +""*&()!"+ "(!&& (7 *+"1&#!&7
(.9% *8*$& '"$"#. "(.9
*+"1&#!& ! '"#& 1 2!79&7
'"$5.
(& !",2"&+" *("1&) ,"();&% ",A+
'"$"#, +"1!" &*#(-) $"!%!5, *
&$(.-!&+ !&1!8", '"$5 '"("1&) '7+"
! '"($&.
"+!& " "$2 2!!&7, $*!!52 !
'$"#$ *+""1!!52 '"$"#, (& 5
'"$' &2 1 # *+""1!!"+ #&.
"'$7 2!!& '&9#52 '"$"#,
'"#8;&27 ,5"% *+""*$ &(&
*+""*$, "()$" (& "!& ! ,5(& *+""1!5
1 ! $""$" #+7 ' +, $$ &2
'"+9. # +""*&()!. $+.
(& '"$, *+""1!!5% '& !&*$"%
+' , 1 ,5( *+""1!, !
$"+!7 *+"1&#) 8" '"#"!",
!",2"&+" &'"()*"#) 8" $$ +"1!" $".
$
$
(
(
)
) $
$
,
,&
&$
$&
& (
()
)
N",5 () $,&$& (), *'"(!& &+.9.7
+$") #""% & '"+& # +""*&()!"
"(!&. (& #5 +"-& !" ("$ #""% &
!"#& +" ! +$&+()!" *!-!&,
( ",*7 ,5. " *#;!&&
'&8""#(!&7 () ! *,) !"#&)
+" ! '1! *!-!&.
*#(-) 8""#5 $,&$& () +"1!" '"1# (""$
'" % #"5, *+ "8!# &(& (8$ '"-#
'" ("$. (& (""$ " ()"+ '&+* $ '"($, !& #
$"+ (- ! &'"()*% +((&-$&
&!+!5 &(& !"1 (7 "8", -",5 "(&) (""$
" '"($& #5 +"1 '"#&) "2(&()!.
&+.
RUS
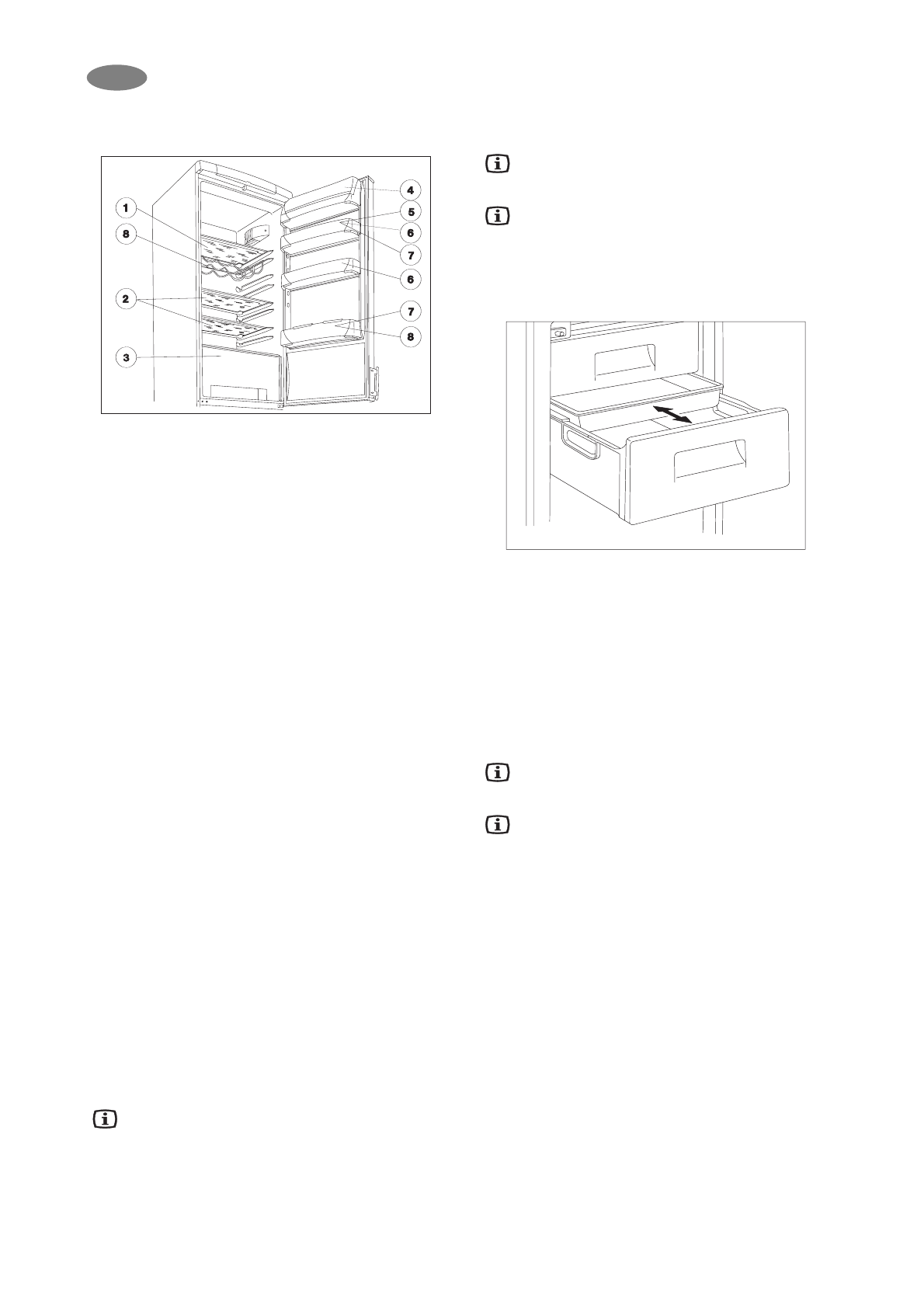
7. '&$& # !,"();&2 ,5($2, 8*&"#!!5
!'&$&
8. "();& ,5($&, !'&$&.
+
+7
7 2
2
!
!
!
!&
&7
7 &
&
+
+'
'
'
'
"
"
$
$"
"#
#
,(&/, # $"""% $*!5 "$& 2!!&7 "8" &(&
&!"8" '"$, !2"&7 # $"!/ &!$/&&.
+7 2!!&7 !()*7 "'(&) *!, $ $$
"!" *#&& " '!& #1& '"$ & " "8",
$$ '"$ 2!&(7 !);, '"6"+ ,(&/
7#(77 -&" &!4"+&#!"%.
(& #5 ! !+!5 &'"()*"#) '"$5
8(,"$"% *+""*$& * 1 '"( '"$'$&, &2
+"1!" '"+&) # 2"("&()!&$ '&+!" ! 1 !)
" '"(!"8" "&#!&7.
$
$ &
&
'
'"
"(
()
)**"
"#
#
)
) +
+"
"
"
"**&
&(
()
)!
!
.
.
$
$
+
+
+
+"
"
1
1&
&#
#
!
!&
&
,""#!& +"1 *+"1&#) #1&
'"$5 # $"(&-#, $*!!"+ ! ''"!"%
,(&-$. "( ""##.9% '"8""#$&
#5'"(!& *+"1&#!& (.9&+ ",*"+.
1+& $!"'$ #5," 4!$/&& (Function) "&! &(&
!$"()$" *, -",5 #$(.-&) 1&+ ,5"8"
*+"1&#!&7 (&+#"( 1&+ ,5"8"
*+"1&#!&7 &*",1! ! &'().
("1& ! *+""1!!5 '"$5 &*
!&1!8" $"!%! # 8"% $"!%! &(&
$"!%!5. "+& #1& '"$5 # !&1!&%
$"!%!, "#&# ""-!" + (7
/&$(7/&& #"*2.
#) ",""#!& ,".9&+ # $"+
""7!&& '&,(&*&()!" # -!& "$.
52" &* 1&+ ,5"8" *+"1&#!&7
"9#(77 '"#"!5+ !1&+ $!"'$&
#5," 4!$/&&. (& ! #5$(.-&) 1&+
,5"8" *+"1&#!&7 #-!., +""*&()!&$
#"+&-$& #"*#&7 # ",5-!5% 1&+.
&
& #
# $
$"
"
+
+
(
(
-
-
!
!
**
$
$(
(
5
5#
#
%
%
(
(7
7
**
+
+"
"
1
1&
&#
#
!
!&
&7
7
"
"
!
!"
"#
#
+
+
!
!!
!"
"
"
",
,A
A
+
+
'
'
"
"
$
$"
"#
#,, '
'
#
#5
5;
;
.
.9
9&
&%
% **!
!
-
-
!
!&
&
,,
$
$
**
!
!!
!"
"
#
#
““
2
2!
!&
&-
-
$
$&
&2
2 2
2
$
$
&
&
&
&$
$
2
2””,, #
# '
'
"
"&
&#
#!
!"
"+
+
(
(
-
-
**
+
+"
"
1
1&
&#
#
!
!&
&
!
!
,
,
'
'"
"(
(!
!5
5+
+,,
'
'"
"
(
(
**+
+"
"
1
1&
&#
#
!
!&
&7
7
$
$
-
-
#
#"
"
'
'
"
"
$
$"
"#
#
,
,
!
!
;
;
!
!"
" (('
'"
"
7
7 #
#$
$
"
"#
#5
52
2 $
$
-
-
#
#,,
**
;
;
!
!&
&
&
&
..
..))..
X(()!" ! "'$) ",*"#!&7 () #"
#+7 *+"1&#!&7, $ $$ !+*;&% (
!&1 644$&#!") *+"1&#!&7.
""*&()!5% (""$ '&8"! (7
*+"1&#!&7 '(""# !,"();"8" *+
(+(&!, $(,!&$, +""&! & ..). $(5#%
'("5 ! (""$ "!$&+ ("+ ,* '$"#$&. "
"$"!-!&& *+"1&#!&7 &2 +"1!" '$"#) &
"&"#) & *("1&) # "(!&7 (7
2!!&7.












