Холодильник Electrolux EN3854NOW - инструкция пользователя по применению, эксплуатации и установке на русском языке. Мы надеемся, она поможет вам решить возникшие у вас вопросы при эксплуатации техники.
Если остались вопросы, задайте их в комментариях после инструкции.
"Загружаем инструкцию", означает, что нужно подождать пока файл загрузится и можно будет его читать онлайн. Некоторые инструкции очень большие и время их появления зависит от вашей скорости интернета.

Клима‐
тиче‐
ский
класс
Температура окружающей
среды
SN
от +10°C до + 32°C
N
от +16°C до + 32°C
ST
от +16°C до + 38°C
T
от +16°C до + 43°C
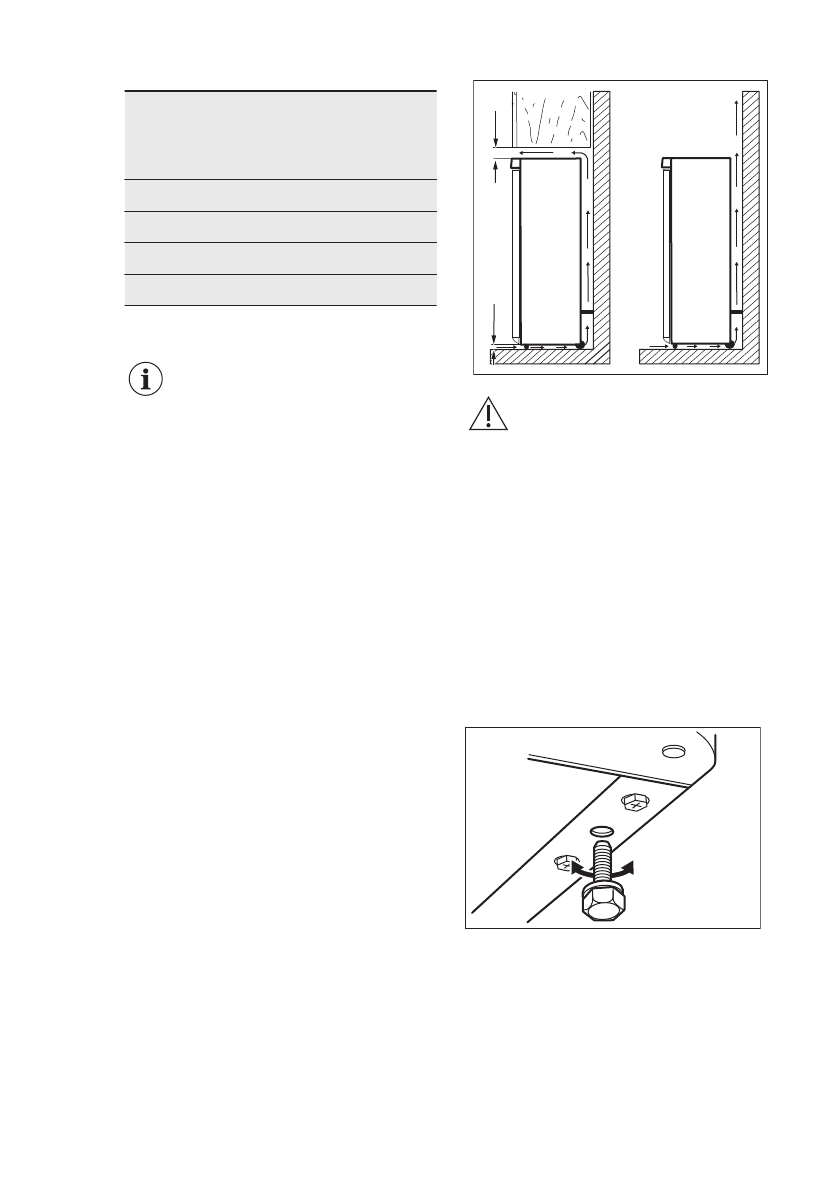
7.2 Выбор места установки
Необходимо обеспечить
возможность отключения
прибора от сети
электропитания; к вилке
шнура питания прибора
после его установки
должен быть обеспечен
легкий доступ.
Прибор следует устанавливать вдали
от источников тепла, таких как
радиаторы отопления, котлы, прямые
солнечные лучи и т.д. Обеспечьте
свободную циркуляцию воздуха вокруг
задней части прибора. Если прибор
расположен под подвесной мебелью,
то для обеспечения оптимальной
работы минимальное расстояние
между верхом прибора и мебелью
должно быть не менее 100 мм. Однако
желательно вовсе не устанавливать
прибор под подвесной мебелью. Одна
или больше регулировочных ножек в
основании корпуса обеспечивают
ровное положение прибора.
A
B
1
0
0
mm
mi
n
2
0
mm
ПРЕДУПРЕЖДЕНИЕ
Для обеспечения
надлежащей работы
прибора при температуре
окружающего воздуха
свыше 38ºC
рекомендуется обеспечить
зазор в 30 мм между
стенками прибора и
мебелью вокруг него.
7.3 Выравнивание
При установке прибора убедитесь, что
он стоит ровно. Это достигается с
помощью двух регулируемых ножек,
расположенных спереди внизу.
7.4 Подключение к
электросети
• Перед включением прибора в сеть
удостоверьтесь, что напряжение и
частота, указанные в табличке с
техническими данными,
соответствуют параметрам
домашней электрической сети.
www.electrolux.com
14