Холодильник Electrolux EN 93888 MW - инструкция пользователя по применению, эксплуатации и установке на русском языке. Мы надеемся, она поможет вам решить возникшие у вас вопросы при эксплуатации техники.
Если остались вопросы, задайте их в комментариях после инструкции.
"Загружаем инструкцию", означает, что нужно подождать пока файл загрузится и можно будет его читать онлайн. Некоторые инструкции очень большие и время их появления зависит от вашей скорости интернета.

• Изготовитель снимает с себя
всякую ответственность в случае
несоблюдения вышеуказанных
правил техники безопасности.
• Данный прибор соответствует
Директивам ЕСС.
9.3 Выбор места установки
Необходимо обеспечить
возможность отключения
прибора от сети
электропитания; к вилке
шнура питания прибора
после его установки
должен быть обеспечен
легкий доступ.
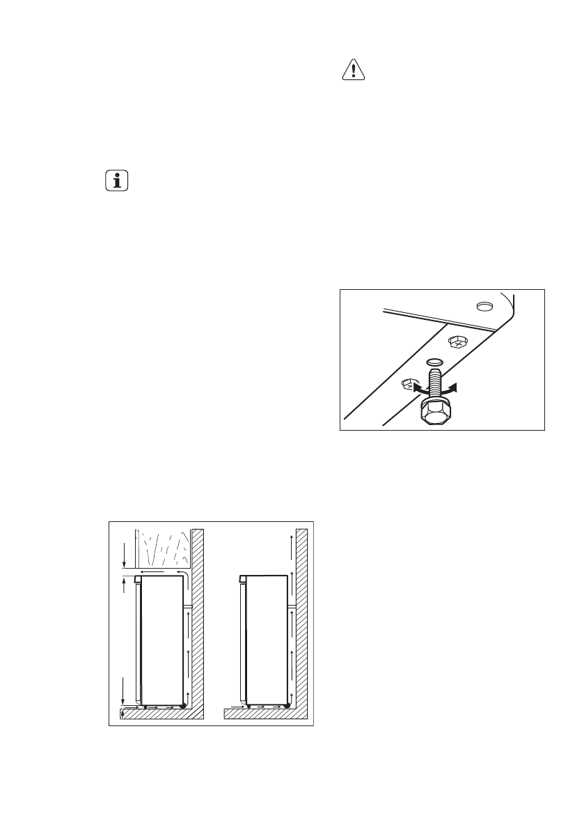
Прибор следует устанавливать вдали
от источников тепла, таких как
радиаторы отопления, котлы, прямые
солнечные лучи и т.д. Обеспечьте
свободную циркуляцию воздуха вокруг
задней части прибора. Если прибор
расположен под подвесным шкафом,
для обеспечения оптимальной работы
минимальное расстояние между
корпусом и шкафом должно быть не
менее 100 мм. Однако желательно
вовсе не устанавливать прибор под
подвесной мебелью. Точная установка
по уровню достигается с помощью
регулировки одной или нескольких
регулировочных ножек,
расположенных в основании корпуса.
A
B
1
0
0
mm
mi
n
2
0
mm
ОСТОРОЖНО!
Для обеспечения
надлежащей работы
прибора при температуре
окружающего воздуха
свыше 38ºC
рекомендуется обеспечить
зазор в 30 мм между
стенками прибора и
мебелью вокруг него.
9.4 Выравнивание
При установке прибора убедитесь, что
он стоит ровно. Это достигается с
помощью двух регулируемых ножек,
расположенных спереди внизу.
9.5 Установка угольного
фильтра TASTEGUARD
Фильтр TASTEGUARD представляет
собой фильтр с активированным
углем, поглощающий неприятные
запахи и обеспечивающий сохранение
наилучшего вкуса и аромата всех
пищевых продуктов без смешения
запахов.
При поставке угольный фильтр
находится в пластиковом пакете для
сохранения его работоспособности.
Перед включением прибора фильтр
следует установить в выдвижной
ящик.
www.electrolux.com
22
Содержание
- 3 возможностями; Общие правила техники безопасности
- 4 УКАЗАНИЯ ПО БЕЗОПАСНОСТИ
- 5 электросети
- 7 Общий обзор изделия
- 8 Панель управления; Регулировка температуры; превышения температуры
- 9 Режим DrinksChill
- 10 ЕЖЕДНЕВНОЕ ИСПОЛЬЗОВАНИЕ; Первое подключение к; электропитанию; Очистка внутренних; поверхностей; Хранение замороженных; Замораживание свежих; продуктов
- 11 Передвижные полки
- 12 Контроль влажности
- 13 Угольный воздушный; фильтр; Размещение полок; дверцы; морозильника корзин для
- 14 Нормальные звуки во; время работы
- 15 Общие предупреждения
- 16 Очистка внутренних; Периодическая чистка; холодильника
- 17 морозильника; Перерывы в эксплуатации; воздушного фильтра; ПОИСК И УСТРАНЕНИЕ НЕИСПРАВНОСТЕЙ
- 21 Закрывание дверцы
- 22 Выбор места установки; Установка угольного; фильтра TASTEGUARD
- 23 Перевешивание дверцы
- 26 ТЕХНИЧЕСКИЕ ДАННЫЕ; Технические данные; ОХРАНА ОКРУЖАЮЩЕЙ СРЕДЫ
Характеристики
Остались вопросы?Не нашли свой ответ в руководстве или возникли другие проблемы? Задайте свой вопрос в форме ниже с подробным описанием вашей ситуации, чтобы другие люди и специалисты смогли дать на него ответ. Если вы знаете как решить проблему другого человека, пожалуйста, подскажите ему :)