Холодильник Electrolux EN 93853 MW (MX) - инструкция пользователя по применению, эксплуатации и установке на русском языке. Мы надеемся, она поможет вам решить возникшие у вас вопросы при эксплуатации техники.
Если остались вопросы, задайте их в комментариях после инструкции.
"Загружаем инструкцию", означает, что нужно подождать пока файл загрузится и можно будет его читать онлайн. Некоторые инструкции очень большие и время их появления зависит от вашей скорости интернета.

4. ОПИС РОБОТИ
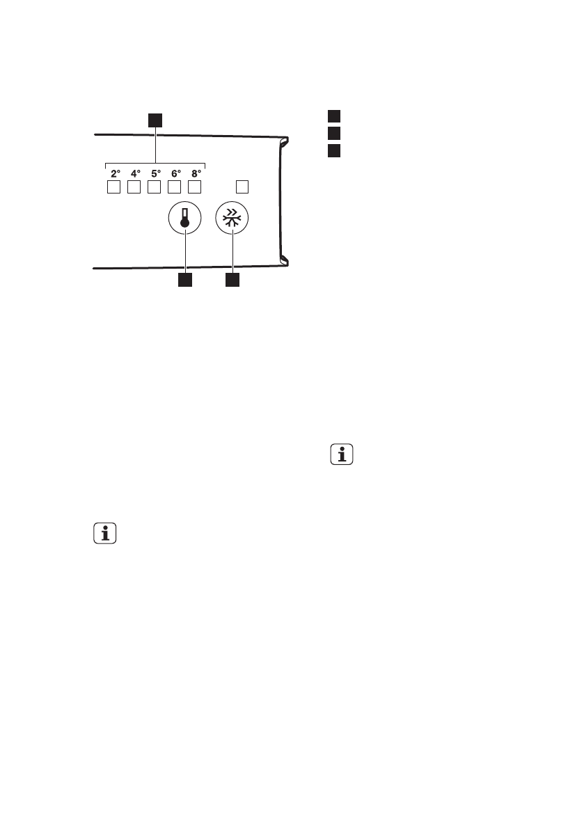
4.1 Панель керування
1
3
2
1
Індикатори температури LED
2
FastFreeze
3
Регулятор температури
4.2 Увімкнення
Вставте вилку у стінну розетку.
4.3 Функція FastFreeze
Функцію FastFreezeможна ввімкнути,
натиснувши кнопку FastFreeze.
Загориться індикатор LED, який
відповідає символу FastFreeze.
Функцію FastFreeze можна вимкнути,
ще раз натиснувши кнопку FastFreeze.
Після цього індикатор FastFreeze
згасне.
Функція автоматично
вимикається через
52 години.
4.4 Регулювання температури
Торкніться кнопки регулятора
температури та утримуйте її, доки не
загориться індикатор LED, що
відповідає потрібній температурі.
Вибір здійснюється в порядку
зростання від 2 до 8 °C.
Під час першого торкання кнопки
починає блимати поточна величина
LED.
Після кожного торкання кнопки
встановлена температура змінюється
на 1 положення. Відповідний індикатор
LED буде блимати протягом певного
часу.
Торкніться кнопки налаштування
потрібну кількість разів, доки не буде
обрано потрібну температуру. Задана
температура буде зафіксована
Найнижче значення
температури: +2 °C.
Найвище значення
температури: +8 °C.
Зазвичай найбільше
підходить середнє
значення.
Однак при встановленні точної
температури слід пам’ятати, що
температура всередині приладу
залежить від таких чинників:
• температура у приміщенні
• частота відкриття дверцят
• кількість продуктів усередині
приладу
• розташування приладу.
УКРАЇНСЬКА
47
Содержание
- 22 возможностями; Общие правила техники безопасности
- 23 УКАЗАНИЯ ПО БЕЗОПАСНОСТИ
- 24 электросети
- 28 ЕЖЕДНЕВНОЕ ИСПОЛЬЗОВАНИЕ; Замораживание свежих; Хранение замороженных; продуктов; Функция FREESTORE
- 29 дверцы; Передвижные полки
- 30 Нормальные звуки во; время работы
- 32 электропитанию; Очистка внутренних; поверхностей
- 33 Периодическая чистка; холодильника; Перерывы в эксплуатации
- 34 ПОИСК И УСТРАНЕНИЕ НЕИСПРАВНОСТЕЙ
- 36 Закрывание дверцы
- 37 Выбор места установки
- 38 Перевешивание дверцы
- 40 ТЕХНИЧЕСКИЕ ДАННЫЕ; Технические данные; ОХРАНА ОКРУЖАЮЩЕЙ СРЕДЫ