Холодильник Electrolux EN 93852 JW (JX) - инструкция пользователя по применению, эксплуатации и установке на русском языке. Мы надеемся, она поможет вам решить возникшие у вас вопросы при эксплуатации техники.
Если остались вопросы, задайте их в комментариях после инструкции.
"Загружаем инструкцию", означает, что нужно подождать пока файл загрузится и можно будет его читать онлайн. Некоторые инструкции очень большие и время их появления зависит от вашей скорости интернета.

A
B
1
0
0
mm
mi
n
2
0
mm
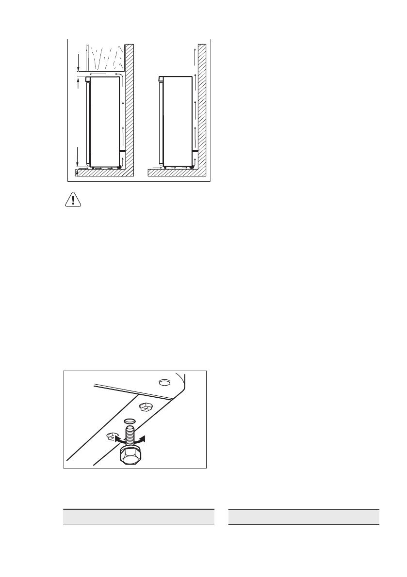
УВАГА
З метою забезпечення
належного функціонування
за середньої температури
навколишнього
середовища понад 38 ºC
рекомендується залишити
відстань не менш 30 мм
між боками приладу та
меблями, що його
оточують.
7.3 Вирівнювання
Встановлюючи прилад, подбайте про
те, щоб він стояв рівно. Цього можна
досягти за допомогою двох
регульованих ніжок, розташованих
спереду знизу.
7.4 Підключення до
електромережі
• Перш ніж під’єднати прилад до
електромережі, переконайтеся, що
показники напруги й частоти,
вказані на табличці з паспортними
даними, відповідають показникам
мережі у вашому регіоні.
• Прилад повинен бути заземленим.
З цією метою вилка приладу
оснащена спеціальним контактом.
Якщо у розетці заземлення немає,
заземліть прилад окремо у
відповідності до чинних
нормативних вимог,
проконсультувавшись із
кваліфікованим електриком.
• Виробник не несе відповідальності
у разі недотримання цих правил
техніки безпеки.
• Цей прилад відповідає директивам
ЄЕС.
7.5 Встановлення дверцят на
інший бік
Якщо потрібно змінити напрям
відкриття дверцят, зверніться до
найближчого сервісного центру.
Спеціаліст сервісного центру
перевстановить дверцята на інший бік
за ваш рахунок.
8. ТЕХНІЧНІ ДАНІ
Висота
2010 мм
Ширина
595 мм
УКРАЇНСЬКА
27
Содержание
- 3 возможностями; Общие правила техники безопасности
- 4 УКАЗАНИЯ ПО БЕЗОПАСНОСТИ
- 5 электросети
- 7 Регулировка температуры
- 8 дверцы
- 9 ЕЖЕДНЕВНОЕ ИСПОЛЬЗОВАНИЕ; Замораживание свежих; Хранение замороженных; продуктов
- 10 Очистка внутренних; поверхностей; Периодическая чистка
- 11 Перерывы в эксплуатации; ПОИСК И УСТРАНЕНИЕ НЕИСПРАВНОСТЕЙ
- 14 Выбор места установки
- 15 Перевешивание дверцы; ТЕХНИЧЕСКИЕ ДАННЫЕ
 
  
  
  
  
  
  
  
  
  
  
  
  
  
  
  
  
  
  
  
  
  
  
  
  
  
  
  
  
  
  
  
 











