Холодильник Electrolux EN 93441 JW (JX) - инструкция пользователя по применению, эксплуатации и установке на русском языке. Мы надеемся, она поможет вам решить возникшие у вас вопросы при эксплуатации техники.
Если остались вопросы, задайте их в комментариях после инструкции.
"Загружаем инструкцию", означает, что нужно подождать пока файл загрузится и можно будет его читать онлайн. Некоторые инструкции очень большие и время их появления зависит от вашей скорости интернета.

5
Есіктің сөрелері
6
Шөлмек қоятын сөре
7
Мұздатқыштың тартпалары
8
Техникалық ақпарат тақтайшасы
4. ЖҰМЫС ЖҮЙЕСІ
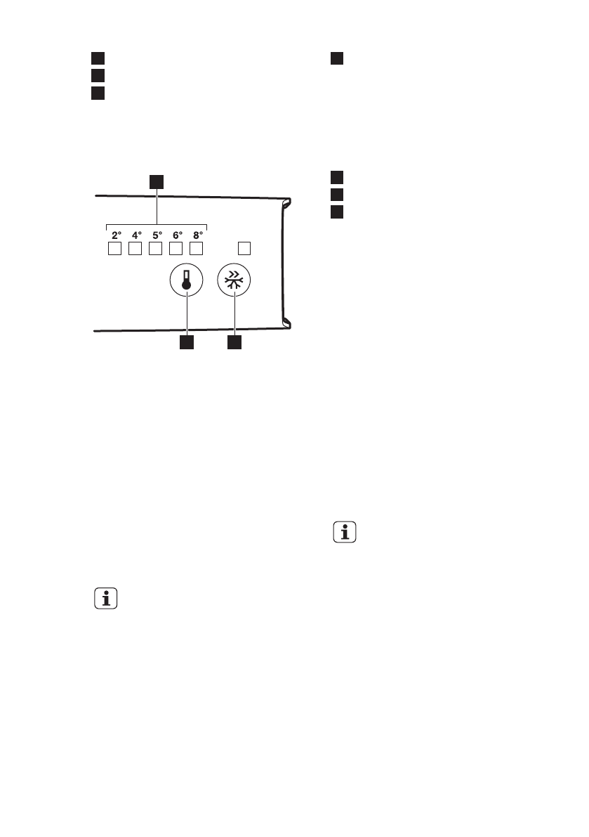
4.1 Басқару панелі
1
3
2
1
Температура индикаторлары LED
2
FastFreeze
3
Температура тетігі
4.2 Іске қосу
Ашаны розеткаға сұғыңыз.
4.3 FastFreeze функциясы
FastFreeze функциясын FastFreeze
түймешігін басып қосуға болады.
Тиісті LED шам (FastFreeze белгісінің)
жанады.
FastFreeze функциясын FastFreeze
түймешігін қайта басу арқылы
сөндіруге болады.
FastFreeze индикаторы сөнеді.
Бұл функция 52 сағаттан
кейін өздігінен тоқтайды.
4.4 Температураны реттеу
Құрылғыны іске пайдалану үшін
температура тетігін қажетті
температураға сай келетін LED
жанғанша басыңыз. Таңдалған мән
прогрессивті түрде, 2°C бастап 8°C
дейін өзгеріп отырады.
Түймешікті бір рет басқан кезде
ағымдық параметр LED
жыпылықтайды.
Түймешікті кез келген уақытта басқан
кезде температура 1 қалпына
жылжиды. Тиісті LED шам біраз
жыпылықтап тұрады.
Параметр түймешігін қажетті
температура таңдалғанша басыңыз.
Орнатылған параметр сақталады
Ең суық параметр: +2°C.
Ең жылы параметр: +8°C.
Әдетте орташа суықтықты
таңдаған дұрыс.
Дегенмен, дәл мәнді құрылғының
ішіндегі температураның төмендегі
жағдайларға тәуелді болатынын
ескеріп таңдау керек:
• бөлме температурасы
• есіктің қаншалықты жиі
ашылатыны
• сақталған тағамның мөлшері
• құрылғының орналасқан орны.
ҚАЗАҚ
7
Содержание
- 22 возможностями; Общие правила техники безопасности
- 23 УКАЗАНИЯ ПО БЕЗОПАСНОСТИ
- 24 электросети
- 28 ЕЖЕДНЕВНОЕ ИСПОЛЬЗОВАНИЕ; Замораживание свежих; Хранение замороженных; продуктов
- 29 Передвижные полки; морозильника корзин для
- 30 Нормальные звуки во; время работы
- 31 Общие предупреждения
- 32 Первое подключение к; электропитанию; Очистка внутренних; поверхностей; Периодическая чистка; холодильника
- 33 морозильника; Перерывы в эксплуатации; ПОИСК И УСТРАНЕНИЕ НЕИСПРАВНОСТЕЙ
- 37 Перевешивание дверцы
- 40 ТЕХНИЧЕСКИЕ ДАННЫЕ; Технические данные; ОХРАНА ОКРУЖАЮЩЕЙ СРЕДЫ