Холодильник Electrolux EN 3486 MOX - инструкция пользователя по применению, эксплуатации и установке на русском языке. Мы надеемся, она поможет вам решить возникшие у вас вопросы при эксплуатации техники.
Если остались вопросы, задайте их в комментариях после инструкции.
"Загружаем инструкцию", означает, что нужно подождать пока файл загрузится и можно будет его читать онлайн. Некоторые инструкции очень большие и время их появления зависит от вашей скорости интернета.

отделении мокрыми или влажными
руками.
• На замораживайте повторно уже
размороженные продукты.
• Соблюдайте инструкции по
хранению, приведенные на
упаковке замороженных продуктов.
2.4 Уход и очистка
ВНИМАНИЕ!
Это может привести к
повреждению прибора или
травмам.
• Перед выполнением операций по
чистке и уходу выключите прибор и
извлеките вилку сетевого шнура из
розетки.
• В холодильном контуре данного
прибора содержатся углеводороды.
Техническое обслуживание и
перезарядка должны выполняться
только квалифицированным
специалистом.
• Регулярно проверяйте сливное
отверстие в корпусе прибора и при
необходимости прочищайте его. В
случае засорения отверстия талая
вода будет скапливаться в нижней
части прибора.
2.5 Утилизация
ВНИМАНИЕ!
Существует опасность
травмы или удушья.
• Отключите прибор от электросети.
• Отрежьте и утилизируйте кабель
электропитания.
• Удалите дверцу, чтобы
предотвратить риск ее запирания
при попадании внутрь прибора
детей и домашних животных.
• Содержимое холодильного контура
и изоляционные материалы
данного прибора не вредят
озоновому слою.
• Изоляционный пенопласт содержит
горючий газ. Для получения
информации о том, как надлежит
утилизировать данный прибор,
обратитесь в местные
муниципальные органы власти.
• Не повреждайте часть узла
охлаждения, которая находится
рядом с теплообменником.
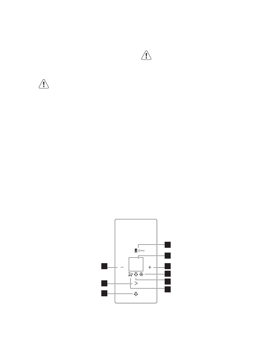
3. ОПИСАНИЕ РАБОТЫ
3.1 Панель управления
1
2
3
9
4
7
5
6
8
1. Клавиша выбора отделения и
клавиша ON/OFF
2. Дисплей
3. Клавиша повышения температуры
4. Индикатор FastFreeze
5. Индикатор ExtraHumidity
6. Индикатор ShopingMode
7. Клавиша ExtraHumidity
www.electrolux.com
6
Характеристики
Остались вопросы?Не нашли свой ответ в руководстве или возникли другие проблемы? Задайте свой вопрос в форме ниже с подробным описанием вашей ситуации, чтобы другие люди и специалисты смогли дать на него ответ. Если вы знаете как решить проблему другого человека, пожалуйста, подскажите ему :)












