Холодильник Electrolux EC2800AOW2 - инструкция пользователя по применению, эксплуатации и установке на русском языке. Мы надеемся, она поможет вам решить возникшие у вас вопросы при эксплуатации техники.
Если остались вопросы, задайте их в комментариях после инструкции.
"Загружаем инструкцию", означает, что нужно подождать пока файл загрузится и можно будет его читать онлайн. Некоторые инструкции очень большие и время их появления зависит от вашей скорости интернета.

Максимальна кількість продуктів, яку
можна заморозити за 24 години,
вказана на табличці з технічними
даними.
1
Процес заморожування триває 24
години: впродовж цього періоду не
додавайте нові продукти для
заморожування.
5.2 Зберігання заморожених
продуктів
Перед тим як завантажувати продукти
при першому ввімкненні, а також після
тривалого періоду бездіяльності,
встановіть регулятор температури в
положення повного завантаження та
дайте приладу попрацювати
щонайменше 24 години.
ОБЕРЕЖНО!
У разі випадкового
розморожування, якщо
електропостачання було
відсутнє довше, ніж
зазначено в таблиці
технічних характеристик у
графі «Час виходу в
робочий режим»,
розморожені продукти
необхідно якнайшвидше
спожити або негайно
приготувати, охолодити та
знову заморозити.
5.3 Відкривання й закривання
кришки
ОБЕРЕЖНО!
Ніколи не тягніть за ручку
силоміць.
Оскільки кришка оснащена системою
герметичного закривання, знову
відкрити її невдовзі після того, як
кришка була закрита, важко (це
пов’язано з тим, що всередині
утворюється вакуум). Зачекайте кілька
хвилин перш ніж знову відкривати
прилад.
Вакуумний клапан допоможе вам
відкрити кришку.
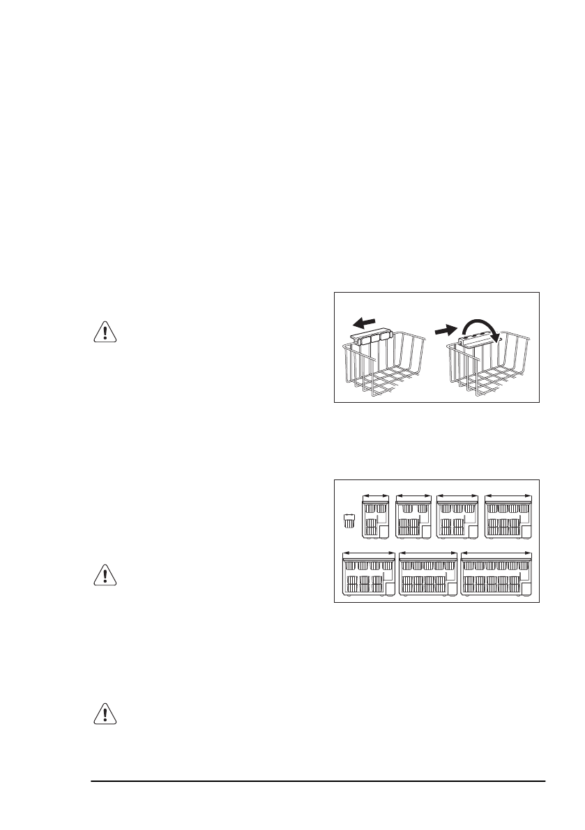
5.4 Кошики для зберігання
продуктів
Навішуйте кошики на верхній край
морозильника (А) або ставте їх
усередину морозильника (В). Для
кожного з цих положень поверніть і
зафіксуйте ручки, як показано на
малюнку.
A
B
На наступних малюнках показано,
скільки кошиків можна встановити в
морозильниках різних моделей.
Кошики стають один в один.
230
806
606
946
1061
1201
1336
1611
Додаткові кошики можна придбати в
місцевому сервісному центрі.
6. ПОРАДИ І РЕКОМЕНДАЦІЇ
ПОПЕРЕДЖЕННЯ!
Див. розділи з інформацією
щодо техніки безпеки.
1 Див. розділ «Технічні дані»
УКРАЇНСЬКА
39
Содержание
- 18 возможностями; Общие правила техники безопасности
- 19 УКАЗАНИЯ ПО БЕЗОПАСНОСТИ
- 20 электросети
- 22 Регулировка температуры; превышения температуры; ПЕРЕД ПЕРВЫМ ИСПОЛЬЗОВАНИЕМ; Очистка внутренних; поверхностей
- 23 ЕЖЕДНЕВНОЕ ИСПОЛЬЗОВАНИЕ; Замораживание свежих; Хранение замороженных; продуктов; Открывание и закрывание; крышки; Корзины для хранения
- 25 Периодическая чистка; морозильника
- 26 Перерывы в эксплуатации; ПОИСК И УСТРАНЕНИЕ НЕИСПРАВНОСТЕЙ
- 28 обслуживание
- 30 Требования к вентиляции
- 31 ТЕХНИЧЕСКИЕ ДАННЫЕ; Технические данные; ОХРАНА ОКРУЖАЮЩЕЙ СРЕДЫ
Характеристики
Остались вопросы?Не нашли свой ответ в руководстве или возникли другие проблемы? Задайте свой вопрос в форме ниже с подробным описанием вашей ситуации, чтобы другие люди и специалисты смогли дать на него ответ. Если вы знаете как решить проблему другого человека, пожалуйста, подскажите ему :)