Холодильник Electrolux EC2200AOW2 - инструкция пользователя по применению, эксплуатации и установке на русском языке. Мы надеемся, она поможет вам решить возникшие у вас вопросы при эксплуатации техники.
Если остались вопросы, задайте их в комментариях после инструкции.
"Загружаем инструкцию", означает, что нужно подождать пока файл загрузится и можно будет его читать онлайн. Некоторые инструкции очень большие и время их появления зависит от вашей скорости интернета.

3. KASUTAMINE
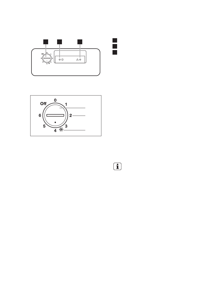
3.1 Juhtpaneel
2
1
3
1
Temperatuuri regulaator
2
Märgutuli
3
Kõrge temperatuuri hoiatustuli
3.2 Sisselülitamine
B
C
A
A) Temperatuuriregulaator
B) "Poolenisti täis" asend
C) "Täis" asend
1. Pange toitepistik pistikupessa.
2. Enne toiduainete sissepanekut
keerake temperatuuriregulaator
asendisse "täis" ja jätke seade 24
tunniks ootele, et saavutada õige
temperatuur.
Märgutuli süttib.
3. Reguleerige temperatuuriregulaatorit
vastavalt säilitatava toidu hulgale.
3.3 Väljalülitamine
Seadke temperatuuriregulaator OFF-
asendisse.
3.4 Temperatuuri reguleerimine
Seadme sisetemperatuuri juhitakse
juhtpaneelil asuva
temperatuuriregulaatoriga.
Seadme töölerakendamiseks toimige
järgmiselt.
• keerake temperatuuriregulaatorit
madalama sätte suunas, et valida
minimaalne külmutustase.
• keerake temperatuuriregulaatorit
kõrgema sätte suunas, et valida
maksimaalne külmutustase.
Kui külmutate väiksemat
kogust toiduaineid, on
sobivaim valik "poolenisti
täis". Kui külmutate suurt
hulka toiduaineid, on
sobivaim valik "täis".
3.5 Kõrge temperatuuri hoiatus
Temperatuuri tõusust sügavkülmikus
(näiteks varasema elektrikatkestuse
tõttu) annab märku hoiatustule süttimine
Hoiatusfaasi ajal ärge sügavkülmikusse
toitu pange.
Normaalse olukorra taastumisel lülitub
hoiatustuli automaatselt välja.
www.electrolux.com
20
Содержание
- 45 ПОДДЕРЖКА ПОТРЕБИТЕЛЕЙ И СЕРВИСНОЕ
- 46 возможностями; Общие правила техники безопасности
- 48 УКАЗАНИЯ ПО БЕЗОПАСНОСТИ; электросети
- 49 Внутреннее освещение
- 51 превышения температуры; ПЕРЕД ПЕРВЫМ ИСПОЛЬЗОВАНИЕМ; Очистка внутренних; поверхностей; ЕЖЕДНЕВНОЕ ИСПОЛЬЗОВАНИЕ; Замораживание свежих; Хранение замороженных; продуктов
- 52 Открывание и закрывание; крышки; Корзины для хранения; замораживанию
- 53 Периодическая чистка
- 54 морозильника; Перерывы в эксплуатации; ПОИСК И УСТРАНЕНИЕ НЕИСПРАВНОСТЕЙ
- 57 обслуживание
- 59 Требования к вентиляции
- 60 ТЕХНИЧЕСКИЕ ДАННЫЕ; Технические данные; ОХРАНА ОКРУЖАЮЩЕЙ СРЕДЫ
Характеристики
Остались вопросы?Не нашли свой ответ в руководстве или возникли другие проблемы? Задайте свой вопрос в форме ниже с подробным описанием вашей ситуации, чтобы другие люди и специалисты смогли дать на него ответ. Если вы знаете как решить проблему другого человека, пожалуйста, подскажите ему :)













