Холодильник Electrolux EAL 6143 WOX - инструкция пользователя по применению, эксплуатации и установке на русском языке. Мы надеемся, она поможет вам решить возникшие у вас вопросы при эксплуатации техники.
Если остались вопросы, задайте их в комментариях после инструкции.
"Загружаем инструкцию", означает, что нужно подождать пока файл загрузится и можно будет его читать онлайн. Некоторые инструкции очень большие и время их появления зависит от вашей скорости интернета.

155
Українська
ЩОДЕННЕ КОРИСТУВАННЯ
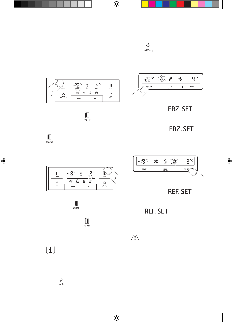
ТЕРМОРЕГУЛЯТОР
При першому підключенні приладу до
мережі живлення режим температури
буде встановлено на середній рівень.
МОДЕЛЬ ІЗ ДОЗАТОРОМ
Відділення морозильника
Щоб установити температуру,
натискайте кнопку
до появи
потрібного значення. Щоб
увімкнути функцію пришвидшеного
замороження, потримайте кнопку
до вмикання світлодіодного
індикатора. Щоб вимкнути цю
функцію, ще раз натисніть ту саму
кнопку.
Відділення холодильникаi
Щоб установити температуру, натис-
кайте кнопку
до появи потрібного
значення. Щоб увімкнути функці
ю пришвидшеного охолодження,
потримайте кнопку
до вмикання
світлодіодного індикатора. Щоб
вимкнути цю функцію, ще раз
натисніть ту саму кнопку.
Функція конвертації
температури (за шкалою
Фаренгейта-Цельсія)
У стандартних установках
застосовується шкала за
Цельсієм.
Натисніть кнопку блокування
щоб увійти до режи му
блокування. Щоб змінити шкалу
вимірювання температури,
у режи м і блокування слід
одно- час но натиснут и кнопки
та WATER і потримати
впродовж 10 секунд.
МОДЕЛЬ БЕЗ ДОЗАТОРА
Відділення морозильника
Щоб установити температуру,
натискайте кнопку
до
появи потрібної температури.
Щоб увімкнути функцію
пришвидшеного замороження,
потримайте кнопку
до
вмикання світлодіодного індикатора.
Щоб вимкнути цю функцію, ще раз
натисніть ту саму кнопку.
Відділення холодильника
Щоб установити температуру,
натискайте кнопку
до
появи потрібної температури.
Щоб увімкнути функцію пришв-
идшеного охолодження, потримайте
кнопку
до вмикання
світлодіодного індикатора. Щоб
вимкнути цю функцію, ще раз
натисніть ту саму кнопку.
Обережно!
Продукти в холодильнику
замерзають при середній
температурі всередині
холодильника нижче 5° С.
РЕЖИМ ВИСОКОЇ ТЕМПЕРАТУРИ
МОДЕЛЬ ІЗ ДОЗАТОРОМ
Індикатори підвищення температури в
морозильній камері чи холодильному
відділенні:
EAL6xxxXOX_PT-UK(3).indd 155
6/8/2015 1:43:51 PM
Содержание
- 21 СВЕДЕНИЯ ПО ТЕХНИКЕ БЕЗОПАСНОСТИ
- 22 ИНСТРУКЦИИ ПО ТЕХНИКЕ БЕЗОПАСНОСТИ
- 23 Эксплуатация
- 24 ОПИСАНИЕ ИЗДЕЛИЯ; МОДЕЛЬ С ДОЗАТОРОМ
- 25 МОДЕЛЬ БЕЗ ДОЗАТОРА
- 26 ПАНЕЛЬ УПРАВЛЕНИЯ
- 28 ПЕРЕД ПЕРВЫМ ИСПОЛЬЗОВАНИЕМ; МОНТАЖ ЛИНИИ ПОДАЧИ
- 29 ЕЖЕДНЕВНОЕ ИСПОЛЬЗОВАНИЕ; КОНТРОЛЬ ТЕМПЕРАТУРЫ; РЕЖИМ ОПОВЕЩЕНИЯ О
- 31 РЕЖИМЫ; ЗОНА «МЭДЖИК КУЛ»; ДОЗАТОР; АВТОМАТИЧЕСКИЙ
- 32 ПОЛЕЗНЫЕ СОВЕТЫ; ПОЛЕЗНЫЕ СОВЕТЫ ПО
- 33 УХОД И ОЧИСТКА; ОЧИСТКА ВНУТРЕННИХ
- 36 ТЕМПЕРАТУРА
- 37 ДОПОЛНИТЕЛЬНЫЕ; ОХРАНА ОКРУЖАЮЩЕЙ СРЕДЫ