Холодильник DEXP RF-MN520HA/B/BG/W - инструкция пользователя по применению, эксплуатации и установке на русском языке. Мы надеемся, она поможет вам решить возникшие у вас вопросы при эксплуатации техники.
Если остались вопросы, задайте их в комментариях после инструкции.
"Загружаем инструкцию", означает, что нужно подождать пока файл загрузится и можно будет его читать онлайн. Некоторые инструкции очень большие и время их появления зависит от вашей скорости интернета.

.
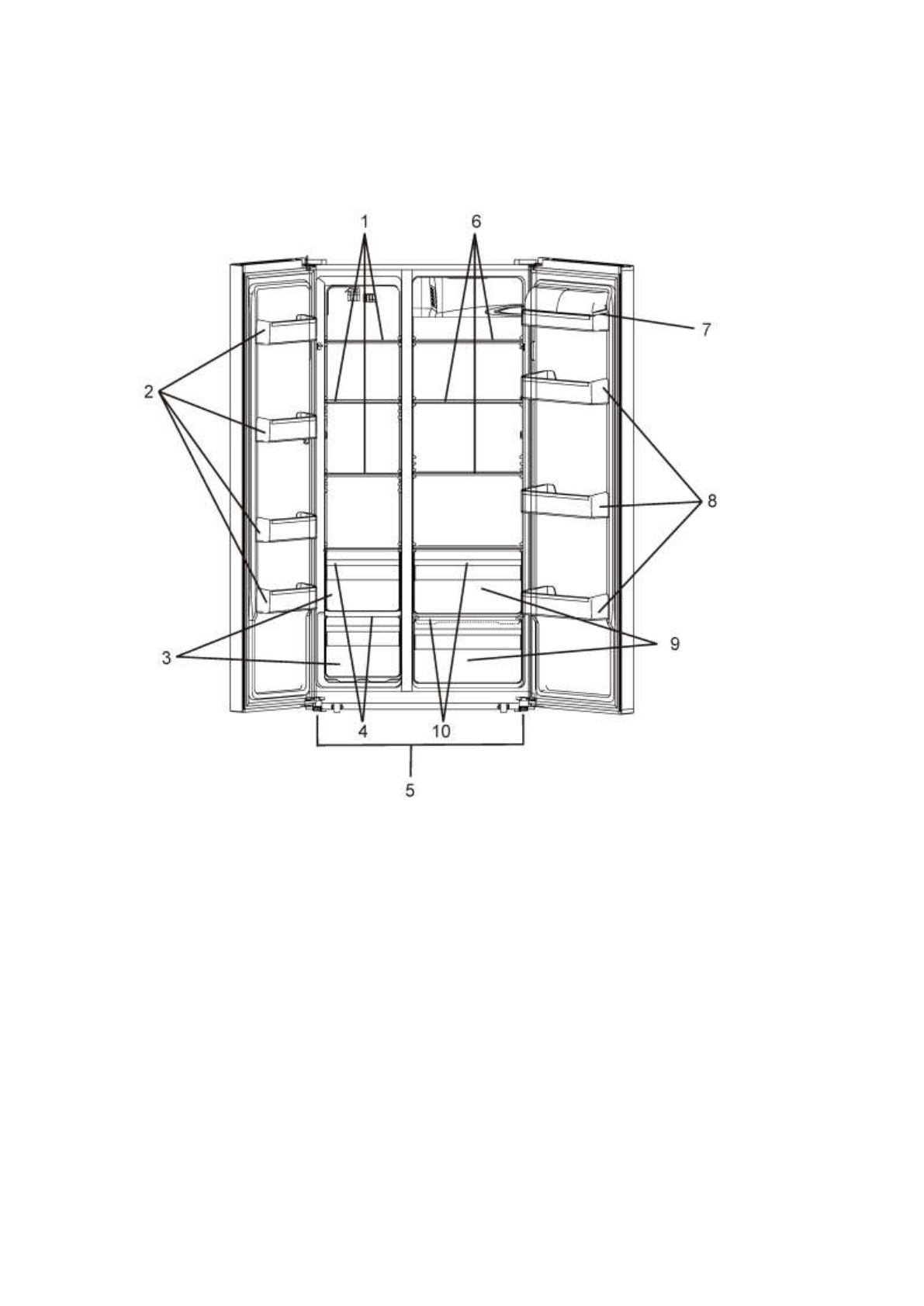
Внешний вид
1.
Полки морозильного отсека
2.
Дверные полки морозильного отсека
3.
Выдвижные ящики морозильного отсека
4.
Крышки ящиков морозильного отсека
5.
Ножки регулировки уровня
6.
Полки холодильного отсека
7.
Дверная полка с крышкой
8.
Дверные полки холодильного отсека
9.
Выдвижные ящики холодильного отсека (для овощей)
10.
Крышки ящиков холодильного отсека
Данное изображение носит справочный характер и может отличаться от фактического
устройства.