Холодильник AEG SCR81816NC - инструкция пользователя по применению, эксплуатации и установке на русском языке. Мы надеемся, она поможет вам решить возникшие у вас вопросы при эксплуатации техники.
Если остались вопросы, задайте их в комментариях после инструкции.
"Загружаем инструкцию", означает, что нужно подождать пока файл загрузится и можно будет его читать онлайн. Некоторые инструкции очень большие и время их появления зависит от вашей скорости интернета.

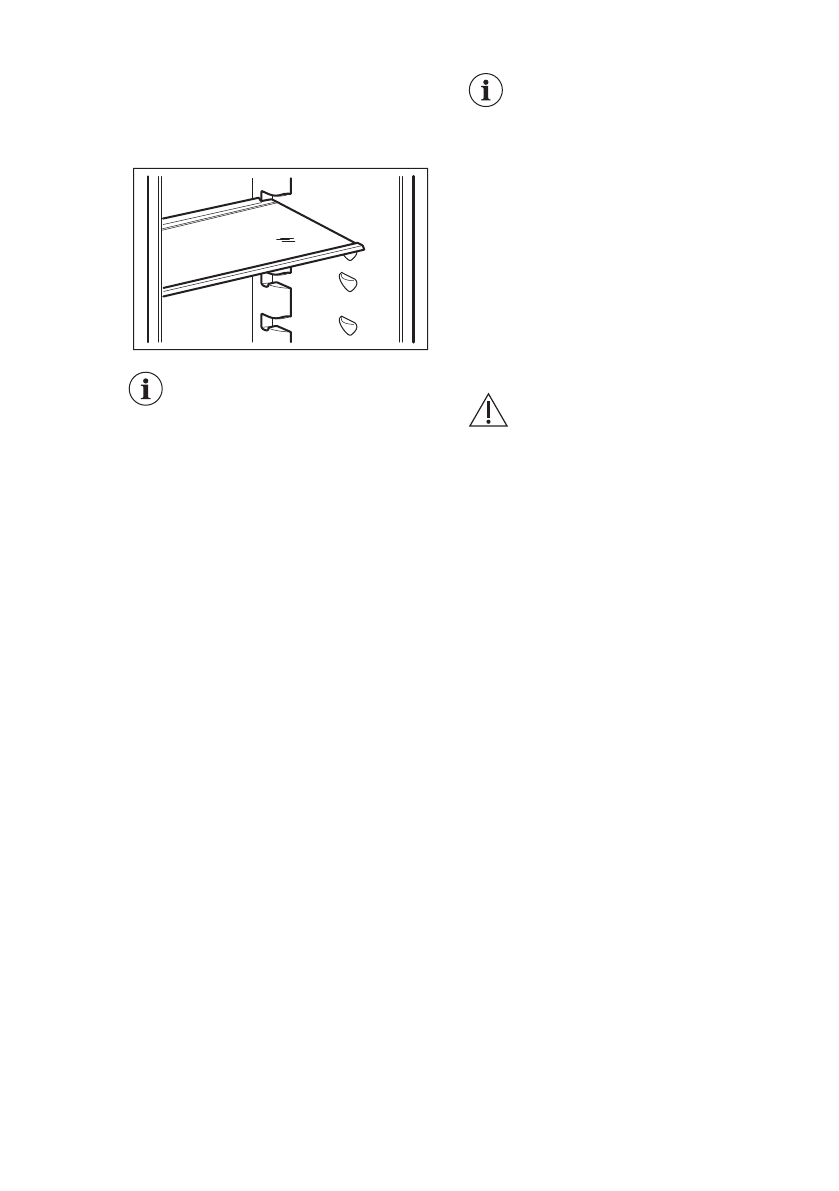
4.3 Знімні полички
Стінки холодильника мають ряд
напрямних, тому висоту поличок
можна змінювати за бажанням.
Для правильної циркуляції
повітря не розміщуйте
скляну поличку над
шухлядою для овочів.
4.4 Заморожування свіжих
продуктів
Морозильна камера підходить для
заморожування свіжих продуктів, а
також для тривалого зберігання
заморожених продуктів і продуктів
глибокого заморожування.
Щоб заморозити свіжі продукти,
активуйте функцію FROSTMATIC і
покладіть до морозильної камери
продукти для заморожування.
Щоб заморозити свіжі продукти,
активуйте функцію FROSTMATIC
принаймні за 24 години до того, як
покласти до морозильної камери
продукти для заморожування.
Покладіть до морозильної камери
продукти для заморожування верхнє
відділення.
Максимальну кількість продуктів, яку
можна заморозити за 24 години,
зазначено в таблиці з технічними
даними, розташованій усередині
приладу.
Процес заморожування триває
24 години: впродовж цього періоду не
додавайте нові продукти для
заморожування.
Після завершення заморожування
встановіть необхідну температуру
(див. розділ «Функція FROSTMATIC»).
За таких умов температура
в холодильному відділенні
може опуститися нижче
0°C. У цьому випадку слід
установити регулятор
температури на вище
значення.
4.5 Зберігання заморожених
продуктів
Перед тим як завантажувати продукти
при першому ввімкненні, а також після
тривалого вимкнення, нехай прилад
попрацює на максимальній потужності
щонайменше 2 години.
ПОПЕРЕДЖЕННЯ!
У разі випадкового
розморожування, якщо
електропостачання було
відсутнє довше, ніж
зазначено в таблиці
технічних характеристик у
графі «Час виходу в
робочий режим»,
розморожені продукти
необхідно якнайшвидше
спожити або негайно
приготувати, охолодити та
знову заморозити.
4.6 Розморожування
Перш ніж споживати продукти глибокої
заморозки, їх можна розморозити в
холодильному відділенні або при
кімнатній температурі, залежно від
того, скільки часу у вас є на це.
Невеликі шматки можна готувати
навіть замороженими, відразу з
морозильника: у цьому разі на
готування піде більше часу.
4.7 Приготування кубиків
льоду
Цей прилад оснащений одним або
кількома лотками для приготування
кубиків льоду.
www.aeg.com
30
Содержание
- 4 УКАЗАНИЯ ПО БЕЗОПАСНОСТИ
- 5 электросети
- 7 температуры
- 9 Функция FROSTMATIC; Предупреждение об
- 10 ЕЖЕДНЕВНОЕ ИСПОЛЬЗОВАНИЕ; Очистка внутренних; дверцы; Передвижные полки
- 11 замороженных продуктов
- 15 ПОИСК И УСТРАНЕНИЕ НЕИСПРАВНОСТЕЙ
- 18 Закрывание дверцы; Выбор места установки
- 21 ТЕХНИЧЕСКИЕ ДАННЫЕ; Технические данные; ОХРАНА ОКРУЖАЮЩЕЙ СРЕДЫ