Холодильник AEG SCR41811LS - инструкция пользователя по применению, эксплуатации и установке на русском языке. Мы надеемся, она поможет вам решить возникшие у вас вопросы при эксплуатации техники.
Если остались вопросы, задайте их в комментариях после инструкции.
"Загружаем инструкцию", означает, что нужно подождать пока файл загрузится и можно будет его читать онлайн. Некоторые инструкции очень большие и время их появления зависит от вашей скорости интернета.

Если приведенная
рекомендация не
позволяет достичь
желаемого эффекта,
обратитесь в ближайший
авторизованный
сервисный центр.
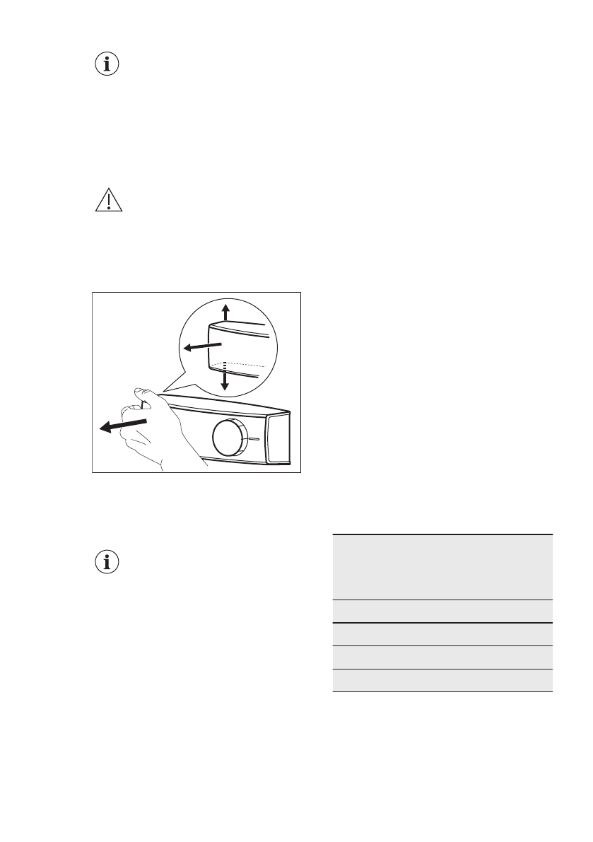
7.2 Замена лампы
ПРЕДУПРЕЖДЕНИЕ
Выньте вилку сетевого
шнура из розетки.
1. Потяните плафон пальцами с
левой стороны для того, чтобы его
отщелкнуть. Снимите плафон,
потянув его на себя.
1
2
1
2. Замените лампу новой такой же
мощности и формы,
предназначенной специально для
бытовых приборов. Максимальная
мощность указана на плафоне.
3. Установите плафон.
4. Вставьте вилку сетевого шнура в
розетку.
5. Откройте дверцу.
Убедитесь, что лампа включается.
7.3 Закрывание дверцы
1. Почистите уплотнения дверцы.
2. При необходимости отрегулируйте
дверцу. См. инструкции по сборке.
3. При необходимости замените
непригодные уплотнения дверцы.
Обратитесь в авторизованный
сервисный центр.
8. УСТАНОВКА
8.1 Выбор места установки
При установке см.
указания по сборке.
Для обеспечения оптимальной работы
устанавливайте прибор вдали от
источников тепла, таких как
радиаторы отопления, котлы, прямые
солнечные лучи и т.д. Убедитесь в
свободной циркуляции воздуха вокруг
задней стенки прибора.
8.2 Размещение
Устанавливайте прибор в сухом,
хорошо вентилируемом помещении,
где температура окружающей среды
соответствует климатическому классу,
указанному на табличке с
техническими данными прибора.
Клима‐
тиче‐
ский
класс
Температура окружающей
среды
SN
от +10°C до + 32°C
N
от +16°C до + 32°C
ST
от +16°C до + 38°C
T
от +16°C до + 43°C
РУССКИЙ
15
Содержание
- 4 УКАЗАНИЯ ПО БЕЗОПАСНОСТИ
- 5 электросети
- 6 Внутреннее освещение; температуры
- 7 ЕЖЕДНЕВНОЕ ИСПОЛЬЗОВАНИЕ; Очистка внутренних; дверцы; Передвижные полки
- 8 замороженных продуктов
- 12 морозильника; эксплуатации
- 13 ПОИСК И УСТРАНЕНИЕ НЕИСПРАВНОСТЕЙ
- 16 BRRR; OK
- 17 ТЕХНИЧЕСКИЕ ДАННЫЕ; Технические данные
- 18 ОХРАНА ОКРУЖАЮЩЕЙ СРЕДЫ