Холодильник AEG S83920CMXF - инструкция пользователя по применению, эксплуатации и установке на русском языке. Мы надеемся, она поможет вам решить возникшие у вас вопросы при эксплуатации техники.
Если остались вопросы, задайте их в комментариях после инструкции.
"Загружаем инструкцию", означает, что нужно подождать пока файл загрузится и можно будет его читать онлайн. Некоторые инструкции очень большие и время их появления зависит от вашей скорости интернета.

3. PROVOZ
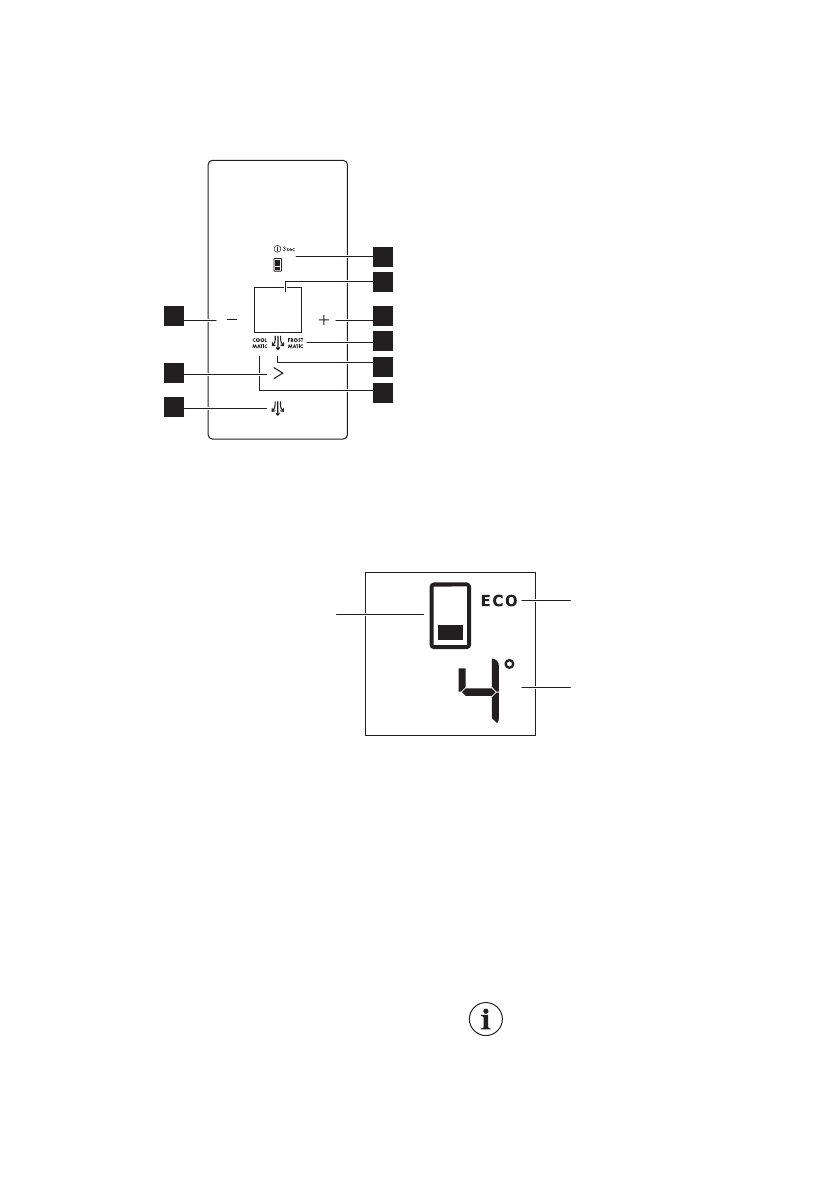
3.1 Ovládací panel
1
2
3
9
4
7
5
6
8
1. Tlačítko volby oddílu a tlačítko
ON/OFF
2. Displej
3. Tlačítko vyšší teploty
4. Ukazatel FROSTMATIC
5. Kontrolka ExtraHumidity
6. Kontrolka COOLMATIC
7. Tlačítko ExtraHumidity
8. Tlačítko režimu
9. Tlačítko nižší teploty
Přednastavený zvuk tlačítek lze změnit
současným stisknutím tlačítka vyšší
teploty a tlačítka nižší teploty na tři
sekundy. Změnu je možné vrátit.
Displej
B
A
C
A. Ukazatel oddílu
B. Režim ECO
C. Ukazatel teploty v oddílu
3.2 ON/OFF
Zapojte spotřebič do elektrické zásuvky.
Spotřebič se automaticky zapne po
zapojení do elektrické zásuvky.
1. Spotřebič vypnete stisknutím tlačítka
ON/OFF na tři sekundy.
2. Spotřebič zapnete stisknutím tlačítka
ON/OFF.
3.3 Regulace teploty
1. Stisknutím tlačítka volby oddílu zvolte
chladicí nebo mrazicí oddíl.
2. Nastavte požadovanou teplotu
stisknutím tlačítka pro vyšší nebo
nižší teplotu.
Výchozí nastavení teploty:
• +4 °C v chladicím oddílu;
• -18 °C v mrazicím oddílu.
Ukazatel teploty zobrazuje nastavenou
teplotu.
Jakmile je nastavena
maximální či minimální
teplota, dalším stisknutím
tlačítka se již nastavení
teploty nezmění. Zazní
zvuková signalizace.
www.aeg.com
6