Холодильник AEG S83520CMWF - инструкция пользователя по применению, эксплуатации и установке на русском языке. Мы надеемся, она поможет вам решить возникшие у вас вопросы при эксплуатации техники.
Если остались вопросы, задайте их в комментариях после инструкции.
"Загружаем инструкцию", означает, что нужно подождать пока файл загрузится и можно будет его читать онлайн. Некоторые инструкции очень большие и время их появления зависит от вашей скорости интернета.

техническими данными,
расположенной внутри прибора.
Процесс замораживания занимает 24
часа: в течение этого времени не
добавляйте другие продукты для
замораживания.
Когда процесс заморозки завершится,
вернитесь к требуемой температуре
(См. Главу «Функция FROSTMATIC»).
В таком режиме
температура в
холодильном отделении
может опускаться ниже
0°C. Если такое
произойдет, установите
регулятор температуры на
более высокую
температуру.
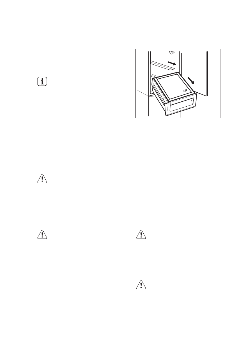
4.4 Модуль FreshBox
Ящик внутри модуля предназначен
для хранения таких свежих продуктов,
как мясо, рыба, морепродукты,
поскольку температура в нем ниже,
чем в остальной части холодильника.
ОСТОРОЖНО!
Перед установкой в
прибор или извлечением
из него модуля FreshBox
вытяните ящик MaxiBox и
стеклянную крышку.
Модуль FreshBox оснащен
направляющими. Для его извлечения
из холодильного отделения потяните
модуль на себя и извлеките корзину,
наклонив ее переднюю часть вниз.
4.5 DYNAMICAIR
В холодильном отделении
предусмотрено устройство,
обеспечивающее быстрое охлаждение
продуктов и более равномерную
температуру в отделении.
5. УХОД И ОЧИСТКА
ВНИМАНИЕ!
См. Главы, содержащие
Сведения по технике
безопасности.
5.1 Очистка внутренних
поверхностей
Перед первым включением прибора
вымойте его внутренние поверхности
и все внутренние принадлежности
теплой водой с нейтральным мылом,
чтобы удалить запах, характерный для
недавно изготовленного изделия, а
затем тщательно протрите их.
ОСТОРОЖНО!
Не используйте моющие
или абразивные средства,
т.к. они могут повредить
покрытие поверхностей
холодильника.
5.2 Периодическая чистка
ОСТОРОЖНО!
Запрещается вытягивать,
перемещать или
повреждать какие-либо
трубки и (или) кабели,
находящиеся внутри
корпуса.
www.aeg.com
10