Холодильник Hiberg RFS-650DX NFB Inverter - инструкция пользователя по применению, эксплуатации и установке на русском языке. Мы надеемся, она поможет вам решить возникшие у вас вопросы при эксплуатации техники.
Если остались вопросы, задайте их в комментариях после инструкции.
"Загружаем инструкцию", означает, что нужно подождать пока файл загрузится и можно будет его читать онлайн. Некоторые инструкции очень большие и время их появления зависит от вашей скорости интернета.

13
www.hiberg.ru
ВНИМАНИЕ!
Устанавливая температуру, Вы выбираете среднюю температуру для всего
холодильника. При этом температура внутри каждого отделения может
отличаться от значений температуры, отображающихся на дисплее,
в зависимости от того, сколько продуктов размещенов холодильнике
где именно. Температура окружающей среды может также повлиять
на фактическую температуру внутри холодильника.
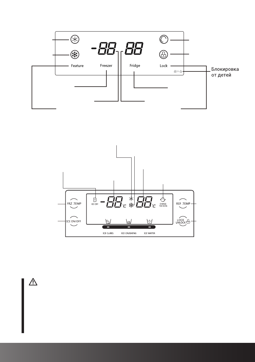
RFS484DX NFXd/Y/Ym/Xq
RFS650DX NFB
Включение
и выключение
ледогенератора
Выбор
температуры
в морозильном
отделении
Выбор
температуры
в холодильном
отделении
Блокировка/
разблокировка
Индикатор
функции
«Ледогенератора»
Индикатор функции
«супер-охлаждение»
Индикатор функции
«супер-заморозки»
Индикатор
температуры
в морозильном
отделении
Индикатор температуры
в холодильном отделении
Индикатор замены
фильтра для воды
Индикатор
холодильного
отделения
Индикатор
морозильного
отделения
Индикатор температуры
в холодильном отделении
Выбор температуры
в холодильном отделении
Индикатор температуры
в морозильном отделении
Выбор температуры
в морозильном отделении
Блокировка/разблокировка
Переключение режимов
Индикатор
режима
«отпуск»
Индикатор
«блокировка»
Содержание
- 4 ВВЕДЕНИЕ
- 5 ТЕХНИКА БЕЗОПАСНОСТИ
- 8 ДЕТАЛИ И ФУНКЦИИ; Примечание: схематическое изображение может отличаться
- 12 ПАНЕЛЬ УПРАВЛЕНИЯ И РЕЖИМЫ; БЛОКИРОВКА ФУНКЦИИ ХОЛОДИЛЬНОЙ КАМЕРЫ
- 18 УСТАНОВКА
- 22 ИСПОЛЬЗОВАНИЕ
- 28 Полки в холодильной камере
- 30 ПОЛЕЗНЫЕ СОВЕТЫ И РЕКОМЕНДАЦИИ; ЭНЕРГОСБЕРЕЖЕНИЕ
- 32 ЧИСТКА И УХОД
- 34 УСТРАНЕНИЕ НЕИСПРАВНОСТЕЙ; Не пытайтесь самостоятельно ремонтировать холодильник. Если Вы
- 36 НЕИСПРАВНОСТИ В РАБОТЕ ЛЕДОГЕНЕРАТОРА
- 38 УТИЛИЗАЦИЯ ХОЛОДИЛЬНИКА
- 39 ГАРАНТИЙНЫЕ УСЛОВИЯ; Уважаемый покупатель!; Правильное заполнение гарантийного талона
- 40 ГАРАНТИЙНЫЙ РЕМОНТ НЕ ОСУЩЕСТВЛЯЕТСЯ; Стоимость ремонта оплачивается покупателем, если:; ЕСЛИ У ВАС ВОЗНИКЛИ ВОПРОСЫ ПО ГАРАНТИЙНОМУ
- 42 ГАРАНТИЙНЫЙ ТАЛОН