Холодильник Caso WineComfort 180 - инструкция пользователя по применению, эксплуатации и установке на русском языке. Мы надеемся, она поможет вам решить возникшие у вас вопросы при эксплуатации техники.
Если остались вопросы, задайте их в комментариях после инструкции.
"Загружаем инструкцию", означает, что нужно подождать пока файл загрузится и можно будет его читать онлайн. Некоторые инструкции очень большие и время их появления зависит от вашей скорости интернета.

12
4
Конструкция
и функциональное назначение
В этой главе Вы получите важные указания по конструкции и функциональному
назначению прибора
.
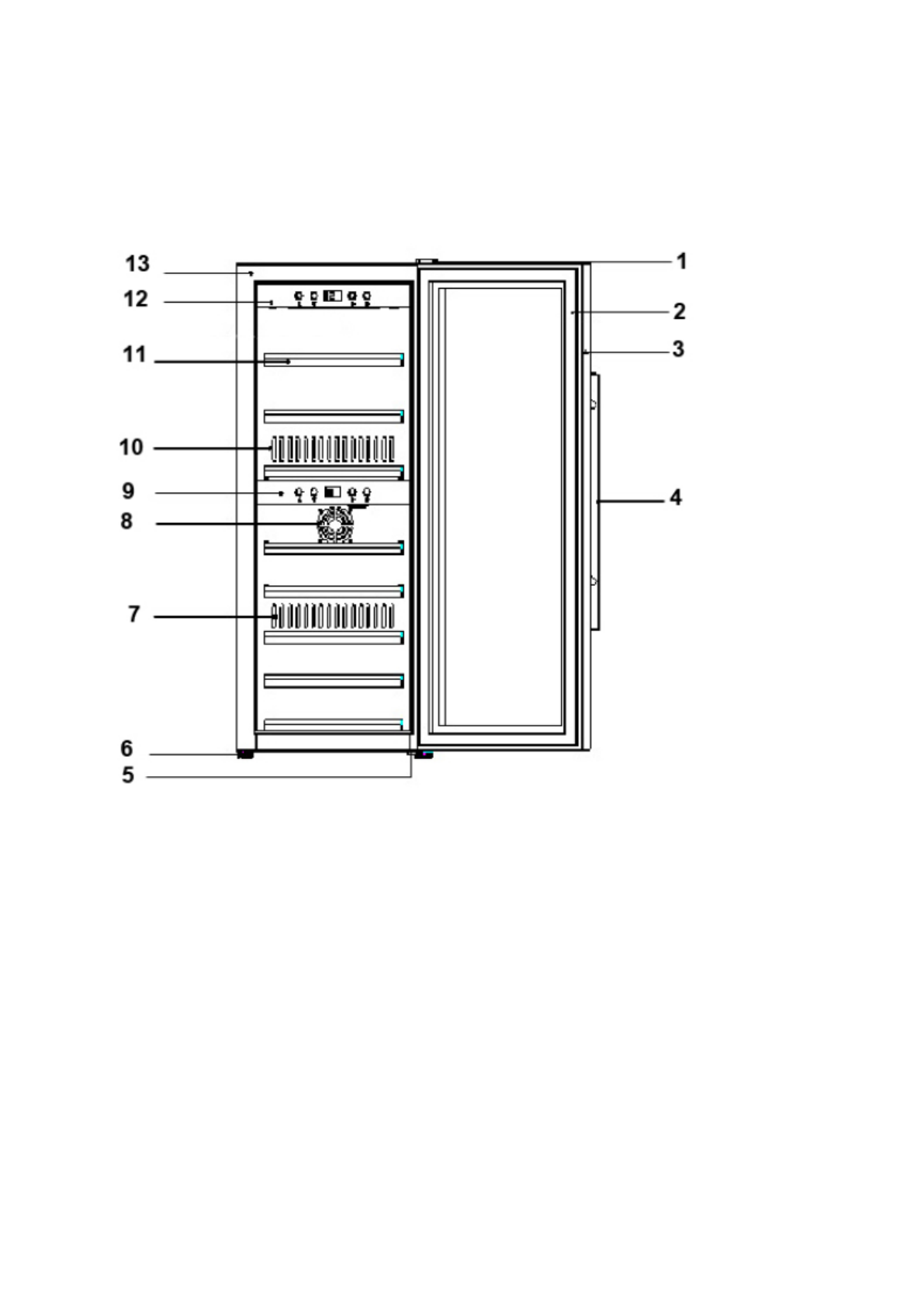
4.1 Общий вид
(1)
Кожух верхнего шарнира
(2) Дверной уплотнитель
(3) Дверная рама
(4)
Ручка
(5) Нижний шарнир с регулируемой ножкой
(6) Ножка
(7) Отверстие для выпуска теплого воздуха
(8) Отверстие для забора
воздуха
(9) Нижняя панель управления
(10
) Отверстие для выпуска
холодного воздуха
(11)
Полки 7 штук ( 665),
8 штук (670)
(12) Верхняя панель управления
(13) Корпус