Холодильник Бирюса W6034 - инструкция пользователя по применению, эксплуатации и установке на русском языке. Мы надеемся, она поможет вам решить возникшие у вас вопросы при эксплуатации техники.
Если остались вопросы, задайте их в комментариях после инструкции.
"Загружаем инструкцию", означает, что нужно подождать пока файл загрузится и можно будет его читать онлайн. Некоторые инструкции очень большие и время их появления зависит от вашей скорости интернета.

11
10
Установка
температурного
режима
Бирюса 135, 136, 139, 237, 238, 542
1
2
Панель
управления
холодильником
Бирюса 237,
Бирюса 238,
Бирюса 542
Бирюса 135,
Бирюса 136,
Бирюса 139
Бирюса 135,
Бирюса 136,
Бирюса 139
Бирюса 237,
Бирюса 238,
Бирюса 542
1
2
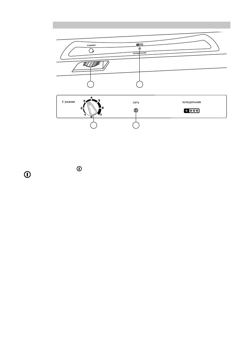
1- ручка терморегулятора;
2 - индикатор «Сеть» (зеленого цвета).
Для включения холодильника необходимо вставить вилку сетевого шнура в розетку.
После этого на панели управления загорается индикатор «Сеть».
Для полного отключения холодильника от сети необходимо вынуть вилку сетевого шнура
из розетки.
Индикатор « » («Сеть») загорается при подключении холодильника к сети электропитания.
В процессе работы холодильника индикатор горит постоянно. Индикатор гаснет после
отключения холодильника, а также при перерывах подачи электроэнергии.
В моделях Бирюса 237, 238 после закрытия дверки отделения для хранения замороженных
пищевых продуктов ее немедленное повторное открывание будет возможно только
с дополнительным усилием вследствие образования вакуума, который препятствует
открытию дверки до тех пор, пока не произойдет выравнивание давления в отделении.
Открыть дверку без дополнительного усилия можно через 3-5 минут.
• Температурный режим в холодильнике устанавливается путем поворота ручки
терморегулятора и поддерживается автоматически.
• При повороте ручки по часовой стрелке температура в холодильнике понижается, при
повороте против часовой стрелки – повышается.
• Температурный режим устанавливается потребителем самостоятельно в зависимости от
условий эксплуатации.
На панели управления холодильника нанесена градуировка от «0» до «7»:
• «0» - отключение работы холодильника (сопровождается характерным щелчком);
• «1» - режим наименьшего холода;
• «7» - режим наибольшего холода.
На ручке терморегулятора нанесена градуировка от «0» до «6»:
• «0» - отключение работы холодильника (сопровождается характерным щелчком);
• «2» - режим наименьшего холода;
• «6» - режим наибольшего холода.
•
Рекомендуемый режим работы: ручка терморегулятора на отметке «3»...«4».
Включение
холодильника
Индикатор
«
»
Выключение
холодильника
Примечание
Содержание
- 3 ОБЩИЕ СВЕДЕНИЯ; ПОДГОТОВКА К ЭКСПЛУАТАЦИИ; привести к выходу из строя холодильного агрегата!; Снятие
- 5 ТРЕБОВАНИЯ БЕЗОПАСНОСТИ
- 6 КОМПЛЕКТАЦИЯ
- 10 ЭКСПЛУАТАЦИЯ; МОДЕЛИ ХОЛОДИЛЬНИКОВ С ЭЛЕКТРОМЕХАНИЧЕСКИМ БЛОКОМ УПРАВЛЕНИЯ
- 14 МОДЕЛИ МОРОЗИЛЬНИКОВ С ЭЛЕКТРОМЕХАНИЧЕСКИМ БЛОКОМ УПРАВЛЕНИЯ; Панель
- 15 МОДЕЛИ МОРОЗИЛЬНИКОВ С ЭЛЕКТРОННЫМ БЛОКОМ УПРАВЛЕНИЯ; NO FROST
- 16 РЕКОМЕНДАЦИИ ПО ХРАНЕНИЮ И ЗАМОРАЖИВАНИЮ ПРОДУКТОВ
- 17 ОБСЛУЖИВАНИЕ И УХОД
- 18 Замена; ВОЗМОЖНЫЕ НЕИСПРАВНОСТИ И МЕТОДЫ ИХ УСТРАНЕНИЯ; Данное явление не является дефектом!; холодильника и не является дефектом.
- 19 УТИЛИЗАЦИЯ; горении токсичных веществ.
- 20 ТЕХНИЧЕСКИЕ
- 21 МС; Обо
Характеристики
Остались вопросы?Не нашли свой ответ в руководстве или возникли другие проблемы? Задайте свой вопрос в форме ниже с подробным описанием вашей ситуации, чтобы другие люди и специалисты смогли дать на него ответ. Если вы знаете как решить проблему другого человека, пожалуйста, подскажите ему :)












