Холодильник Бирюса M 139 - инструкция пользователя по применению, эксплуатации и установке на русском языке. Мы надеемся, она поможет вам решить возникшие у вас вопросы при эксплуатации техники.
Если остались вопросы, задайте их в комментариях после инструкции.
"Загружаем инструкцию", означает, что нужно подождать пока файл загрузится и можно будет его читать онлайн. Некоторые инструкции очень большие и время их появления зависит от вашей скорости интернета.

13
12
Индикатор
«
»
Светящийся индикатор указывает на включение холодильника в электрическую сеть. Индикатор
горит постоянно, когда включен холодильник. Индикатор гаснет при отключении холодильника или
при перерывах подачи электрической энергии.
Мигающий индикатор «внимание» указывает на открытую дверь холодильника. Если
дверь открыта свыше 40 секунд, то мигание индикатора сопровождается прерывистым
звуковым сигналом длительностью 10 секунды. Если дверь не закрыта, то звуковой сигнал
повторяется 3 раза с интервалом в 1 минуту.
В моделях Бирюса 135, 136, 139, 237, 238, 542 - звуковой сигнал и индикатор « »
отсутствуют.
В моделях Бирюса 237, 238 после закрытия дверки отделения для хранения замороженных
пищевых продуктов, ее немедленное повторное открывание будет невозможно, вследствие
образования вакуума, который не дает открыть дверку до тех пор, пока не произойдет
выравнивание давления. Снова открыть дверку можно через 3-5 минут.
Для полного отключения холодильника от сети необходимо вынуть вилку из розетки.
Индикатор
« »
Открывание
дверки
отделения
для хранения
замороженных
пищевых
продуктов
Выключение
холодильника
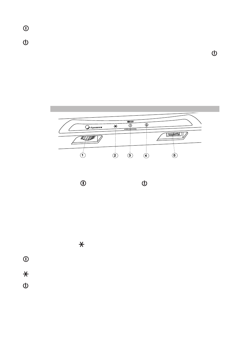
МОДЕЛИ МОРОЗИЛЬНИКОВ С МЕХАНИЧЕСКИМ БЛОКОМ УПРАВЛЕНИЯ
Бирюса 146, 148
1- ручка терморегулятора; 2 - индикатор (желтого цвета) «Замораживание»; 3 - индикатор (красного
цвета) «Внимание»; 4 - индикатор (зеленого цвета) «Сеть»; 5 - переключатель режимов работы
морозильника.
Вставьте вилку сетевого шнура в розетку. После чего на передней панели загорятся индикатор
зеленого цвета «
» и индикатор красного цвета «
».
Допускается незначительное свечение красного индикатора после его отключения.
Включение
морозильника
Температурный режим в морозильнике поддерживается автоматически с помощью
терморегулятора. При повороте ручки по часовой стрелке температура в морозильнике
понижается, при повороте в противоположную сторону – повышается.
• На ручке терморегулятора нанесена градуировка от 0 до 7:
• «0» - отключение работы морозильника;
• «1» - режим наименьшего холода;
• «7» - режим наибольшего холода.
• В зависимости от условий эксплуатации потребитель сам устанавливает необходимый
температурный режим работы морозильника.
Переключение режимов работы «Замораживание» и «Хранение» осуществляется
переключателем режимов работы морозильника (5 на рисунке). Если переключатель находится
в правом положении «Замораживание», морозильник работает непрерывно, горит индикатор
желтого цвета «
», при установке переключателя в левое положение «Хранение» индикатор
гаснет.
Установка
температурного
режима
Индикатор
«
»
Индикатор
« »
Светящийся индикатор указывает на включение морозильника в электрическую сеть.
Индикатор горит постоянно, когда включен морозильник. Индикатор гаснет при отключении
морозильника или при перерывах подачи электрической энергии.
Светящийся индикатор «Внимание» сигнализирует о повышении температуры в морозильнике,
при понижении температуры индикатор гаснет.
Индикатор
«
»
Светящийся индикатор указывает на выбранный режим «Замораживание». Режим
«Замораживание» включается потребителем за 24 часа до загрузки свежих продуктов.
Открывание
двери
После закрытия двери работающего морозильника, ее немедленное повторное открывание
будет невозможно, вследствие образования вакуума, который не дает открыть дверь до тех
пор, пока не произойдет выравнивание давления. Снова открыть дверь можно через 3-5
минут.
Выключение
морозильника
Для полного отключения морозильника от сети необходимо вынуть вилку из розетки.
Содержание
- 3 ЗАПРЕЩАЕТСЯ
- 5 ТРЕБОВАНИЯ БЕЗОПАСНОСТИ
- 6 КОМПЛЕКТАЦИЯ
- 10 ЭКСПЛУАТАЦИЯ; МОДЕЛИ ХОЛОДИЛЬНИКОВ С ЭЛЕКТРОННЫМ БЛОКОМ
- 12 МОДЕЛИ ХОЛОДИЛЬНИКОВ С МЕХАНИЧЕСКИМ БЛОКОМ УПРАВЛЕНИЯ
- 13 МОДЕЛИ МОРОЗИЛЬНИКОВ С МЕХАНИЧЕСКИМ БЛОКОМ УПРАВЛЕНИЯ
- 15 РЕКОМЕНДАЦИИ ПО ХРАНЕНИЮ И ЗАМОРАЖИВАНИЮ ПРОДУКТОВ
- 16 Примерные сроки хранения замороженных продуктов; ОБСЛУЖИВАНИЕ И УХОД
- 17 ВОЗМОЖНЫЕ НЕИСПРАВНОСТИ И МЕТОДЫ ИХ УСТРАНЕНИЯ; УТИЛИЗАЦИЯ
Характеристики
Остались вопросы?Не нашли свой ответ в руководстве или возникли другие проблемы? Задайте свой вопрос в форме ниже с подробным описанием вашей ситуации, чтобы другие люди и специалисты смогли дать на него ответ. Если вы знаете как решить проблему другого человека, пожалуйста, подскажите ему :)













