Холодильник Бирюса G649 - инструкция пользователя по применению, эксплуатации и установке на русском языке. Мы надеемся, она поможет вам решить возникшие у вас вопросы при эксплуатации техники.
Если остались вопросы, задайте их в комментариях после инструкции.
"Загружаем инструкцию", означает, что нужно подождать пока файл загрузится и можно будет его читать онлайн. Некоторые инструкции очень большие и время их появления зависит от вашей скорости интернета.

11
10
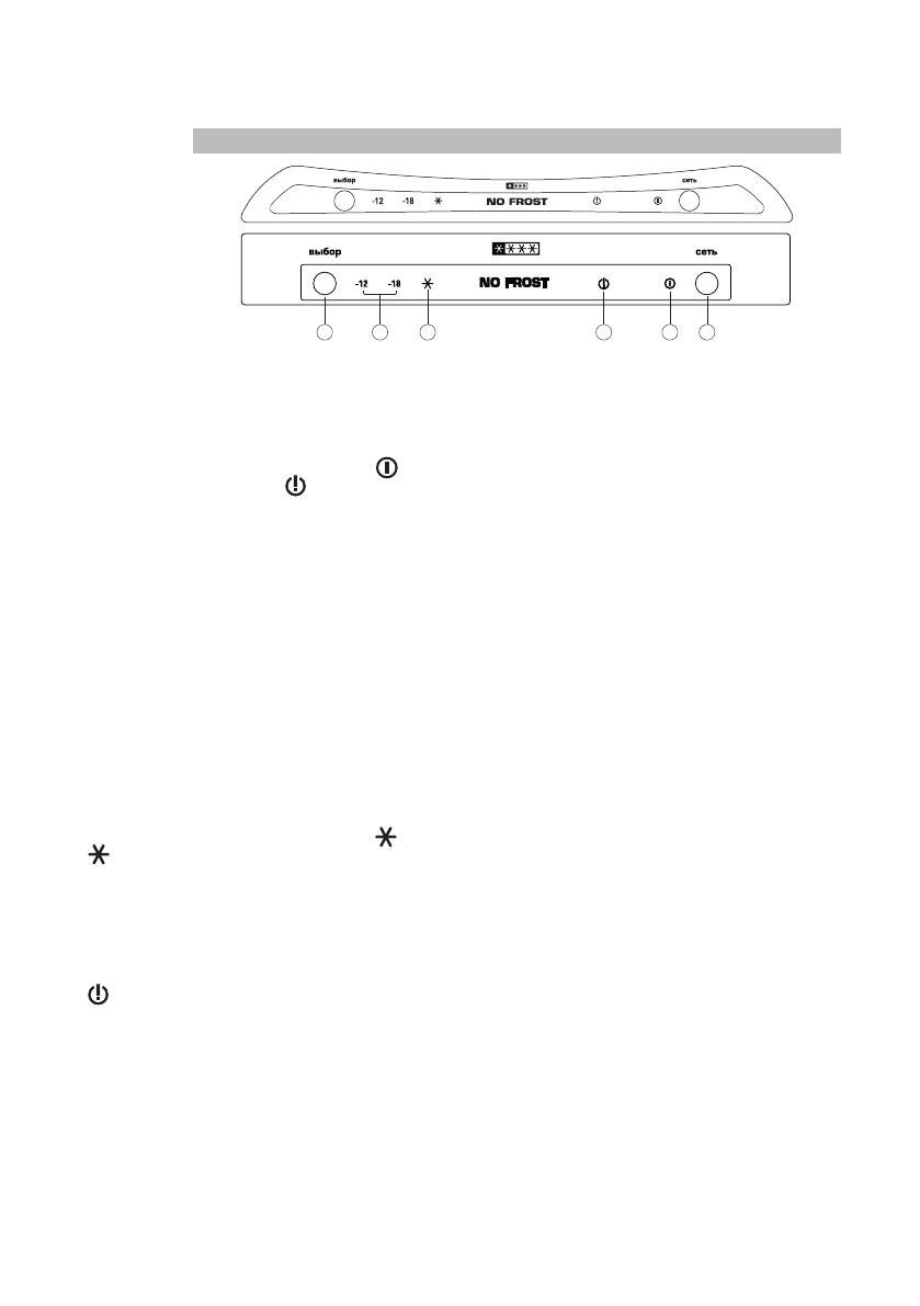
МОДЕЛИ МОРОЗИЛЬНИКОВ С ЭЛЕКТРОННЫМ БЛОКОМ УПРАВЛЕНИЯ
(система охлаждения «No frost»)
Бирюса 646SN, 647SN
1
2
3
4
5
6
Вид панели
управления
морозильников
Бирюса 646SN
Бирюса 647SN
1- кнопка «выбор» смены режимов работы; 2 - индикаторы режима «Хранение»;
3 - индикатор (желтого цвета) режима «Замораживание»; 4 - индикатор (красного цвета) «Внимание»;
5 - индикатор работы морозильника (зеленого цвета); 6 - кнопка «Сеть» вкл./выкл. морозильника.
Вставьте вилку сетевого шнура в розетку. После чего в морозильнике автоматически
устанавливается оптимальный температурный режим работы для хранения продуктов,
загораются индикаторы «
», «-18».
Индикатор «
» загорится через 40 минут, если установленная температура не будет
достигнута.
Управление режимами работы морозильника осуществляется с помощью кнопки «Выбор».
В зависимости от условий эксплуатации потребитель сам устанавливает необходимый
режим работы морозильника.
Нажатием на эту кнопку можно выключить или включить морозильник. Нажмите и
удерживайте кнопку не менее 5 секунд. Пятисекундная задержка включения предусмотрена
для защиты от включения детьми или случайного нажатия.
Данная кнопка позволяет выбрать подходящий режим хранения замороженных пищевых
продуктов. При выборе температурного режима подается звуковой сигнал. Температурный
режим считается установленным, если кнопка не нажималась повторно в течение 10
секунд.
Светящийся индикатор указывает на выбор режима «Хранение»:
• «-12» - соответствует режиму наименьшего холода;
• «-18» - соответствует режиму наибольшего холода.
Светящийся индикатор «
» указывает на выбранный режим «Замораживание». Режим
«Замораживание» включается потребителем за 24 часа до загрузки свежих продуктов.
Первые 24 часа после включения режима индикатор мигает, далее - горит постоянно.
Через 48 часов после включения режима индикатор гаснет и режим «Замораживание»
автоматически отключается. Температура возвращается к ранее установленному режиму
хранения. При необходимости режим «Замораживание» можно отключить вручную
нажатием на кнопку «Выбор».
Светящийся индикатор «Внимание» указывает на повышение температуры выше минус
8 °С в морозильнике. Индикатор гаснет при достижении температуры в камере ниже минус
8 °С.
Морозильник размораживается автоматически. Таймер периодически включает
нагревательные элементы, происходит таяние «снеговой шубы» с испарителя. Талая вода
по каналам стекает в ёмкость над компрессором, где испаряется.
Для выключения морозильника нажмите и удерживайте 5 секунд кнопку «Сеть». Для
полного отключения морозильника от сети необходимо вынуть вилку из розетки.
Индикатор
«
»
Индикатор
« »
Установка
температурного
режима
Кнопка
«сеть»
Включение
морозильника
Кнопка
«выбор»
Индикаторы
«-12», «-18»
Разморозка
морозильника
Выключение
морозильника
Содержание
- 4 ТРЕБОВАНИЯ БЕЗОПАСНОСТИ
- 5 КОМПЛЕКТАЦИЯ
- 9 ЭКСПЛУАТАЦИЯ; МОДЕЛИ ХОЛОДИЛЬНИКОВ С ЭЛЕКТРОМЕХАНИЧЕСКИМ БЛОКОМ УПРАВЛЕНИЯ
- 10 МОДЕЛИ МОРОЗИЛЬНИКОВ С ЭЛЕКТРОМЕХАНИЧЕСКИМ БЛОКОМ УПРАВЛЕНИЯ
- 11 МОДЕЛИ МОРОЗИЛЬНИКОВ С ЭЛЕКТРОННЫМ БЛОКОМ УПРАВЛЕНИЯ
- 14 РЕКОМЕНДАЦИИ ПО ХРАНЕНИЮ И ЗАМОРАЖИВАНИЮ ПРОДУКТОВ
- 15 ОБСЛУЖИВАНИЕ И УХОД
- 16 ВОЗМОЖНЫЕ НЕИСПРАВНОСТИ И МЕТОДЫ ИХ УСТРАНЕНИЯ; УТИЛИЗАЦИЯ
- 17 ТЕХНИЧЕСКИЕ
- 18 МС













