Холодильник Бирюса 19 - инструкция пользователя по применению, эксплуатации и установке на русском языке. Мы надеемся, она поможет вам решить возникшие у вас вопросы при эксплуатации техники.
Если остались вопросы, задайте их в комментариях после инструкции.
"Загружаем инструкцию", означает, что нужно подождать пока файл загрузится и можно будет его читать онлайн. Некоторые инструкции очень большие и время их появления зависит от вашей скорости интернета.

11
ÁÈÐÞÑÀ
6.2 Âûìîéòå õîëîäèëüíèê òåïëûì ìûëüíûì ðàñòâîðîì âíóòðè è
ñíàðóæè, íàñóõî ïðîòðèòå è ïðîâåòðèòå â òå÷åíèå ÷àñà ïðè îòêðûòîé äâåðè.
6.3 Óñòàíàâëèâàéòå õîëîäèëüíèê âäàëè îò èñòî÷íèêîâ òåïëà, â ìåñòå,
íåäîñòóïíîì äëÿ ïðÿìûõ ñîëíå÷íûõ ëó÷åé.
6.4 Åñëè õîëîäèëüíèê íàõîäèëñÿ íà ìîðîçå, òî ïåðåä ïîäêëþ÷åíèåì ê
ñåòè åãî íåîáõîäèìî âûäåðæàòü ñ îòêðûòîé äâåðüþ ïðè êîìíàòíîé
òåìïåðàòóðå íå ìåíåå 8 ÷àñîâ.
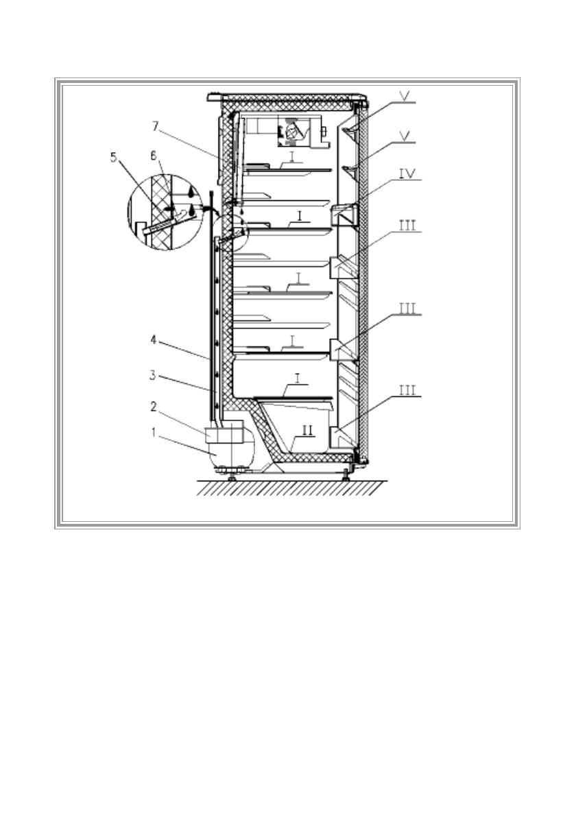
1-êîìïðåññîð; 2-åìêîñòü äëÿ òàëîé âîäû; 3-âîäîñòîê; 4-êîíäåíñàòîð; 5-ëîòîê;
6-äðåíàæíàÿ âñòàâêà; 7-èñïàðèòåëü.
Ðèñóíîê 5 - Ñõåìà óäàëåíèÿ òàëîé âîäû è ðàçìåùåíèÿ ïðîäóêòîâ












