Hintek IO-45, IP 54, 4,5 кВт 04.07.01.214380 - Инструкция по эксплуатации

Hintek IO-45, IP 54, 4,5 кВт 04.07.01.214380

Обогреватель Hintek IO-45, IP 54, 4,5 кВт 04.07.01.214380 - инструкция пользователя по применению, эксплуатации и установке на русском языке. Мы надеемся, она поможет вам решить возникшие у вас вопросы при эксплуатации техники.

Если остались дополнительные вопросы — свяжитесь с нами через контактную форму.

1 Страница 1
2 Страница 2
3 Страница 3
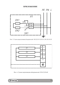
4 Страница 4
5 Страница 5
6 Страница 6
7 Страница 7
8 Страница 8
9 Страница 9
10 Страница 10
11 Страница 11
12 Страница 12
13 Страница 13
14 Страница 14
15 Страница 15
16 Страница 16
17 Страница 17
18 Страница 18
19 Страница 19
20 Страница 20
21 Страница 21
22 Страница 22
23 Страница 23
24 Страница 24
Страница: / 24
Загрузка инструкции

ИНФРАКРАСНЫЙ ОБОГРЕВАТЕЛЬ

ПАСПОРТ И РУКОВОДСТВО

ПО ЭКСПЛУАТАЦИИ

IO-05, IO-10, IO-15, IO-20,

IO-30, IO-45, IO-60

"Загрузка инструкции" означает, что нужно подождать пока файл загрузится и можно будет его читать онлайн. Некоторые инструкции очень большие и время их появления зависит от вашей скорости интернета.

Характеристики

Другие модели - Обогреватели Hintek

Все обогреватели Hintek