Грили Smeg SEGR531X - инструкция пользователя по применению, эксплуатации и установке на русском языке. Мы надеемся, она поможет вам решить возникшие у вас вопросы при эксплуатации техники.
Если остались вопросы, задайте их в комментариях после инструкции.
"Загружаем инструкцию", означает, что нужно подождать пока файл загрузится и можно будет его читать онлайн. Некоторые инструкции очень большие и время их появления зависит от вашей скорости интернета.

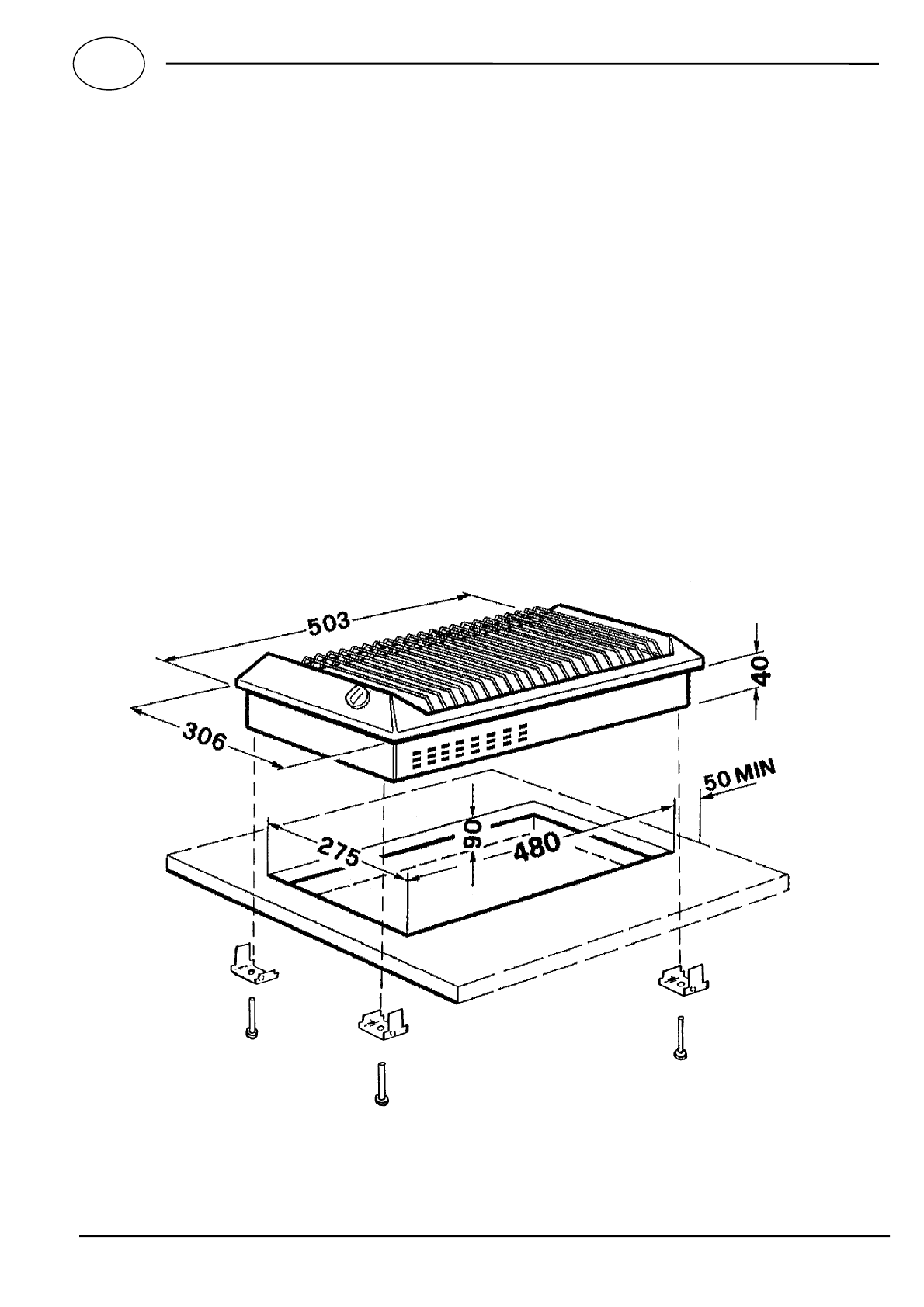
Fitting
This grill is built into a work surface or kitchen unit by simply cutting
a hole the corresponding shape.
Any support may be suitable : brickwork, timber, metal, granite,
laminate, etc.
Dimensions of appliance : 503,50 x 306 mm
Dimensions of hole cut in work surface : 480 x 275 mm
18
GB
Характеристики
Остались вопросы?Не нашли свой ответ в руководстве или возникли другие проблемы? Задайте свой вопрос в форме ниже с подробным описанием вашей ситуации, чтобы другие люди и специалисты смогли дать на него ответ. Если вы знаете как решить проблему другого человека, пожалуйста, подскажите ему :)













