Гидроциклы и катера Yamaha GX1800A 2012 - инструкция пользователя по применению, эксплуатации и установке на русском языке. Мы надеемся, она поможет вам решить возникшие у вас вопросы при эксплуатации техники.
Если остались вопросы, задайте их в комментариях после инструкции.
"Загружаем инструкцию", означает, что нужно подождать пока файл загрузится и можно будет его читать онлайн. Некоторые инструкции очень большие и время их появления зависит от вашей скорости интернета.

22
Особенности и функции
Система управления
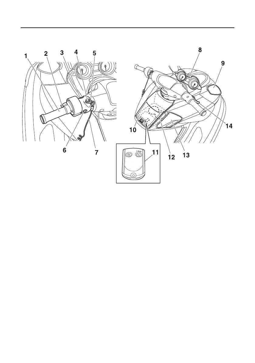
1
Переключатель системы QSTS быстрой регули-
ровки угла наклона сопла водомета
2
Рычаг блокировки переключателя системы QSTS
3
Кнопка запуска двигателя
4
Аварийный выключатель двигателя
5
Скоба
6
Выключатель
двигателя
7
Шнур аварийного выключателя двигателя
8
Приборная панель с аналоговыми приборами
9
Зеркала заднего вида
10
Отделение для мелких предметов
11
Пульт дистанционного управления
12
Подстаканник
13
Рычаг переключения передач
14
Рычаг управления дроссельной заслонкой