Генераторы Prorab 6100 IEW - инструкция пользователя по применению, эксплуатации и установке на русском языке. Мы надеемся, она поможет вам решить возникшие у вас вопросы при эксплуатации техники.
Если остались вопросы, задайте их в комментариях после инструкции.
"Загружаем инструкцию", означает, что нужно подождать пока файл загрузится и можно будет его читать онлайн. Некоторые инструкции очень большие и время их появления зависит от вашей скорости интернета.

8
5,1 - 7,0
10
10
10
10
15
15
7,1 - 12,0
15
15
15
15
20
20
12,1 - 20,0
20
20
20
20
25
-
Номинальный ток кабеля, А.
Сечение кабеля, мм.
6
0,75
10
1,0
15
1,5
20
2,5
25
4,0
Меры безопасности при обслуживании, ремонте, хранении
При обслуживании генератора используйте только рекомендованные вспомогательные материалы.
Ремонт генератора производите только в сервисном центре.
Если генератор находился на холоде, перед использованием в помещении дайте ему нагреться до комнатной
температуры.
Храните генератор в чистом, сухом и недоступном для детей месте.
4.
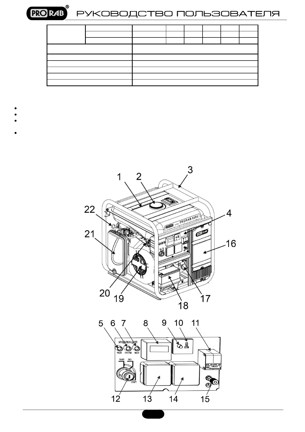
УСТРОЙСТВО И СОСТАВНЫЕ ЧАСТИ
Панель управления:
Рис. 1
Характеристики
Остались вопросы?Не нашли свой ответ в руководстве или возникли другие проблемы? Задайте свой вопрос в форме ниже с подробным описанием вашей ситуации, чтобы другие люди и специалисты смогли дать на него ответ. Если вы знаете как решить проблему другого человека, пожалуйста, подскажите ему :)




