Генераторы Iron Angel EG 1200 (Z) - инструкция пользователя по применению, эксплуатации и установке на русском языке. Мы надеемся, она поможет вам решить возникшие у вас вопросы при эксплуатации техники.
Если остались вопросы, задайте их в комментариях после инструкции.
"Загружаем инструкцию", означает, что нужно подождать пока файл загрузится и можно будет его читать онлайн. Некоторые инструкции очень большие и время их появления зависит от вашей скорости интернета.

17
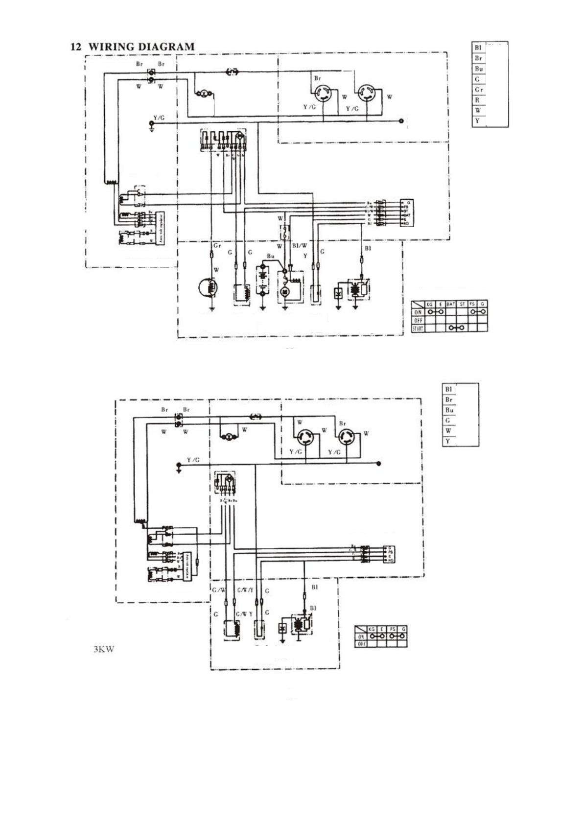
Вольтм
етр
Регулятор перемикань
Розетка
Вихід
заземлюван
ня
Головна котушка
Котушка
збудження
Перемикач запалювання
Блок управління
Діоди
Котушка
індуктора
Блок генератора
Пусковий
мотор
Перемика
ч рівня
пального
Запальна
свічка
Котушка
запалювання
Блок двигуна
З’єднання перемикача запалювання
Паливний
електромагн
ітний клапан
Чорний
Коричнев
ий
Синій
Зелений
Сірий
Червоний
Білий
Жовтий
Чорний
Коричнев
ий
Синій
Зелений
Білий
Жовтий
Батарея
Вихід
заземлюван
ня
Розетка
Регулятор перемикань
Вольтметр
Головна котушка
Котушка
збудження
Котушка
індуктора
Перемикач запалювання
Блок управління
З’єднання перемикача запалювання
Котушка
запалювання
Блок двигуна
Запальна
свічка
Перемикач
рівня
пального
Блок генератора
Котушка
постійного
струму
Котушка
постійного
струму
Паливний
електромагніт
ний
клапан
Генераторна
котушка
3.0kW-8.0kW
Характеристики
Остались вопросы?Не нашли свой ответ в руководстве или возникли другие проблемы? Задайте свой вопрос в форме ниже с подробным описанием вашей ситуации, чтобы другие люди и специалисты смогли дать на него ответ. Если вы знаете как решить проблему другого человека, пожалуйста, подскажите ему :)


