Генераторы HONDA EP 2500 CX1 EP2500CX1RGH - инструкция пользователя по применению, эксплуатации и установке на русском языке. Мы надеемся, она поможет вам решить возникшие у вас вопросы при эксплуатации техники.
Если остались вопросы, задайте их в комментариях после инструкции.
"Загружаем инструкцию", означает, что нужно подождать пока файл загрузится и можно будет его читать онлайн. Некоторые инструкции очень большие и время их появления зависит от вашей скорости интернета.

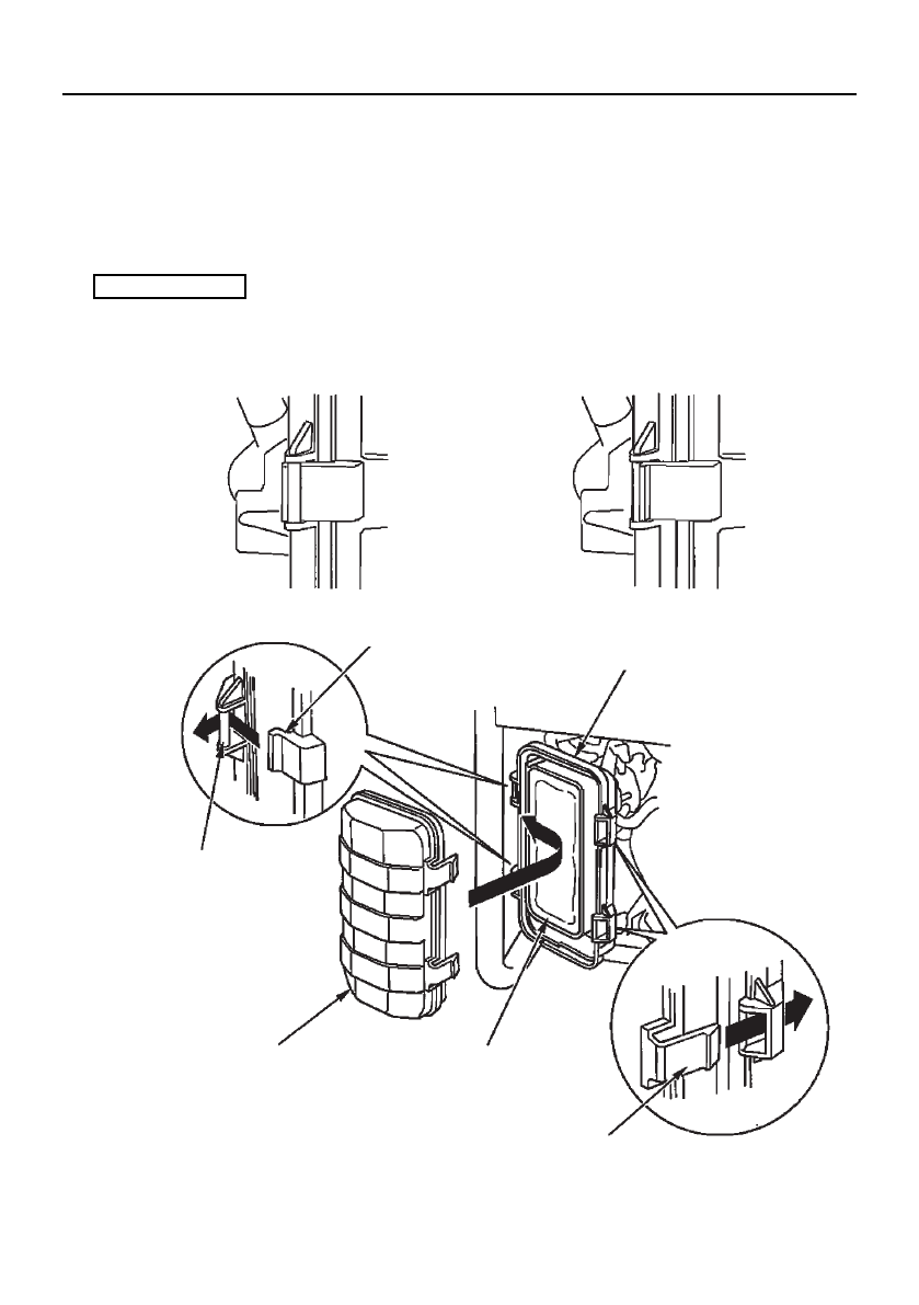
5. Установите фильтрующий элемент в корпус воздухоочистителя.
6. Заведите крепления крышки в установочные шпильки, затем нажмите на
крышку для фиксации.
Надежно устанавливайте крышку. Зазор между крышкой и корпусом
воздухоочистителя должен отсутствовать.
ПРИМЕЧАНИЕ
Работа двигателя без фильтрующего элемента или с повреждённым
фильтрующим элементом приведёт к попаданию грязи внутрь двигателя и
вызовет его ускоренный износ.
40
ТЕХНИЧЕСКОЕ ОБСЛУЖИВАНИЕ
ПРАВИЛЬНО
НЕПРАВИЛЬНО
КРЕПЛЕНИЕ
КОРПУС ВОЗДУХООЧИСТИТЕЛЯ
ФИКСАТОР
ФИЛЬТРУЮЩИЙ ЭЛЕМЕНТ
ВОЗДУХООЧИСТИТЕЛЯ
КРЫШКА
ВОЗДУХООЧИСТИТЕЛЯ
УСТАНОВОЧНАЯ ШПИЛЬКА