Генераторы SG 140 - инструкция пользователя по применению, эксплуатации и установке на русском языке. Мы надеемся, она поможет вам решить возникшие у вас вопросы при эксплуатации техники.
Если остались вопросы, задайте их в комментариях после инструкции.
"Загружаем инструкцию", означает, что нужно подождать пока файл загрузится и можно будет его читать онлайн. Некоторые инструкции очень большие и время их появления зависит от вашей скорости интернета.

Руководство
пользователя
стационарных
промышленных
генераторов
11
Раздел
3.
Эксплуатация
3.1 —
Управление
и
эксплуатация
генератора
Эксплуатация
данной
генераторной
установки
должна
осуществляться
только
«
уполномоченным
оператором
»,
т
.
е
.
лицом
,
прошедшим
надлежащую
подготовку
у
официального
сервисного
дилера
.
За
помощью
в
подготовке
уполномоченных
операторов
обращайтесь
к
местному
официальному
сервисному
дилеру
.
Инструкции
ниже
предполагают
,
что
генератор
был
надлежащим
образом
установлен
,
получил
соответствующее
обслуживание
,
прошел
испытания
,
был
отрегулирован
и
другим
способом
подготовлен
к
эксплуатации
компетентным
квалифицированным
подрядчиком
по
установке
и
официальным
сервисным
дилером
.
Внимательно
прочтите
правила
техники
безопасности
и
другие
соответствующие
инструкции
,
прежде
чем
приступать
к
эксплуатации
этого
(
и
сопутствующего
)
оборудования
.
3.1.1 —
Заземление
генератора
Заземляйте
генераторную
установку
в
соответствии
со
всеми
правилами
и
нормативными
требованиями
.
ɈɉȺɋɇɈ
НЕ
подсоединяйте
заземляющий
провод
к
трубе
подачи
каких
-
либо
горючих
или
взрывчатых
веществ
—
это
может
привести
к
ПОЖАРУ
или
ВЗРЫВУ
.
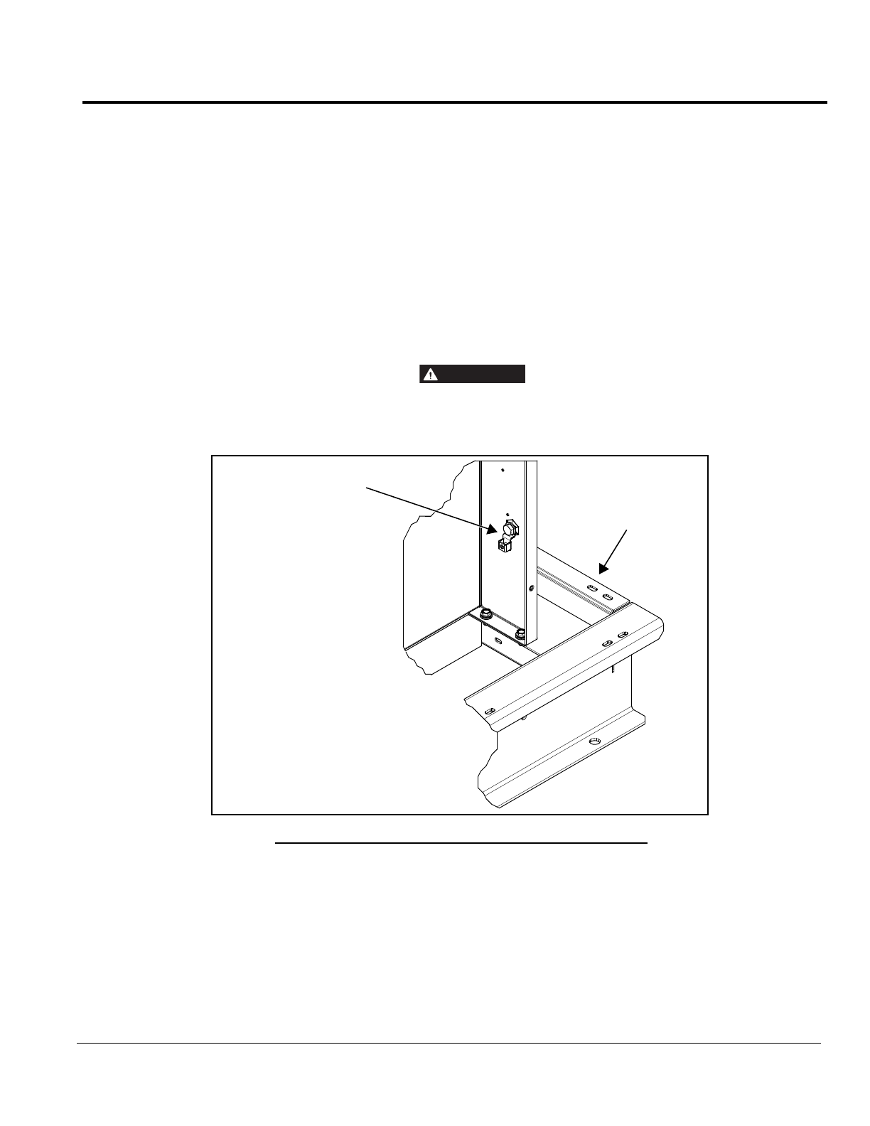
рис
. 3-1.
Контактный
вывод
электрода
заземления
(
типовой
)
3.1.2 —
Соединения
нейтрали
генератора
переменного
тока
Заземление
рекомендуется
выполнять
только
в
одном
месте
системы
.
Надлежащие
требования
к
заземлению
нейтрали
см
.
в
местных
строительных
нормах
и
правилах
.
3.1.3 —
Первоначальный
запуск
Первоначальный
запуск
генераторной
установки
должен
выполняться
и
документироваться
официальным
сервисным
дилером
.
$
Рама
основания
Контактный
вывод
электрода
заземления