Газонокосилки Ryobi MAX POWER RLM36X41H50P 5133002809 - инструкция пользователя по применению, эксплуатации и установке на русском языке. Мы надеемся, она поможет вам решить возникшие у вас вопросы при эксплуатации техники.
Если остались вопросы, задайте их в комментариях после инструкции.
"Загружаем инструкцию", означает, что нужно подождать пока файл загрузится и можно будет его читать онлайн. Некоторые инструкции очень большие и время их появления зависит от вашей скорости интернета.

Brukeren kan iverksette tiltak for mulig å
redusere virkningene av vibrasjonene:
■
Hold kroppen din varm i kaldt vær. Bruk
hansker og hold hender og håndledd varme
ved bruk av produktet. Det er rapportert at
kaldt vær er en viktig faktor som bidrar til
Raynauds Syndrome.
■
Etter hver arbeidsperiode bør det utføres
øvelser for å øke blodsirkulasjonen.
■
Ta ofte pauser fra arbeidet som utføres.
Begrens mengden av eksponering pr. dag.
Hvis du opplever noen av symptomene på
denne tilstanden må du øyeblikkelig avbryte
arbeidet og oppsøke en lege med disse
symptomene.
ADVARSEL
Hvis man bruker verktøyet for lenge av
gangen, kan det føre til eller forverre
allerede eksisterende personskade. Når du
bruker et verktøy over en lenger tidsperiode,
husk å ta regelmessige pauser.
KJENN PRODUKTET DITT
Se side 191.
Deler
1. Servospak
2. På-av
knapp
3. Start-knapp
4. Motor
kontrollkabel
5. Teleskophåndtak
6. Indikator full gressbeholder
7. Høydeinnstiller
8. Batteridør
9. Håndtakslås
10. Gressoppsamler
11. Hurtigkobling
12. Bakhjul
13. Forhjul
14. Isolatornøkkel
15. Mull-plugg
16. Batteri
17. Lader
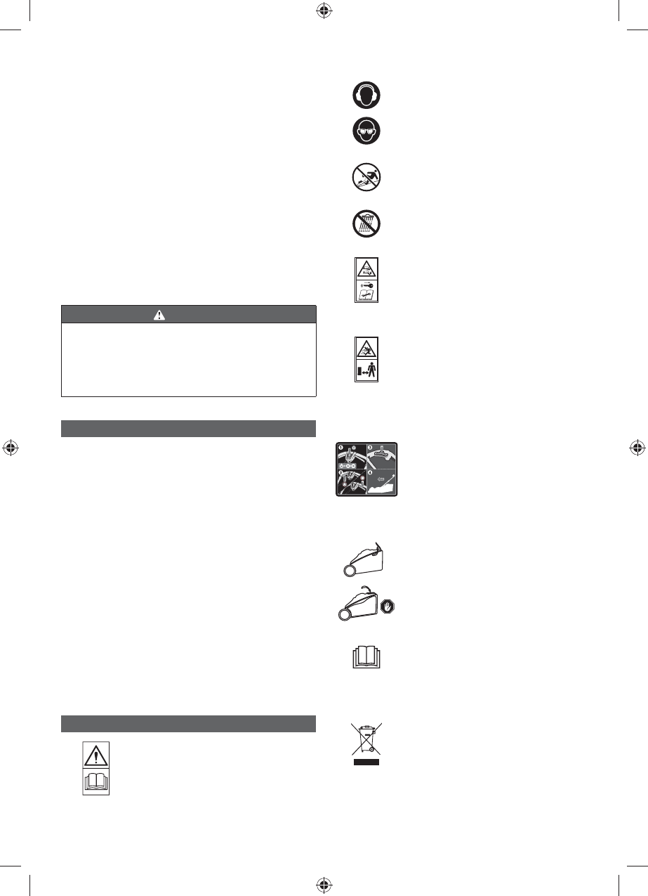
SYMBOLER PÅ PRODUKTET
Les og forstå alle instrukser
før du tar i bruk produktet,
følg alle advarsler og
sikkerhetsanvisninger.
Bruk hørselsvern
Bruk øyebeskyttelse
Ikke kjør klipperen i helninger
på mer enn 15
˚
. Klipp gresset
på tvers av skråninger, aldri
opp og ned.
Ikke utsette for regn eller
fuktige forhold.
Vær oppmerksom på skarpe
blader. Bladene fortsetter
å rotere etter at motoren er
skrudd av - fjern skillebryteren
før vedlikehold
Vær oppmerksom på utkastede
eller
fl
ygende gjenstander. Hold
tilskuere, spesielt barn og dyr,
på god avstand, det vil si minst
15 meter fra arbeidsområdet
Trykk på startknappen og
deretter på På-/av-knappen (A
eller B) for å starte produktet.
Slipp startknappen og hold
inne På-/av-knappen for å kjøre
klipperen. Slipp På/Av-knappen
for å stanse produktet. Når
servospaken trykkes inn, vil
gressklipperen gå av seg selv
uten at brukeren må skyve den.
Gå
Stopp
Vennligst les instruksjonene
nøye før du starter maskinen.
Avfall fra elektriske produkter
skal ikke kastes sammen med
husholdningsavfall. Vennligst
resirkulervedeksisterende
avfallsbehandlingssted.
Undersøk hos dine lokale
myndigheter eller forhandler for
råd om resirkulering.
82
| Norsk


