Газонокосилки Ryobi MAX POWER RLM36X41H40 5133002806 - инструкция пользователя по применению, эксплуатации и установке на русском языке. Мы надеемся, она поможет вам решить возникшие у вас вопросы при эксплуатации техники.
Если остались вопросы, задайте их в комментариях после инструкции.
"Загружаем инструкцию", означает, что нужно подождать пока файл загрузится и можно будет его читать онлайн. Некоторые инструкции очень большие и время их появления зависит от вашей скорости интернета.

RISKI ALANDAMINE
Teadaolevalt võib käsitööriistade kasutamine
põhjustada mõnedel inimestel seisundit,
mida nimetatakse Raynaud’ sündroomiks.
Sümptomidena võib ilmneda sõrmede tuimus
ja valkjaks muutumine, mis tavaliselt ilmneb
külmas töötamisel. Nende sümptomite puhul
tuleb hoiduda külmast ja niiskusest, dieedist
ning suitsetamisest ja kasutada õigeid
töövõtteid. Vibratsiooni mõju vähendamiseks
tuleb rakendada järgmisi abinõusid.
■
Külma ilmaga hoidke oma keha soe.
Kandke kindaid, et hoida oma käed ja
randmed soojad. Uuringud näitavad, et
Raynaud’s Syndrome ilmneb põhiliselt
külma ilmaga.
■
Pärast külmas töötamist tehke harjutusi, et
verevarustust kiirendada.
■
Tehke regulaarselt töövaheaegasid.
Piirake tööperioodi pikkust.
Kui ilmnevad haigustunnused, lõpetage kohe
töö ja pöörduge arsti poole.
HOIATUS
Seadme pikaajalisel kasutamisel võite
saada kehavigastusi ja varasemad
vigastused võivad süveneda. Seadme
kasutamisel pika aja jooksul tuleb teha
korralisi vaheaegasid.
ÕPPIGE OMA TOODET TUNDMA
Vt leht 190.
Seadme osad
1. Sisse ja välja lülitamise nupp
2. Käivitusnupp
3. Mootori
juhtimiskaabel
4. Teleskoopkäepide
5. Rohukasti täitumise märgutuli
6. Kõrguse
reguleerimishoob
7. Akupesa
kaas
8. Käepideme
lukustus
9. Rohupüüdur
10. Kiirvabastuse fiksaator
11. Tagaratas
12. Esiratas
13. Lülitusvõti
14. Multšimissulgur
15. Aku
16. Laadija
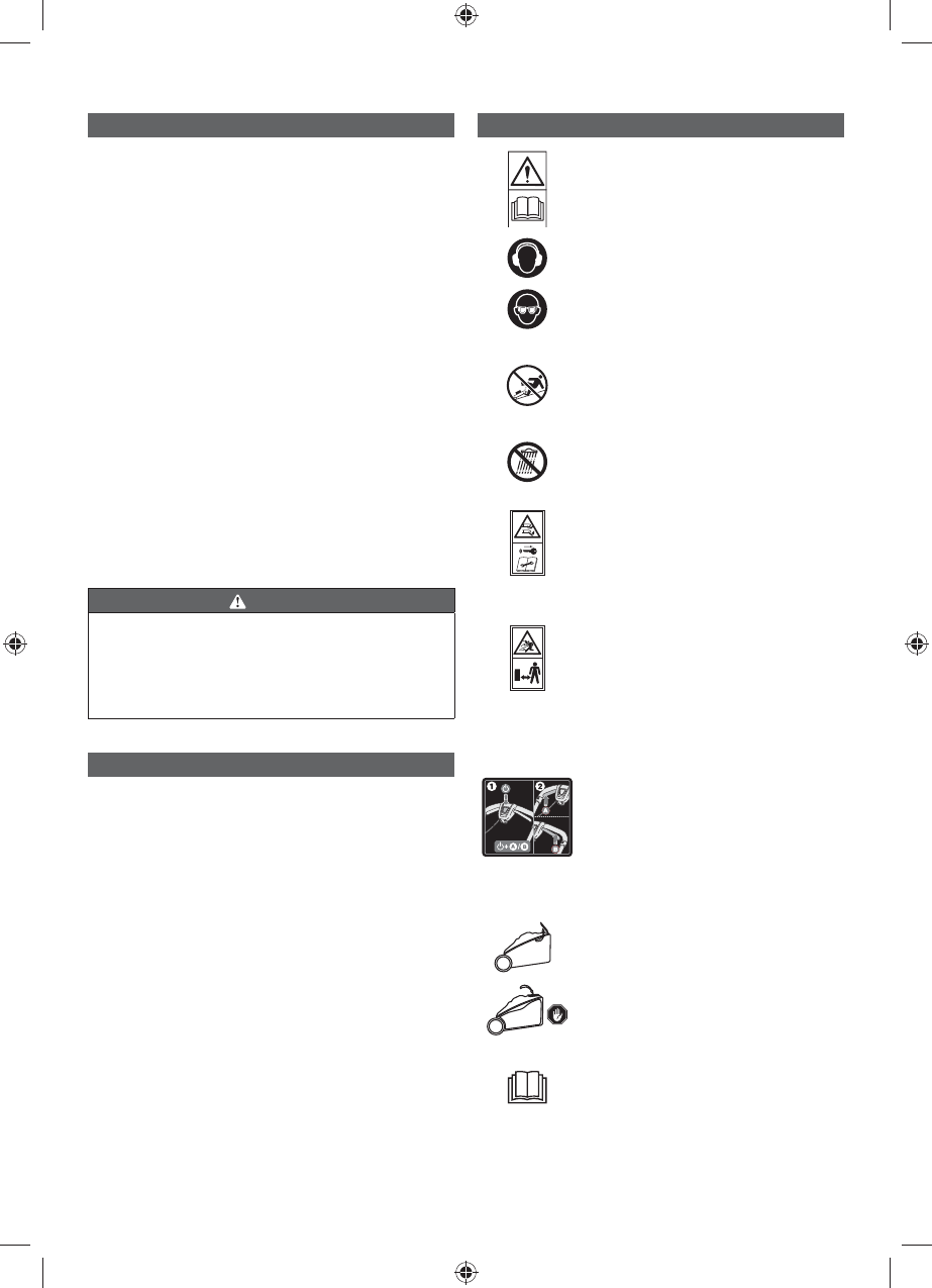
MASINAL OLEVAD SÜMBOLID
Enne seadmega töö alustamist
lugege kõik juhised hoolikalt
läbi ja pidage kinni hoiatustest
ja ohutusega seotud juhistest.
Kandke
kuulmiskaitsevahendeid
Kandke silmakaitsevahendeid
Ärge töötage kallakul, mille
kalle on üle 15°. Niitke
kallakutel olevat muru
risti, mitte kunagi ülesalla
suunaliselt.
Ärge jätke vihma kätte või
kasutage niiskes kohas.
Olge teravate lõiketeradega
ettevaatlik. Lõiketera jätkab
pöörlemist pärast mootori
väljalülitamist - võtke lahklüliti
võti enne hooldamist välja.
Hoiduge ülespaisatud ja
lendavate esemete eest.
Hoidke kõik kõrvalseisjad,
eriti lapsed ja lemmikloomad
tööalalt vähemalt 15 meetri
kaugusele.
Seadme käivitamiseks vajutage
käivitusnupule Start ja seejärel
sisse-välja lülitamise nupule
On-off (A või B). Seadmega
töötamise ajaks vabastage
käivitusnupp Start ja hoidke
all sisse-välja lülitamise
nuppu. Seadme seiskamiseks
vabastage sisse-välja lülitamise
nupp.
Käik
Stopp
Enne seadme kasutamist
lugege palun kasutusjuhend
hoolega läbi.
142
| Eesti


