Газонокосилки HYUNDAI LE 3210 - инструкция пользователя по применению, эксплуатации и установке на русском языке. Мы надеемся, она поможет вам решить возникшие у вас вопросы при эксплуатации техники.
Если остались вопросы, задайте их в комментариях после инструкции.
"Загружаем инструкцию", означает, что нужно подождать пока файл загрузится и можно будет его читать онлайн. Некоторые инструкции очень большие и время их появления зависит от вашей скорости интернета.

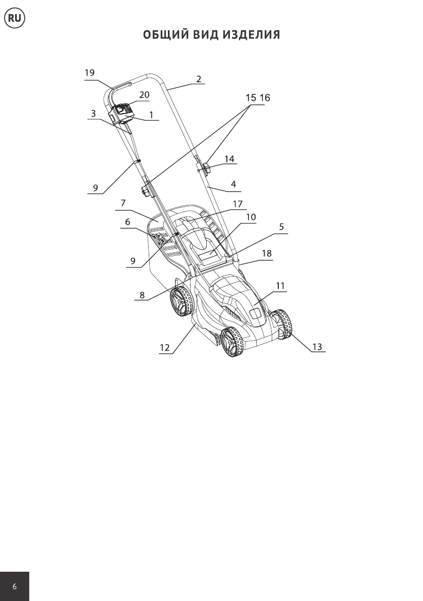
1 Выключатель
2 Верхняя рукоятка
3 Провод подключения к электросети
4 Нижняя рукоятка
5 Место крепления травосборника
6 Индикатор наполнения
7 Корпус травосборника
8 Место крепления рукоятки к корпусу
9 Зажим для кабеля
10 Крышка травосборника
11 Крышка электромотора
12 Корпус газонокосилки
13 Колесо
14 Винт М6х35
15 Плоская шайба
16 Гайка-барашек
17 Ручка травосборника
18 Винт ST4x16
19 Рычаг выключателя
20 Кнопка выключателя













