Фрезеры Интерскол ФМ-40 - инструкция пользователя по применению, эксплуатации и установке на русском языке. Мы надеемся, она поможет вам решить возникшие у вас вопросы при эксплуатации техники.
Если остались вопросы, задайте их в комментариях после инструкции.
"Загружаем инструкцию", означает, что нужно подождать пока файл загрузится и можно будет его читать онлайн. Некоторые инструкции очень большие и время их появления зависит от вашей скорости интернета.
Загружаем инструкцию

Содержание
- 6 СОДЕРЖАНИЕ; ИНСТРУКЦИЯ ПО БЕЗОПАСНОСТИ
- 10 совместимость технических средств».; СВЕДЕНИЯ О СЕРТИФИКАТЕ СООТВЕТСТВИЯ
- 11 РУКОВОДСТВО ПО ЭКСПЛУАТАЦИИ; ОБЩИЕ СВЕДЕНИЯ
- 12 КОМПЛЕКТНОСТЬ
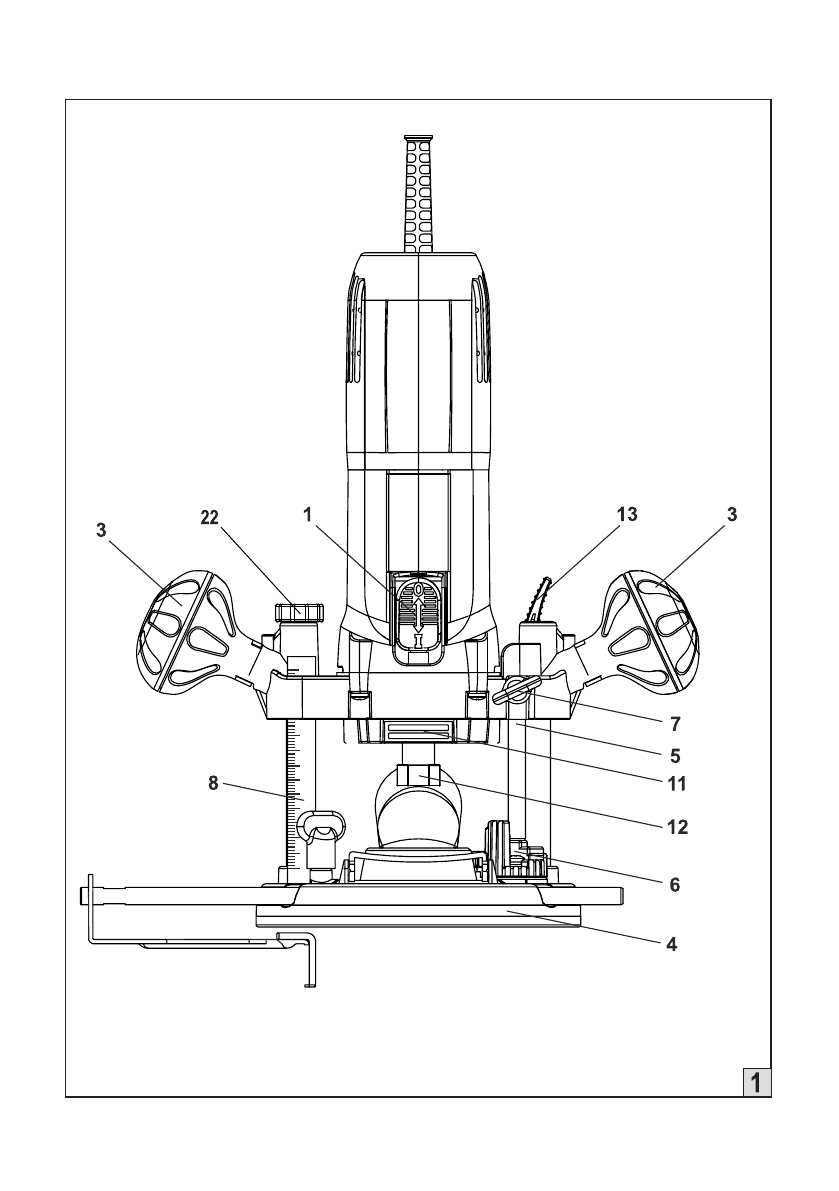
- 13 0- винты блокировки линейки направляющей
- 15 на конце шпинделя и, заблокировав ее кнопкой (; няться только при выключенной машине.; Установите машину на плоской пов
- 16 Затяните винты блокировки (
- 18 согласно нормам, действующим в стране эксплуатации.
Характеристики
Остались вопросы?Не нашли свой ответ в руководстве или возникли другие проблемы? Задайте свой вопрос в форме ниже с подробным описанием вашей ситуации, чтобы другие люди и специалисты смогли дать на него ответ. Если вы знаете как решить проблему другого человека, пожалуйста, подскажите ему :)
Часто задаваемые вопросы
Как посмотреть инструкцию к Интерскол ФМ-40?
Необходимо подождать полной загрузки инструкции в сером окне на данной странице
Руководство на русском языке?
Все наши руководства представлены на русском языке или схематично, поэтому вы без труда сможете разобраться с вашей моделью
Как скопировать текст из PDF?
Чтобы скопировать текст со страницы инструкции воспользуйтесь вкладкой "HTML"