Фотоаппараты Sony SLT-A37K - инструкция пользователя по применению, эксплуатации и установке на русском языке. Мы надеемся, она поможет вам решить возникшие у вас вопросы при эксплуатации техники.
Если остались вопросы, задайте их в комментариях после инструкции.
"Загружаем инструкцию", означает, что нужно подождать пока файл загрузится и можно будет его читать онлайн. Некоторые инструкции очень большие и время их появления зависит от вашей скорости интернета.

SLT-A37
4-420-752-
61
(1)
D:\Cathy_Workshop\ALY103954\Z_Target\RUUA\4420752611\4420752611SLTA37U2\02UA-
SLTA37CEE2\040REC.fm
Master:
L0.Right
З
н
іма
ння та
 пе
ре
гл
яд
 зобра
же
нь
31
UA
Знімання та перегляд зображень
Фотографування
Режим «Интеллект. Авто» дозволяє легко знімати будь-який 
об’єкт за будь-яких умов, тому що фотоапарат виконує аналіз 
ситуації та регулює параметри зйомки.
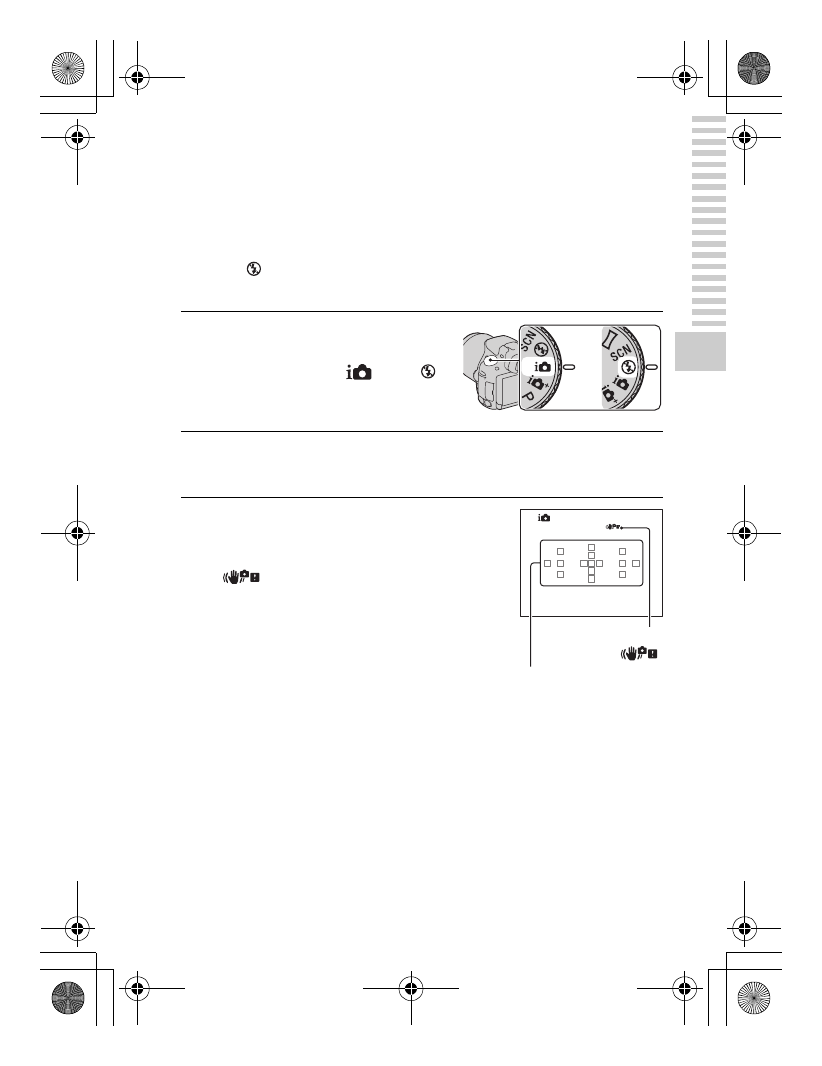
Оберіть 
у разі зйомки у місці, де використання спалаху
обмежене.
1
Встановіть диск 
переключення режимів 
у положення 
або
(Вспышка выкл).
2
Тримайте фотоапарат, стежачи за кадром на 
РК-моніторі або крізь видошукач.
3
Накладіть область АФ 
на потрібний об’єкт.
• Якщо індикатор
(попередження про
тремтіння фотоапарата) 
спалахує, обережно 
сфотографуйте об’єкт, міцно 
тримаючи фотоапарат або 
користуючись штативом.
• Коли фотоапарат розпізнає
сцену, на екрані з’явиться 
індикатор розпізнавання сцени 
та буде ввімкнено настройки, що 
найкраще підходять для цієї 
сцени.
або
Індикатор
(попередження
про тремтіння
фотоапарата)
Область AФ
010COV.book Page 31 Friday, March 16, 2012 11:11 AM
Содержание
- 2 Русский
- 3 Зарядное устройство
- 6 Содержание; Подготовка фотоаппарата; Съемка и просмотр изображений; Использование функций съемки
- 7 Использование функций воспроизведения; Просмотр изображений на компьютере
- 8 Процедура съемки
- 10 Название модели
- 11 Проверка комплектации; Общие принадлежности; • Перезаряжаемый
- 12 Элементы фотоаппарата; Диск управления; Передняя сторона
- 13 Под; Наглазник; Датчики видоискателя; Задняя сторона
- 14 Верхняя сторона
- 15 Разъем REMOTE; Разъем; Боковые стороны/Нижняя сторона
- 16 Гнездо микрофона; Гнездо штатива
- 17 Объектив
- 18 Зарядка батарейного блока
- 19 Примечания
- 20 Вставьте карту памяти.
- 21 Извлечение батарейного блока
- 22 Примечание; Пригодные для использования карты памяти; Карта памяти
- 23 Установка объектива
- 24 Снятие объектива
- 25 Установка бленды; Примечание, относящееся к замене объективов
- 26 При помощи
- 27 Отмена установки даты/времени; Кнопка MENU; Повторная установка часового пояса; и установите
- 28 Сохранение настроек даты и времени
- 29 Перед съемкой; • Если экран в видоискателе не виден; Как правильно держать камеру
- 30 Шаг
- 31 Съемка неподвижных изображений; при съемке в местах, где использование вспышки
- 33 и про; Запись видео
- 34 Воспроизведение изображений; Нажмите кнопку; Выберите изображение при помощи
- 36 Съемка изображений в соответствии со снимаемым объектом
- 37 отв; В камере имеются следующие режимы съемки:
- 38 Сцены, распознаваемые фотоаппаратом; Супер авторежим
- 39 Выбор сцены; Выберите требуемый режим при помощи
- 40 Полностью нажмите кнопку затвора.
- 42 Использование вспышки; Кнопка Fn
- 43 зов
- 44 Настройка яркости изображения
- 45 • Посмотрите снятое изображение и отрегулируйте уровень
- 46 Выбор режима протяжки; на кнопке управления
- 48 Настройка размера изображения
- 50 Увеличение изображений; Отмена воспроизведения увеличенного изображения; на
- 51 Возврат к отображению одного изображения; Меню
- 53 Список функций
- 54 Выбор функции с помощью кнопки; Поверните диск управления не нажимая на центр; Выберите нужный пункт с помощью
- 55 Спис; Fn
- 57 на кнопке управления, затем нажмите на; Меню съемки неподвижных изображений
- 62 Меню режима воспроизведения
- 65 Руководство в камере; При нажатии кнопки; Советы по съемке
- 66 Доступ ко всем советам по съемке
- 67 Использование компьютера; Вы можете открыть изображения в формате RAW.
- 68 * Не поддерживаются 64–разрядная версия и версия Starter
- 70 Войдите в систему с правами администратора.; Подключите камеру к компьютеру.
- 71 Дважды щелкните на пиктограмме компакт-диска.
- 72 • Открывать и сравнивать изображения в формате RAW/JPEG,
- 73 (Справочное руководство по
- 75 Создание диска с использованием компьютера
- 77 Ïðî÷åå
- 81 Доступные режимы вспышки
- 82 Руководство”, которое подробно объясняет как пользоваться; Для пользователей Windows; Запустите “; Для пользователей
- 84 “Memory Stick PRO Duo”; • Количество рассчитывается с полностью заряженным
- 85 • Методика измерения основывается на стандарте CIPA.; Доступная длительность записи видео
- 88 Технические характеристики; Фотоаппарат
- 91 [Воспроизведение увеличенного изображения]
- 92 О совместимости форматов данных изображений; Зарядное устройство BC-VM1; Зарядное устройство/Батарея
- 94 О фокусном расстоянии
- 95 Торговые марки
- 97 ель; Численные значения
- 99 Ук
- 136 Сцена, розпізнана фотоапаратом; Установіть диск переключення режимів на; Відрегулюйте фокус і зробіть знімок.

 
  
  
  
  
  
  
  
  
  
  
  
  
  
  
  
  
  
  
  
  
  
  
  
  
  
  
  
  
  
  
  
  
  
  
  
  
  
  
  
  
  
  
  
  
  
  
  
  
  
  
  
  
  
  
  
  
  
  
  
  
  
  
  
  
  
  
  
  
  
  
  
  
  
  
  
  
  
  
  
  
  
  
  
  
  
  
  
  
  
  
  
  
  
  
  
  
  
  
  
  
  
  
  
  
  
  
  
  
  
  
  
  
  
  
  
  
  
  
  
  
  
  
  
  
  
  
  
  
  
  
  
  
  
  
  
  
  
  
  
  
  
  
  
  
  
  
  
  
  
  
  
  
  
  
  
  
  
  
  
  
  
  
  
  
  
  
  
  
  
  
  
  
  
  
  
  
  
  
  
  
  
  
  
  
  
  
  
  
  
  
  
  
  
 











