Фотоаппараты Sony MVC-FD85 - инструкция пользователя по применению, эксплуатации и установке на русском языке. Мы надеемся, она поможет вам решить возникшие у вас вопросы при эксплуатации техники.
Если остались вопросы, задайте их в комментариях после инструкции.
"Загружаем инструкцию", означает, что нужно подождать пока файл загрузится и можно будет его читать онлайн. Некоторые инструкции очень большие и время их появления зависит от вашей скорости интернета.

masterpage:Left
filename[D:\Mavica85\Others\3060831621\3060831621MVCFD85CEE\03RU-MVC-
FD85CEE\03pre.fm]
8
-
RU
model name1[MVC-FD85/FD90]
[3-060-831-
62
(1)]
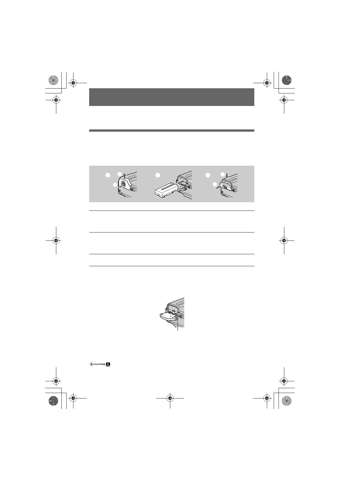
Подготовка источника питания
Установка батарейного блока
Эта камера работает только с батарейными блоками NP-F330
(прилагается)/батарейными блоками F550 (не прилагается)
“InfoLITHIUM”* (серии L).
Для удаления батарейного блока
Откройте крышку батарейного блока. Поверните рычаг выталкивания
батарейного блока вправо, и удалите батарейный блок.
Не роняйте батарейный блок при его удалении.
*
Что такое “InfoLITHIUM”?
“InfoLITHIUM” – это ионно-литиевый батарейный блок, который может
передавать совместимому с ним видео оборудованию информацию о потреблении
энергии. Батарейные блоки “InfoLITHIUM” серии L имеют маркировку
“InfoLITHIUM” – это торговая марка Sony Corporation.
1
Откройте крышку батарейного блока.
При нажатой кнопке PUSH, откройте крышку в направлении,
указанном стрелкой.
2
Установите батарейный блок.
Вставьте батарейный блок маркировкой
v
в сторону батарейного
отделения, как показано.
3
Закройте крышку батарейного блока.
1
2
3
1
2
1
2
Рычаг выталкивания батарейного блока
01cov.book Page 8 Monday, April 3, 2000 8:50 AM
Содержание
- 3 Рекомендация по сохранению
- 5 Содержание; Начало работы
- 6 Обозначение частей камеры; Объектив; qf
- 7 Кнопка
- 8 Подготовка источника питания; Установка батарейного блока; Для удаления батарейного блока; Откройте крышку батарейного блока.; Вставьте батарейный блок маркировкой; Закройте крышку батарейного блока.; Рычаг выталкивания батарейного блока
- 9 Зарядка батарейного блока; Индикатор разряда батарейного блока
- 10 80 и режиме записи NORMAL. Числа
- 12 Использование адаптера переменного тока; Использование автомобильного аккумулятора; Откройте крышку; в гнездо DC IN
- 13 Установка даты и времени; Строка меню появляется на экране ЖКД.
- 15 Загрузка дискеты; Проверьте, чтобы переключатель защиты от записи дискеты; Рычаг DISK EJECT
- 16 Основные действия; Запись; Запись неподвижных изображений; Относительно количества изображений, которые можно записать на; Установите переключатель PLAY/STILL/MOVIE в положение; Когда мигает индикатор защелки AE; До конца нажмите кнопку затвора.; Затвор щелкает, и изображение будет записываться на дискету.
- 17 BBBB; Чтобы выключить подсветку ЖКД; Проверка последнего записанного изображения (Просмотр); Регулировка яркости экрана ЖКД
- 18 Использование цифрового увеличения; Цифровое увеличение не работает для движущихся изображений.; Использование изменения фокусного расстояния
- 19 Индикаторы экрана ЖКД во время записи; DISPLAY
- 20 Автоматическое уменьшение эффекта красного глаза: Вспышка
- 21 Запись движущихся изображений; Установите переключатель PLAY/STILL/MOVIE в положение MOVIE.; Индикация на экране ЖКД во время записи
- 22 Воспроизведение; Воспроизведение неподвижных; Когда строка меню не отображается; Лампочка ACCESS
- 23 Воспр; Воспроизведение движущихся; на кнопке управления для
- 24 Регулировка громкости
- 25 Просмотр изображений на; OS; Рекомендуемые OS/приложения
- 26 Запустите ваш персональный компьютер, и вставьте дискету
- 27 Адреса файлов хранения изображений; sss; При использовании дискет; Расположение
- 28 При использовании накопителей “Memory Stick”; ssss
- 29 Цифровая часть следующих файлов одна и та же
- 30 Продвинутые действия; Перед выполнением продвинутых; Как пользоваться переключателем PLAY/STILL/MOVIE; MOVIE: Для записи движущихся
- 31 Повторите шаги
- 32 Как изменять установки меню; Для отмены установки
- 33 Установки меню
- 37 Установка
- 38 Различные способы записи; Установка размера; Установите переключатель; Размер
- 39 Раз; Запись неподвижных; Установите переключатель PLAY/; то звук будет
- 40 Запись текстовых; Запись изображений в макро; Индикатор
- 41 Установка расстояния до; Для возобновления
- 42 Для отмены PROGRAM AE
- 43 Регулировка; Регулировка баланса
- 44 Для отмены съемочных эффектов; DATE; SOLARIZE
- 45 Различные способы; Одновременное; Для отображения следующего; изображения
- 46 Для возвращения к нормальному
- 47 Для отмены слайдового шоу; Установите следующее.; помощи кнопки управления.; Слайдовое шоу начинается.
- 49 ние; Редактирование; Предотвращение; В одинарном режиме
- 50 Удаление изображений; Для отмены удаления
- 51 Изменение размера; Для отмены изменения размера; Копирование изображений; Для продолжения копирования
- 52 В режиме INDEX; появится на
- 53 Копирование всей; Вставьте копируемую; Появится “DISK ACCESS”.; После появления “CHANGE
- 54 Для удаления метки печати; Метка; Метки
- 55 Формат; Для отмены форматирования; Вставьте форматируемую
- 56 Дополнительная информация; Предостережения; Чистка экрана ЖКД; По чистке
- 57 Не разбирайте устройство.; По адаптеру переменного
- 58 Источники питания
- 59 Устранение неполадок; ss
- 63 Предупреждающие и информационные сообщения; Сообщение
- 64 Отображение самодиагностики; Код
- 65 Технические требования
- 66 Индикаторы на экране ЖКД; на кнопке; Индикаторы во время записи
- 67 Индикаторы во время воспроизведения
- 68 Индикаторы во время воспроизведения движущихся
- 69 Индeкс












