Фотоаппараты Sony DSC-RX10M2 - инструкция пользователя по применению, эксплуатации и установке на русском языке. Мы надеемся, она поможет вам решить возникшие у вас вопросы при эксплуатации техники.
Если остались вопросы, задайте их в комментариях после инструкции.
"Загружаем инструкцию", означает, что нужно подождать пока файл загрузится и можно будет его читать онлайн. Некоторые инструкции очень большие и время их появления зависит от вашей скорости интернета.
Загружаем инструкцию

Режим P/A/S/M/панорамного обзора
Для воспроизведения
Отображение основной информации
Отображение гистограммы
Содержание
- 2 Подготовка камеры; Зарядка аккумулятора; Проверка способа управления
- 3 Съемка; Фотосъемка/видеосъемка; Использование функций съемки; Использование зума
- 4 Использование вспышки; Выбор режима экранной индикации
- 5 Регулировка экспозиции; Выбор чувствительности ISO
- 6 Коррекция яркости или контрастности; Регулировка цветовых тонов; Видеосъемка
- 8 Просмотр; Просмотр фотоснимков; Воспроизведение видеозаписей; Печать
- 9 Изменение установок; Меню установки
- 10 Использование функций Wi-Fi; Соединение данного изделия и смартфона
- 11 Изменение установок функций Wi-Fi; Добавление приложений к изделию; PlayMemories Camera Apps; Установка приложений
- 12 Использование компьютера
- 13 Меры предосторожности/Данное изделие
- 14 Товарные знаки; Устранение неполадок; При возникновении проблем; Поиск и устранение неисправностей; Аккумулятор и питание
- 15 Просмотр изображений
- 17 Сообщения; Ситуации, в которых работа данного изделия затруднена; Проверка камеры и комплектации
- 18 Обозначение частей
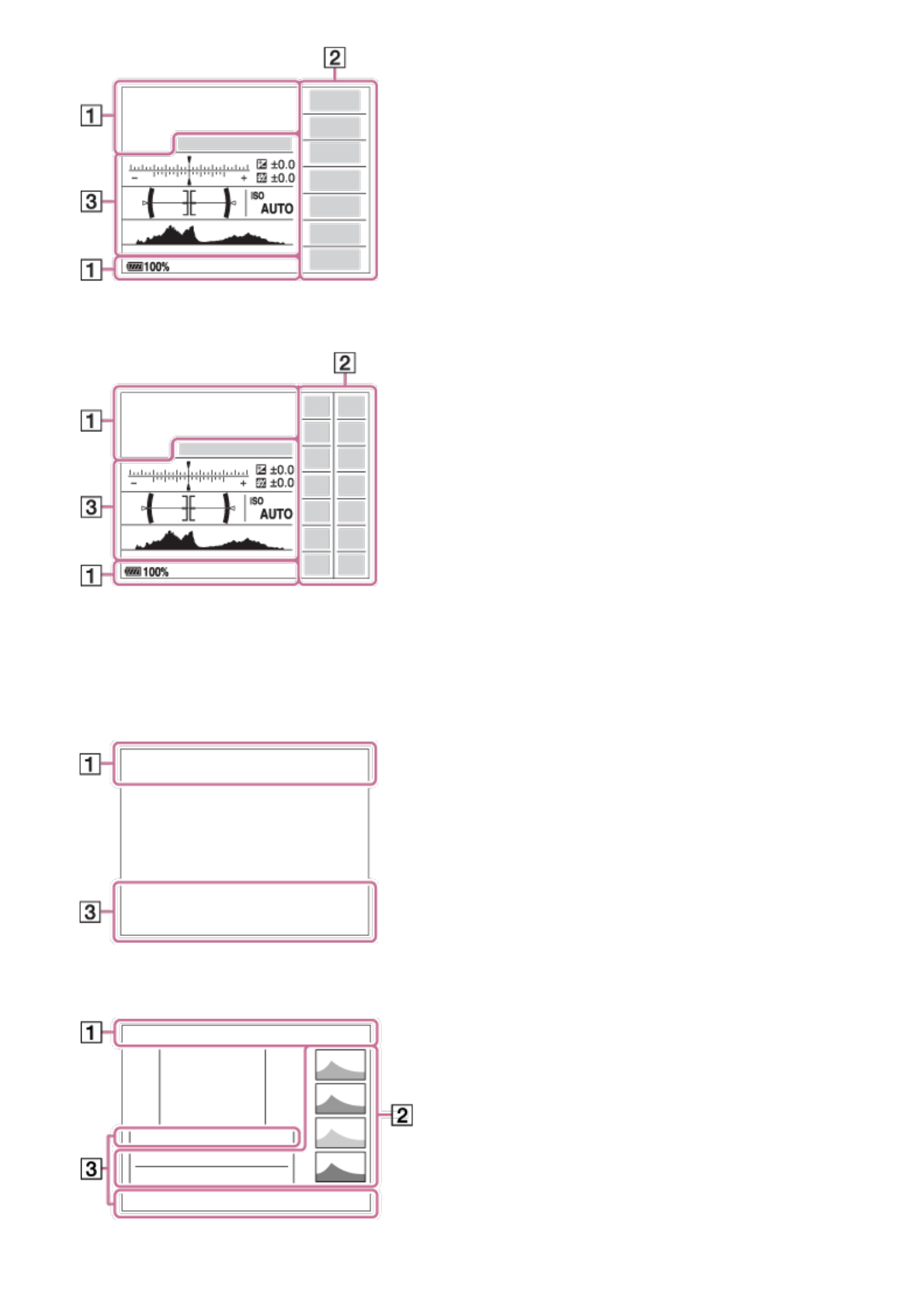
- 22 Список значков на экране; Режим монитора
- 29 Индикаторная панель; Коррекция экспозиции/Коррекция экспозиции вспышки
- 31 Использование плечевого ремня; Установка наглазника окуляра
- 32 Регулировка видоискателя (регулировка диоптра)
- 33 Вставка аккумулятора в камеру
- 34 Для покупателей в США и Канаде
- 35 Для покупателей стран/регионов за пределами США и Канады
- 36 Зарядка путем подключения к компьютеру
- 37 Экранный режим
- 38 Подача питания от сетевой розетки
- 39 Извлечение аккумулятора
- 40 Вставка карты памяти
- 41 Извлечение карты памяти
- 42 Используемые карты памяти; Используемый носитель Memory Stick; Используемые карты SD; При видеосъемке в формате XAVC S
- 43 Прикрепление светозащитной бленды объектива
- 44 Установка языка, даты и времени
- 45 Использование колесика управления; Использование кольца ручной регулировки
- 46 Использование диска управления
- 47 Использование пунктов MENU
- 49 Выполнение настроек на специальном экране; Использование “Quick Navi”
- 51 Фотосъемка; Индикатор фокусировки
- 53 Список функций диска режимов; Доступные функции
- 55 Супер авторежим
- 56 О распознавании сцен
- 57 Преимущества автоматической съемки
- 58 Программное авто; Программное смещение; Панорамный обзор
- 60 Выбор сцены
- 61 Подробности пунктов меню
- 65 Ручной экспозиция
- 66 BULB
- 67 Вызов памяти
- 70 Минимально допустимое расстояние для съемки
- 72 Зум; Функции зуммирования доступны с данным изделием
- 74 О масштабе увеличения; Если
- 77 Если вспышка не используется
- 86 Информация об изображениях RAW
- 88 Подробности режимов фокусировки
- 91 Блокировка фокуса
- 92 Ручной фокус
- 98 AF на глаз
- 99 Измерение точного расстояния до объекта
- 101 Диск коррекции экспозиции
- 104 Зебра
- 106 Режим протяжки
- 108 Автоспуск
- 114 Брекетинг WB; Брекетинг DRO
- 115 Настройки для серийной съемки
- 116 Индикатор во время серийной съемки; Видоискатель
- 117 ISO
- 122 Баланс белого
- 129 Форматы видеозаписи; Формат записи XAVC S/AVCHD
- 134 Двойная ЗАП видео
- 143 Кнопка MOVIE
- 144 Настройка профиля изображения
- 148 Память
- 150 Функция колесика управления
- 153 Функция нижней кнопки; Рамка распознавания лица
- 154 Рекомендации по более эффективному захвату улыбок
- 161 Сетка
- 165 Спуск без карты
- 169 Воспроизведение снимков
- 170 Воспроизведение крупным планом
- 171 Для возврата к воспроизведению одиночного снимка
- 172 Удаление отображаемого снимка
- 173 Доступные операции во время воспроизведения видеозаписи
- 174 Воспроизведение панорамных изображений
- 176 Режим просмотра
- 177 Для прекращения слайд-шоу в средине воспроизведения
- 178 Повернуть; Защита
- 179 Просмотр снимков на телевизоре высокой четкости
- 180 Просмотр снимков на Sync-совместимом телевизоре
- 181 Яркость монитора
- 185 Мозаичное меню
- 191 Как выбрать способ записи временного кода (; Разрешение HDMI
- 197 Настройка USB LUN; USB питание
- 198 Язык
- 199 Часовой пояс
- 200 Как использовать клавиатуру
- 201 Форматировать; Номер файла
- 202 Создать папку
- 203 Название папки
- 204 Модель
- 205 PlayMemories Mobile
- 206 Подключение изделия к iPhone или iPad
- 216 Нажать WPS
- 218 Например: Если нужно ввести строку “abd”
- 219 Другие пункты настройки
- 221 Рекомендуемая конфигурация компьютера
- 222 Загрузка приложений
- 223 Запуск загруженного приложения; Быстрый запуск приложений; Удаление приложений
- 227 Программное обеспечение для компьютеров Mac; Беспроводной автоимпорт; Image Data Converter
- 228 Установка Image Data Converter; Доступ Руководство по Image Data Converter; Remote Camera Control
- 230 Импортирование снимков в компьютер; Импортирование снимков в компьютер без использования
- 231 Отключение изделия от компьютера
- 232 Выбор диска для создания
- 236 Меры предосторожности; Резервное копирование карт памяти
- 239 О внутренней перезаряжаемой батарейке; Способ зарядки внутренней перезаряжаемой батарейки
- 240 Примечание об аккумуляторе
- 241 Индикатор оставшегося заряда элементов питания; Как хранить аккумулятор
- 242 О сроке службы аккумулятора
- 243 Примечания относительно карты памяти
- 244 Об очистке; Чистка объектива и вспышки
- 245 Чистка монитора; Количество фотоснимков
- 246 Доступное время видеозаписи
- 249 Примечания по непрерывной видеозаписи
- 250 Сетевой адаптер; О системах цветного телевидения
- 252 Лицензия; Примечания к лицензии
- 259 Изображение не сфокусировано.
- 260 Дата и время записи не отображаются на экране.
- 264 Размытое изображение.
- 268 Не удается отправить видеозаписи в смартфон.
- 269 Не удается использовать соединение в одно касание; Компьютер не распознает данное изделие.
- 272 Изделие нагревается после его использования в
- 273 течение длительного времени.
- 275 Предупреждающие сообщения












