Panasonic DMC-SZ7 - Инструкция по эксплуатации - Страница 7

Фотоаппараты Panasonic DMC-SZ7 - инструкция пользователя по применению, эксплуатации и установке на русском языке. Мы надеемся, она поможет вам решить возникшие у вас вопросы при эксплуатации техники.

Если остались вопросы, задайте их в комментариях после инструкции.

"Загружаем инструкцию", означает, что нужно подождать пока файл загрузится и можно будет его читать онлайн. Некоторые инструкции очень большие и время их появления зависит от вашей скорости интернета.
Страница:
/ 145
Загружаем инструкцию
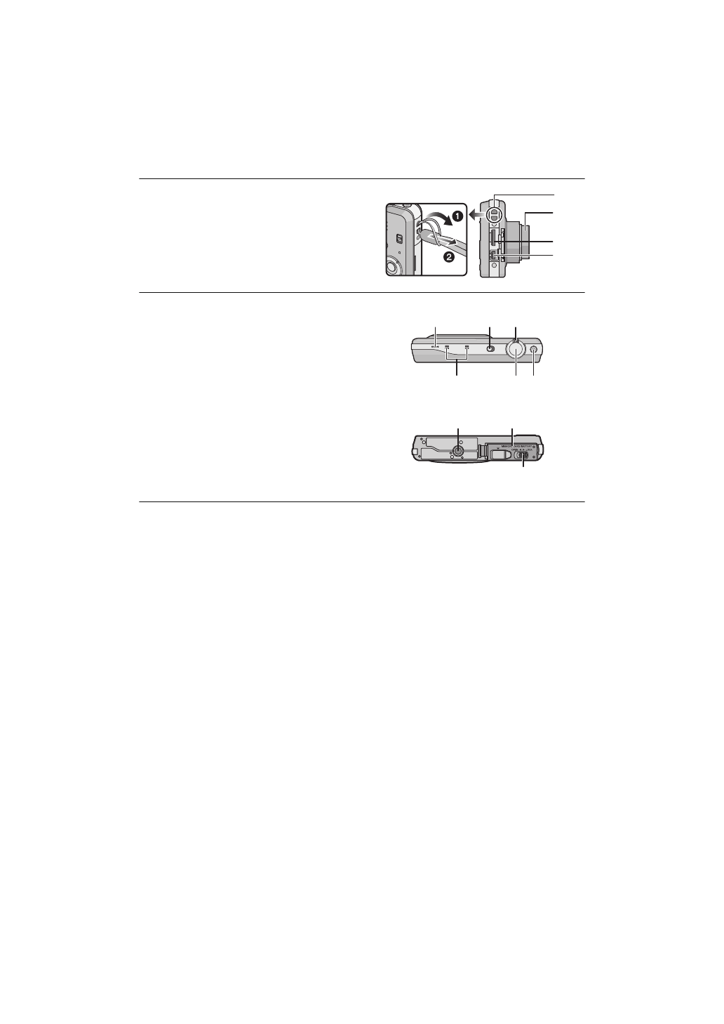
background image

- 7 -

Перед использованием

12

 

 

 

 

 

 

 

 

 

 

 

 

 

.

13

 

14

 [HDMI

(P109

111)

15

 [AV OUT/DIGITAL

(P10

109

119

122)

16

 

(P42)

 

 

 

 

 

 

Э

 

 

 

 

.

17

 

/

 

 

(P18)

18

 

 

(P51)

19
20

 

 

(P22

, 

26)

21

 

 

(P29)

22

 

23

 

 

 

 

/

 

(P9

14)

24

 

 

(P9

, 

14)

13

15

14

12

16

17 18

19

20 21

22

23

24

Полезные видео

Характеристики

Оцените статью
tehnopanorama.ru
Остались вопросы?

Не нашли свой ответ в руководстве или возникли другие проблемы? Задайте свой вопрос в форме ниже с подробным описанием вашей ситуации, чтобы другие люди и специалисты смогли дать на него ответ. Если вы знаете как решить проблему другого человека, пожалуйста, подскажите ему :)

Задать вопрос

Часто задаваемые вопросы
Как посмотреть инструкцию к Panasonic DMC-SZ7?
Необходимо подождать полной загрузки инструкции в сером окне на данной странице
Руководство на русском языке?
Все наши руководства представлены на русском языке или схематично, поэтому вы без труда сможете разобраться с вашей моделью
Как скопировать текст из PDF?
Чтобы скопировать текст со страницы инструкции воспользуйтесь вкладкой "HTML"