Фотоаппараты Panasonic DMC-LZ5 - инструкция пользователя по применению, эксплуатации и установке на русском языке. Мы надеемся, она поможет вам решить возникшие у вас вопросы при эксплуатации техники.
Если остались вопросы, задайте их в комментариях после инструкции.
"Загружаем инструкцию", означает, что нужно подождать пока файл загрузится и можно будет его читать онлайн. Некоторые инструкции очень большие и время их появления зависит от вашей скорости интернета.

Основные сведения
32
VQT0V03
∫
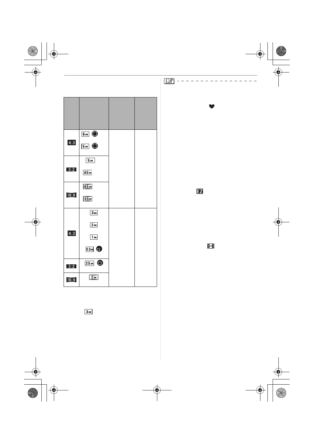
Разрешение снимка и
максимальное увеличение
(
±
: Доступно, —: Недоступно)
∫
Принцип работы дополнительного
оптического увеличения
При установке разрешения снимка
равным [
] (3M EZ) (3 миллиона
пикселей), 6M (6 миллионов пикселей)
(DMC-LZ5)/5M (5 миллионов пикселей)
(DMC-LZ3) используются только 3M
(3 миллиона пикселей) в центральной
части матрицы ПЗС, что позволяет
достичь большего увеличения.
•Описание установки формата
приведено на
P68, описание
разрешения снимка – на P69, описание
простого режима [
] на стр. P28.
•“EZ” – это аббревиатура от
[Extra optical Zoom] (дополнительное
оптическое увеличение).
•С помощью дополнительного
оптического увеличения можно
добиться более высокого увеличения,
не беспокоясь об искажении снимка.
•Если выбрано разрешение снимка,
которое допускает дополнительное
оптическое увеличение, при
использовании функции увеличения на
экране появляется индикатор
дополнительного оптического
увеличения [
].
•При использовании дополнительного
оптического увеличения при
приближении к точке [W] (1
k
)
изменение увеличения
кратковременно прекращается. Это не
неисправность.
•Указываемое значение увеличения
является приближенным.
•В режиме видео [
] и в режиме
[ВЫС. ЧУВСТВ.] в режиме сцены,
функция дополнительного оптического
увеличения не работает.
Формат
Разрешение
фотоснимка
Максималь-
ное
увеличение
Дополни-
тельное
оптическ-
ое
увеличе-
ние
/
(6M)
(DMC-LZ5)/
/
(5M)
(DMC-LZ3)
6
k
—
(5M)
(DMC-LZ5)/
(4,5M)
(DMC-LZ3)
(4,5M)
(DMC-LZ5)/
(3,5M)
(DMC-LZ3)
(3M EZ)
(2M EZ)
(1M EZ)
/
(0,3M EZ)
8,3
k
(DMC-LZ5)
7,5
k
(DMC-LZ3)
±
/
(2,5M EZ)
(2M EZ)
VQT0V03RUS.book 32 ページ 2006年1月18日 水曜日 午後10時57分
Содержание
- 2 Уважаемый покупатель!; •Просьба обратить внимание, что; ПРЕДУПРЕЖДЕНИЕ
- 3 Камера может перестать
- 5 Настройте деталь; Об изображениях кнопки курсора; SCN
- 6 Содержание
- 7 Параметры меню; Использование меню режима; Подсоединение к другому; Подключение к персональному; Другое
- 8 Батарейки; •Карты памяти SD не входят в; •При утере поставляемых
- 9 Кнопки курсора
- 10 Краткое руководство; • Если карта памяти (не входит в; Для съемки включите камеру.
- 11 Используемые батарейки
- 12 Неиспользуемые типы батареек
- 14 Условия записи по стандарту СIPA
- 15 •Обратите внимание, что; Время воспроизведения; •Количество записываемых снимков и
- 16 •Убедитесь, что фотокамера; •Не вынимайте карту памяти или
- 17 •Без карты памяти записывать и; Закройте дверцу карты.; •Карта и данные могут быть
- 18 •Снимки, записанные во встроенную
- 19 Карта памяти SD
- 20 Изменение настройки часов; О меню настроек; нажмите
- 21 •Для перехода к следующему экрану; Нажмите; •Кроме того, для закрытия меню; •Переключаться между экранами в
- 24 FRANÇAIS
- 25 Съемка
- 26 Функция определения ориентации
- 27 Фокусировка
- 28 – Замедленная синхронизация/; Экспозиция; •При нажатии наполовину кнопки; Основные настройки меню; затем нажмите; ENLARGE Применяется для
- 29 Компенсация контрового света; qk
- 30 LZ
- 33 Работа с меню; Дальнейшее увеличение
- 35 Для выбора снимка нажмите
- 36 Удаление снимков; Удаление одного снимка; Выберите снимок с помощью
- 37 •Удаленные снимки нельзя
- 38 В режиме записи
- 39 Контрольные линии записи
- 40 на; •Включится режим верхнего ракурса.; Отмена режима верхнего ракурса; •В режиме верхнего ракурса снимки
- 41 •Информация о возможных режимах
- 42 При компенсации контрового света
- 45 Недостаточно выдержан
- 46 •Кроме того, для завершения; •Кроме того, для завершения
- 49 •Если режим серийной съемки; съемки
- 50 Включение монитора ЖКД:
- 51 Режим сцены
- 52 Об экраном меню; Режим «Портрет»
- 53 Режим «Ровная кожа»; Режим «Пейзаж»
- 54 •Используйте вспышку.; Режим «Ночной портрет»; Режим «Ночной пейзаж»
- 55 Режим «Еда»; Режим «Свеча»
- 56 Установка скорости затвора; Режим «Фейерверк»; Режим «Звездное небо»
- 57 Режим «Снег»
- 58 Вывод возраста на экран
- 59 Режим видео; Параметр; пиксель
- 63 видео; для воспроизведения нажмите
- 64 Для приостановки воспроизведения
- 65 требуемый режим записи.
- 66 •При выборе любого параметра, кроме; Автоматический баланс белого; освещения
- 68 Помехи; Установка формата снимков
- 69 •При печати края сделанных снимков; Количество пикселей; Если качество установлено как [
- 71 •Фокусировка выполняется быстрее,; [фокусировка по 3 зонам
- 73 Пример
- 74 •При съемке в местах с недостаточной; •После выбора параметра меню в
- 76 Выбор избранных снимков
- 77 Удаление всех избранных; Для поворота снимка
- 78 •Защищенные снимки не могут быть; •При съемке фотокамерой,
- 79 Одиночная настройка
- 80 Для печати даты
- 81 Запись звука после съемки
- 82 Уменьшение размеров снимка
- 83 Увеличение и подрезка снимка
- 84 Копирование изображений
- 86 При использовании Windows
- 87 Структура папок; DCIM; Встроенная память
- 88 •При подключении фотокамеры к
- 89 Печать снимков
- 90 Одиночный снимок
- 91 Фотоснимок DPOF
- 92 Печать макетов; Подключите кабель AV
- 94 Вид экрана; При записи
- 95 Запись в простом режиме
- 97 Карта
- 98 Сообщения; существует на получателе.
- 99 •При обращении к карте произошла; Аккумуляторы и источник питания; •Оставшийся заряд батареек может
- 102 : На мониторе ЖКД время от
- 104 : Иногда при нажатии кнопки
- 105 Количество записываемых снимков
- 107 ЖК дисплее, не обязательно уменьшается по порядку.; Установка качества снимков
- 108 Технические характеристики; Многократная съемка
- 109 80 пикселей (Только при использовании карты
- 110 QuickTime; Интерфейс; Гнездо типа 1
- 111 ИНФОРМАЦИЯ; С АДАПТЕРОМ DMW-AC6E Panasonic; Информация для покупателя












