Фотоаппараты Panasonic DMC-LX3 - инструкция пользователя по применению, эксплуатации и установке на русском языке. Мы надеемся, она поможет вам решить возникшие у вас вопросы при эксплуатации техники.
Если остались вопросы, задайте их в комментариях после инструкции.
"Загружаем инструкцию", означает, что нужно подождать пока файл загрузится и можно будет его читать онлайн. Некоторые инструкции очень большие и время их появления зависит от вашей скорости интернета.

VQT1T40
132
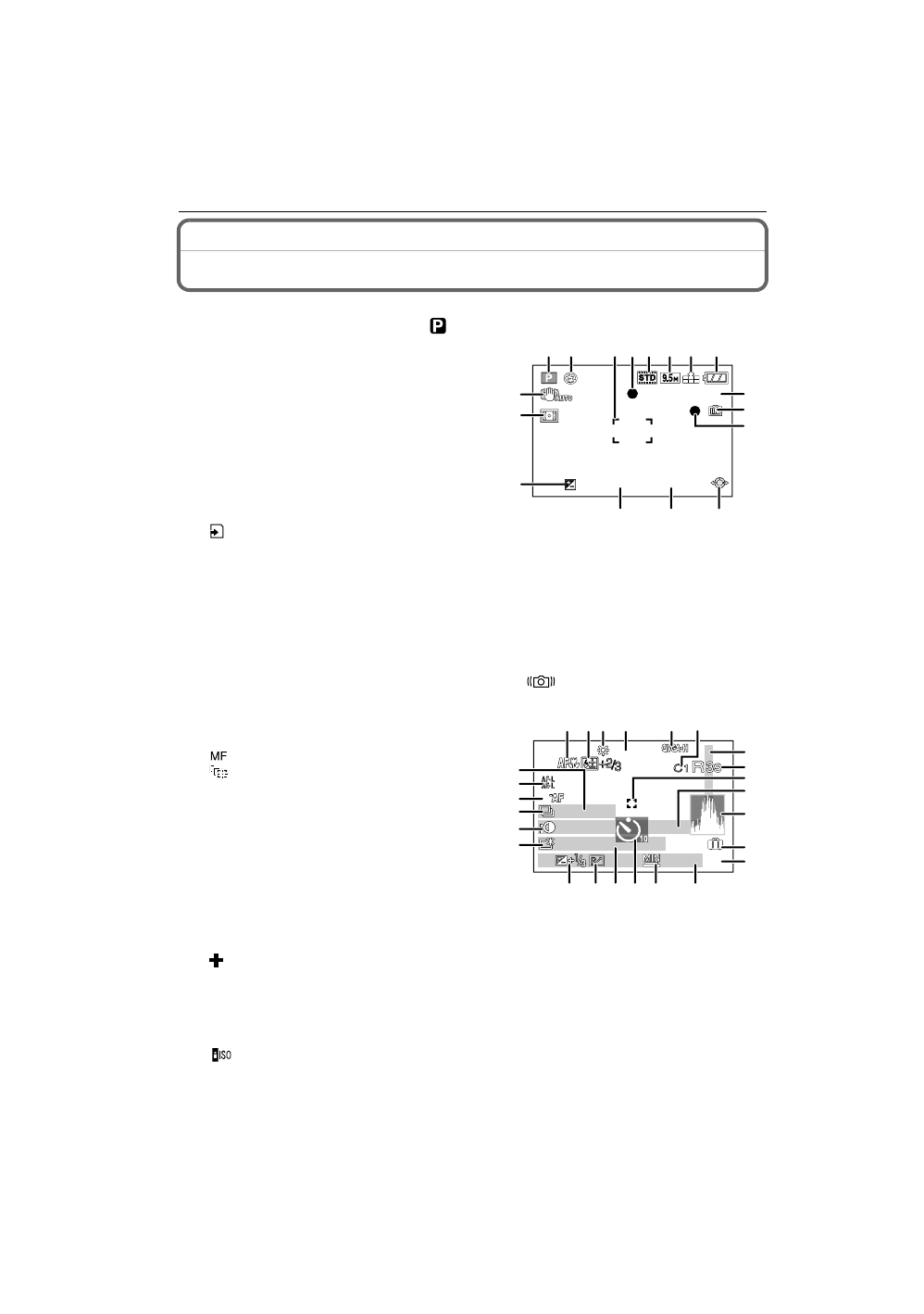
∫
AE [
] (
)
1
2
(P46)
3
-
(P32)
4
(P32)
5
(P78)
6
(P80)
7
(P81)
8
(P14)
9
(P151)
10
(P17)
:
(P17) (
)
11
12
(P22, 34, 58, 59, 61)
ISO (P82)
13
(P32)
14
(P32)
15
(P53)
16
(P85)
17
(P92)/
:
(P33)
∫
(
)
18
(P51)
: MF (P61)
:
(P87)
19
(P49)
20
(P83)
(P84)
21
ISO (P82)
ISO (P83)
22
(P73)
23
(P63)
24
(P61)
25
(P73):
26
(P86)
:
(P85)
27
¢
1
(P68)
28
(P45)
29
(P75)
(P36, 87)
30
(P73)
:
ISO (P82)
9
9
9
1/30
1/30
1/30
F2.0
F2.0
F2.0
F2.0
1
2
3 4 5 6 7
8
12
13
14
9
10
16
15
17
11
3s
3s
3s
3s
ISO
ISO
80
80
ISO
80
Q
Q
1
1
18 19 20 21
23
24
25
26
27
28
29
30
32
31
34 33
36 35
37
38
39
40
41
42
22
R
8
m30s
DMC-LX3_Rus.book 132 ページ
00
年
月
日 水曜日 午後
時
0分