Фотоаппараты Panasonic DMC-FZ8 - инструкция пользователя по применению, эксплуатации и установке на русском языке. Мы надеемся, она поможет вам решить возникшие у вас вопросы при эксплуатации техники.
Если остались вопросы, задайте их в комментариях после инструкции.
"Загружаем инструкцию", означает, что нужно подождать пока файл загрузится и можно будет его читать онлайн. Некоторые инструкции очень большие и время их появления зависит от вашей скорости интернета.

Дополнительные операции (воспроизведение)
96
VQT1B39
Дополнительные операции (воспроизведение)
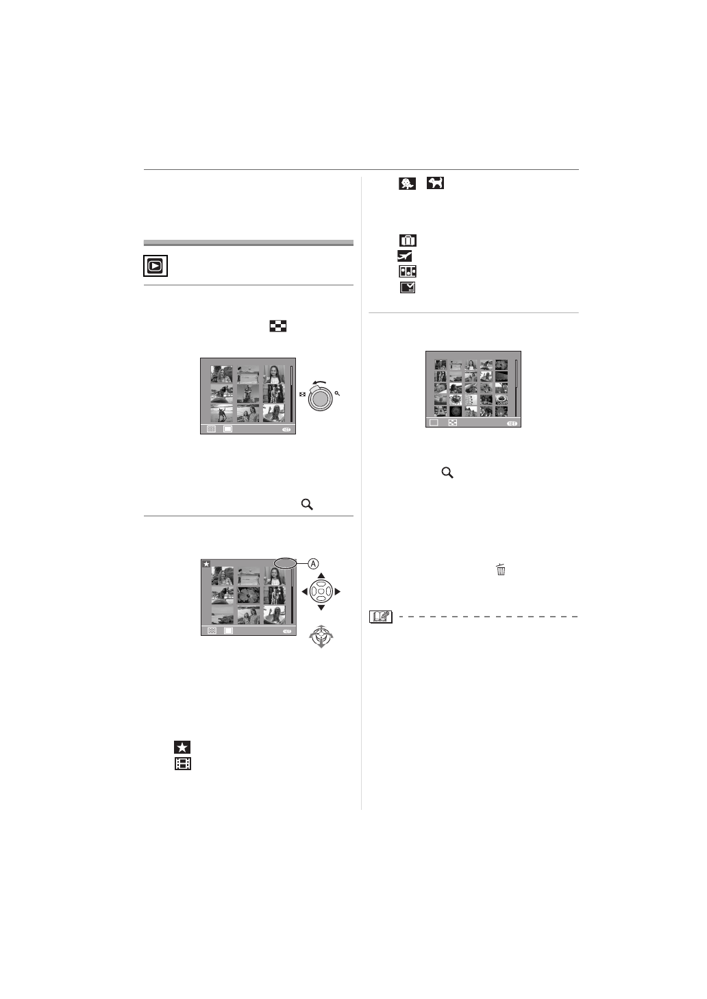
Отображение
нескольких экранов
(мульти воспроизведение)
1
Для отображения нескольких
экранов поверните рычажок
трансфокатора к [
] [W].
(Отображается экран с 9 снимками)
1 снимок
>
9 снимков
>
25 снимков
>
Экран календаря
(P97)
•Для возвращения к предыдущему
количеству окон поверните рычажок
трансфокатора в сторону [
] [T].
2
Для выбора снимка нажмите
3
/
4
/
2
/
1
.
A
: Номер выбранного снимка и общее
количество записанных снимков
•Для работы также можно
использовать джойстик.
•В зависимости от снимка или
параметров настройки могут
появляться следующие значки.
– [
]
(Избранное)
– [
]
(Видео)
– [
][
] ([РЕБЕНОК1]/
[РЕБЕНОК2]/
[ДОМ.ЖИВОТНОЕ] в
режиме сцены)
– [
]
(День путешествия)
– [
]
(Пункт назначения)
– [
]
(Анимация)
– [
]
(Снимки с отметкой
[ОТПЕЧ.ДАТЫ])
∫
Примеры 25 снимков
∫
Для возврата в режим
нормального воспроизведения
Поверните к [
] [T] или нажмите
[MENU/SET].
•Вокруг снимка появится рамка
оранжевого цвета.
∫
Чтобы удалить фотоснимок в
режиме мульти воспроизведения
1
Для выбора снимка нажмите
3
/
4
/
2
/
1
, а затем нажмите [
].
2
Для выбора [ДА] нажмите
3
.
3
Нажмите [MENU/SET].
•Отображенную на мониторе ЖКД
информацию о записи невозможно
удалить во время воспроизведения в
многооконном режиме, даже при
нажатии на [DISPLAY].
•Снимки не будут отображаться в
повернутом положении, даже если
параметр [ПОВЕРН. ЖКД] установлен
в [ON]. (P105)
1/26
W
T
MENU
T
W
1.
ДЕК
. 2007
ОТМЕН.
W
T
MENU
5/26
ОТМЕН.
1.
ДЕК
. 2007
ИЛИ
W
MENU
CAL
T
1/26
ОТМЕН.
1.
ДЕК.
2007
Содержание
- 3 О зарядном устройстве батареи; •Если питание переменного тока; •НЕ ЗАКРЫВАЙТЕ
- 4 Уход за камерой; OK
- 5 Содержание; АЭРОСЪЕМКА
- 7 Стандартные; Аккумулятор; Кабель питания; карта; Названия составных
- 9 Ремешок; Наденьте крышку объектива.
- 10 Присоединение; на
- 11 Снятие переходника бленды
- 12 •Подробная информация об; Краткое руководство; •При поставке фотокамеры,; Воспроизведение снимков.
- 13 Подзарядка; Подключите кабель питания.; •Используйте специально
- 14 Об аккумуляторах; Срок службы аккумуляторов
- 15 Условия подзарядки; Установка и; •Без карты памяти записывать и
- 16 Закрыть дверцу карты/; • Если дверца отсека карты/батарейного
- 18 Начальная установка
- 19 Информация о диске; Установите деталь; Следует; Основные операции
- 20 Настройка меню; Отображение экранов меню; Нажмите; ИЛИ; ИЛИ
- 21 Закрытие экрана меню
- 25 Отображение на
- 26 • Когда горит лампа индикатора
- 27 Съемка
- 28 Цвет
- 29 Функция определения ориентации
- 30 Пример изменения программы; Съемка в простом; Основные настройки меню; затем нажмите
- 31 •Кроме того, для закрытия меню; qk
- 32 Компенсация контрового света
- 33 Съемка с
- 34 Дальнейшее увеличение
- 35 Работа с меню
- 36 Проверка; Увеличение изображения
- 37 удаление снимков; Воспроизведение снимков; Для выбора снимка нажмите
- 38 Удаление одного снимка
- 39 Выбор используемого экрана
- 42 на протяжении; Свечение монитора ЖКД
- 44 •Если вспышка не используется,; Для выбора можно также нажать
- 45 При компенсации контрового света
- 48 •При съемке со вспышкой; • Для завершения можно также нажать
- 50 Недостаточно выдержан; Компенсировать экспозицию в сторону; Операции с джойстиком; Можно компенсировать от [; Нажимайте; •Можно компенсировать от [; •Кроме того, для завершения
- 51 •Кроме того, для завершения можно
- 53 Для выбора режима нажмите
- 54 •При включенной вспышке можно; съемки
- 55 Элемент
- 59 Ручная экспозиция; наклоните джойстик вперед
- 60 Подсказка по ручной экспозиции; Показатель; Режим приоритета диафрагмы AE
- 61 Съемка в режиме
- 62 •Для завершения можно также; и затем
- 64 •Можно также выполнить
- 65 Об информации
- 67 •Используйте вспышку.
- 68 Приемы работы с режимом СВЕЧИ
- 71 Установка скорости затвора
- 73 Режим видео
- 75 •Рекомендуется использовать карту; При съемке
- 76 Отмена режима даты путешествия
- 79 Использование меню; Настройка с экрана меню; Экран
- 80 Использование быстрых настроек; Режим измерения
- 81 Автоматический баланс белого
- 82 •Для завершения можно нажать
- 83 Помехи; Установка формата снимков
- 84 Количество пикселей
- 85 Качество; RAW
- 86 Запись со звуком
- 88 О выборе зоны автофокусировки
- 93 •Преобразующие объективы
- 94 нажмите; Обычный
- 96 Отображение; Примеры 25 снимков
- 97 Отображение в; в хронологическом порядке); отображения снимков,
- 98 Использование
- 99 Воспроизведение; Видео; Остановка воспроизведения фильма; Для выбора снимка со значком
- 100 Создание; воспроизведения нажмите
- 101 Нажмите кнопку затвора.; •Появляется сообщение; Размер снимка; •Сохранение снимков из видео, снятого; Параметр; снимок 9 снимков
- 102 Нажатием; •После выполнения операций
- 103 Для завершения нажмите
- 104 Выбор избранных снимков
- 105 Удаление всех избранных; Для поворота снимка
- 107 Одиночная настройка; Формат
- 108 Множественная настройка; •После шага 1 выполните шаг 2 и
- 110 Для отмены всех настроек
- 111 Запись звука после съемки
- 112 Уменьшение размеров снимка
- 113 •Если первоначальный снимок; •Следующие снимки не могут быть; •Появится сообщение [УДАЛИТЬ; Увеличение и подрезка снимка
- 115 Для выбора направления; Копирование изображений
- 116 Инициализация карты
- 118 Подключение к; При использовании “Windows
- 119 О воспроизведении видео на ПК; Встроенная память
- 120 •При подключении камеры к ПК с ОС; Печать снимков
- 122 Выбор и печать одного снимка
- 123 сm
- 124 Печать макетов
- 126 или фильтр; •MC
- 127 Вид экрана; При записи
- 128 Запись в простом режиме
- 129 При воспроизведении
- 130 Предосторожности
- 131 •Нельзя сильно надавливать на ЖК
- 132 Утилизация отработанных батареек.; Сообщения
- 133 существует на получателе.
- 134 Устранение; Аккумуляторы и источник питания
- 135 : Фотокамера выключается сразу же
- 137 : Снимок не выводится на ЖКД
- 140 : Отображаемое изображение слегка
- 141 Количество записываемых снимков и; зависимости от объектов.; Количество записываемых снимков
- 143 Доступное время записи (при записи видеокадров); для каждого форматного соотношения.; VGA
- 144 •Расширенный оптический трансфокатор не работает при установке; Технические характеристики; Цифровой трансфокатор:
- 145 Количество; EV до; Записывающий носитель:; 80 пикселей (Только при использовании карты)
- 146 Изображение со звуком:; QuickTime Motion JPEG (видеозапись со звуком); Интерфейс; Гнездо питания типа 3
- 147 Информация для покупателя; Дополнительная информация:












