Фотоаппараты Nikon 1 J1 BK KIT 10-30MM VR - инструкция пользователя по применению, эксплуатации и установке на русском языке. Мы надеемся, она поможет вам решить возникшие у вас вопросы при эксплуатации техники.
Если остались вопросы, задайте их в комментариях после инструкции.
"Загружаем инструкцию", означает, что нужно подождать пока файл загрузится и можно будет его читать онлайн. Некоторые инструкции очень большие и время их появления зависит от вашей скорости интернета.

6
s
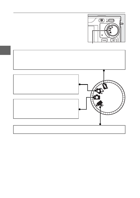
Диск выбора режимов
Фотокамера имеет следующие режимы 
съемки:
Диск выбора режимов
Режим момент. снимка движ.
45): При каждом спуске затвора фотокамера
записывает фотографию и видеоролик продолжительностью примерно одну 
секунду. При просмотре результата «Момент. снимок движ.» на фотокамере 
видеоролик будет воспроизводиться в замедленном режиме в течение 
примерно 2,5 с, после чего будет показана фотография.
Режим интеллектуального выбора снимка
При каждом спуске затвора фотокамера 
автоматически выбирает самый лучший 
снимок и четыре лучших снимка на 
основании композиции и движения.
Режим фотографий
(
21): Для съемки
фотографий. По умолчанию фотокамера 
автоматически регулирует настройки 
фотокамеры в соответствии с объектом 
(автоматический выбор сюжета).
Режим видео
(
37): Для записи видеороликов HD или с замедленным
движением.
Содержание
- 2 Установка прилагаемого программного обеспечения; Запуск ViewNX 2 вручную; Обработка фотографий; Прямое соединение USB; Копирование снимков на компьютер; Short Movie Creator; Дополнительные сведения; Windows; Windows; Import
- 6 ii; Максимальное использование возможностей; Фотографирование и съемка видеороликов; в любом из; Соединение
- 7 iii; Принадлежности; Просмотр; короткометражных видеороликов в; Переместите
- 8 iv; Кнопка; Оглавление
- 11 vii
- 12 viii
- 13 ix
- 14 ПРЕДУПРЕЖДЕНИЯ; Меры безопасности
- 15 xi
- 16 xii
- 17 xiii; Уведомления
- 18 xiv
- 19 xv
- 20 xvi
- 21 xvii
- 23 Введение; Удостоверьтесь, что в упаковке находятся следующие компоненты:; Содержание упаковки
- 24 Корпус фотокамеры; Части фотокамеры
- 26 Монитор
- 27 Нажмите; Сетка кадрирования; Отображать сетку
- 28 Режим интеллектуального выбора снимка
- 29 Мультиселектор и кнопка; Примечание; Мультиселектор
- 32 : Пункты в списке могут различаться в зависимости от
- 33 Прикрепите ремень фотокамеры.; Надежно прикрепите ремень к двум проушинам фотокамеры.; Перед началом работы; Штекер сетевого блока питания переменного тока
- 35 Вставьте батарею и карту памяти.
- 36 GB
- 37 Извлечение батарей и карт памяти; Карты памяти
- 38 Отсоединение объектива
- 40 Выберите язык и настройте часы.
- 41 Часы фотокамеры
- 42 3) или удалите часть снимков; Индикация; Не удается сделать
- 43 Режим фотографий; Выберите режим фотографий.; Фотографирование в режиме фотографий
- 44 Подготовьте фотокамеру к работе.; Использование зум-объектива
- 45 Выполните фокусировку.; чтобы помочь при работе фокусировки.; Если фотокамера сможет сфокусироваться; Поместите объект в центре кадра.; АФ с приоритетом лица
- 47 Спусковая кнопка затвора; Запись видеороликов
- 48 Выбор режима съемки; Нажмите кнопку; Покадровая; Непрерывная
- 49 Размер буфера памяти
- 50 Просмотр снимков
- 51 Удаление снимков; Чтобы удалить текущий снимок, нажмите; Удаление нескольких снимков (; Удалить
- 53 Выберите режим интеллектуального выбора снимка.; Доступные настройки; Съемка в режиме интеллектуального выбора снимка
- 54 Начните буферизацию снимков.; Буферизация
- 56 Выбор лучшего снимка; или
- 57 Удаление изображений; При нажатии; Удаление отдельных снимков
- 59 Режим видео; Выберите режим видео для съемки видеороликов; вы; сокой; Выберите режим видео.; Видео HD; Режим экспозиции
- 60 Максимальная длина
- 61 и воспользуйтесь; : Запись видеороликов; Фотографирование во время видеосъемки
- 62 Замедленная съемка
- 64 Просмотр видеороликов; Действие
- 65 Удаление видеороликов; . Появится диалоговое окно
- 67 Выберите режим моментального снимка движения.; Съемка в режиме моментального снимка движения
- 69 Выбор Тема; Красота; Нежность; Режим моментального снимка движения
- 70 Удаление моментальных снимков движения; , чтобы удалить фотографию и; Просмотр моментальных снимков движения
- 71 Режим фотографий/Режим интеллектуального выбора снимка
- 73 Режим видео/Режим моментального снимка движения
- 75 Дополнительные сведения о съемке; 58) можно использовать для уменьшения вибрации; Установите фотокамеру на штатив.; Режимы автоспуска и дистанционного управления; Быстрый спуск
- 77 Вставка для крепления на штативе
- 78 EV. Обычно положительные; выбор сюжета; Коррекция экспозиции
- 80 кнопка затвора нажимается наполовину.; Встроенная вспышка; Заполняющая вспышка
- 81 Медленная синхронизация; и нажмите
- 82 Опускание встроенной вспышки; Использование встроенной вспышки
- 83 Диафрагма, чувствительность и диапазон вспышки
- 85 Простая информация о снимке; Информация о снимке; Просмотр уменьшенных изображений
- 86 Подробная информация о снимке
- 88 Можно выполнять следующие действия:
- 89 Календарный просмотр; отображаются 72 снимка (
- 90 Увеличение при просмотре; вверх. Увеличение при
- 91 Для удаления нескольких снимков нажмите кнопку; в меню режима просмотра и выберите один из параметров; Да; Удалить выбранные
- 92 Показ слайдов; в меню; Оценка снимков
- 93 Выделите нужный параметр меню и нажмите; в меню режима просмотра
- 94 Настройте следующие параметры:; Интервал кадра; Как интервал кадра; Интервал
- 97 Подключения
- 98 Запустите установочную программу.; Выйдите из установочной программы.; OK; Установлено следующее программное обеспечение:
- 99 Технические требования к системе; Технические требования к системе Short Movie Creator следующие:
- 100 Технические требования к системе для ViewNX 2 следующие:
- 101 Перенос изображений; Выберите один из следующих способов:; Прямое USB-подключение; : Выключите фотокамеру и; Гнездо для карты SD; : Если на Вашем компьютере имеется гнездо; Устройство для чтения карт SD; : Подсоедините к компьютеру; Запустите Nikon Transfer 2.; Просмотр и редактирование изображений на компьютере; Windows 7; Import pictures and; Change program
- 102 Пуск ViewNX 2 в ручном режиме; Mac OS
- 103 на панели; Создание короткометражных видеороликов; Для получения более подробной информации
- 104 Выберите снимки в ViewNX 2.; Запустите Short Movie Creator.; Short Movie
- 105 Сохраните видеоролик.; Create Movie; 49), в устройство для чтения карты или гнездо; Запуск программы Short Movie Creator; Просмотр короткометражных видеороликов на других устройствах; Save to; Save file
- 106 Подсоедините фотокамеру к телевизору для воспроизведения.; Устройства высокой четкости; efinition; Подсоедините кабель HDMI.; Выключите фотокамеру и подсоедините кабель HDMI.; Настройте телевизор на работу с HDMI-каналом.; Просмотр изображений на телевизоре; Подключение видеокабелей
- 107 Закройте крышку разъемов
- 108 Подключение принтера; Подключите фотокамеру с помощью прилагаемого USB-кабеля.; Выключите фотокамеру.; Печать снимков; Концентраторы USB
- 109 Выбор снимков для печати
- 111 Проверка снимков; Выбрать по дате
- 112 Ошибки
- 114 Создание задания печати DPOF: Задание печати; Задание печати DPOF; в меню режима просмотра, и; установить
- 115 Меню режима просмотра; Для вызова меню режима просмотра нажмите
- 117 Выбор нескольких изображений
- 118 Поворот вертикальных; Сбросить; Оценка
- 119 Размер изображения
- 120 Изменить размер; Копии с измененным размером
- 121 Кадрировать
- 123 Обрезка видеороликов
- 125 Меню съемки; Чтобы отобразить меню съемки нажмите
- 127 Выберите; , чтобы сбросить параметры в меню режима съемки и
- 128 сюжета; Чувствительность ISO
- 129 Выдержка и диафрагма
- 130 Выберите комбинацию выдержки и диафрагмы.; вверх для; Восстановление настроек по умолчанию для выдержки и диафрагмы
- 133 Скомпонуйте кадр, выполните фокусировку и сделайте снимок.
- 134 : Необходим дополнительный пульт; для пункта
- 135 : После фокусировки нажмите спусковую кнопку; Время; Выдержка от руки; : Уберите палец со спусковой кнопки затвора.; Время
- 136 Качество изображения
- 137 Имена файлов; Adobe RGB; Цветовое пространство
- 138 Частота кадров; Настройки видео
- 139 Замер экспозиции; Матричный; Режим зоны АФ
- 140 Блокировка автоматической экспозиции; 17) для помещения в кадр объектов, расположенных не в; Заблокируйте экспозицию.; Удерживая нажатой кнопку; Замер; нельзя изменить, пока активна блокировка
- 141 Баланс белого; Авто; Вспышка; Облачное небо
- 142 Можно выполнить тонкую настройку параметров, отличных от; Ручная предустановка; Ручная предустановка; Тонкая настройка баланса белого
- 143 Выделите; меню баланса белого и нажмите
- 145 Цветовая температура
- 147 29) можно изменить в соответствии с сюжетом или; Отобразите список параметров.; настройки Picture Control (; Picture Control
- 148 Сохраните изменения и выйдите из данного режима.; Польз. Picture Control; Измененные режимы Picture Control
- 149 Настройки Picture Control; Яркий
- 152 карту; . Отобразятся следующие; Удалить с карты; Копировать на карту
- 153 sRGB; для снимков, которые будут; для снимков, которые будут значительно
- 154 Сравнение «Активный D-Lighting» и «D-Lighting»
- 155 OFF
- 156 Микрофон; Микрофон отключен
- 157 Съемка с интервалом; Перед началом съемки
- 158 Подавление вибраций
- 159 Режим фокусировки
- 162 Ручная фокусировка
- 163 , когда объект будет; Видеоролики
- 164 Покадровый; Ведение объекта
- 166 Заблокируйте фокусировку.; заблокированной, пока нажата кнопка; Измените компоновку кадра и сделайте снимок.
- 168 Отображается символ; Коррекция вспышки
- 169 Меню настройки; Для вызова меню настройки нажмите
- 171 Сбросить настройки; не вынимайте карту памяти и не; Блок. спуска без карты
- 172 Яркость монитора; Экран приветствия
- 173 Затвор; , чтобы воспроизвести звук при спуске затвора, или уберите; Настройки звука
- 174 Выберите, блокирует ли кнопка; Блокировка; При выборе
- 175 Подавление мерцания; Ручной
- 176 Выбор языка для сообщений и дисплеев фотокамеры.; Часовой пояс и дата; Часовой пояс
- 177 Поворот; Версия прошивки
- 179 Технические примечания; Дополнительные принадлежности
- 180 Capture NX 2
- 181 Переходник штатива TA-N100
- 182 Рекомендуемые карты памяти
- 184 Подключите сетевой блок питания.; питается от сетевого блока питания и разъема питания.
- 185 Хранение данных; плохо проветриваются или имеют уровень влажности более 60 %; Чистка; Хранение и чистка; Важно; Объектив
- 186 Уход за фотокамерой и батареей: Предупреждения
- 187 Замечания о мониторе
- 189 Техническое обслуживание фотокамеры и принадлежностей
- 190 Настройки по умолчанию
- 191 Емкость карты памяти
- 192 Видеоролики в Замедленной съемке; Фотографии (Режим интеллектуального выбора снимка); Фотографии (Режим моментального снимка движения)
- 193 Поиск и устранение неисправностей; Монитор выключен
- 196 Не может производиться видеосъемка
- 197 Прочее
- 198 Сообщения об ошибках; Сообщение
- 201 Продолжить
- 202 Технические характеристики; Ex
- 210 Уход за объективом; Принадлежности, которые идут в комплекте
- 212 Ресурс работы от батарей сокращается, если:
- 213 Символы; Предметный указатель

 
  
  
  
  
  
  
  
  
  
  
  
  
  
  
  
  
  
  
  
  
  
  
  
  
  
  
  
  
  
  
  
  
  
  
  
  
  
  
  
  
  
  
  
  
  
  
  
  
  
  
  
  
  
  
  
  
  
  
  
  
  
  
  
  
  
  
  
  
  
  
  
  
  
  
  
  
  
  
  
  
  
  
  
  
  
  
  
  
  
  
  
  
  
  
  
  
  
  
  
  
  
  
  
  
  
  
  
  
  
  
  
  
  
  
  
  
  
  
  
  
  
  
  
  
  
  
  
  
  
  
  
  
  
  
  
  
  
  
  
  
  
  
  
  
  
  
  
  
  
  
  
  
  
  
  
  
  
  
  
  
  
  
  
  
  
  
  
  
  
  
  
  
  
  
  
  
  
  
  
  
  
  
  
  
  
  
  
  
  
  
  
  
  
  
  
  
  
  
  
  
  
  
  
  
  
  
  
  
  
  
  
  
  
  
  
  
  
 