Фотоаппараты Fujifilm FinePix F500EXR / F550EXR - инструкция пользователя по применению, эксплуатации и установке на русском языке. Мы надеемся, она поможет вам решить возникшие у вас вопросы при эксплуатации техники.
Если остались вопросы, задайте их в комментариях после инструкции.
"Загружаем инструкцию", означает, что нужно подождать пока файл загрузится и можно будет его читать онлайн. Некоторые инструкции очень большие и время их появления зависит от вашей скорости интернета.

ix
Об этом руководстве
Об этом руководстве
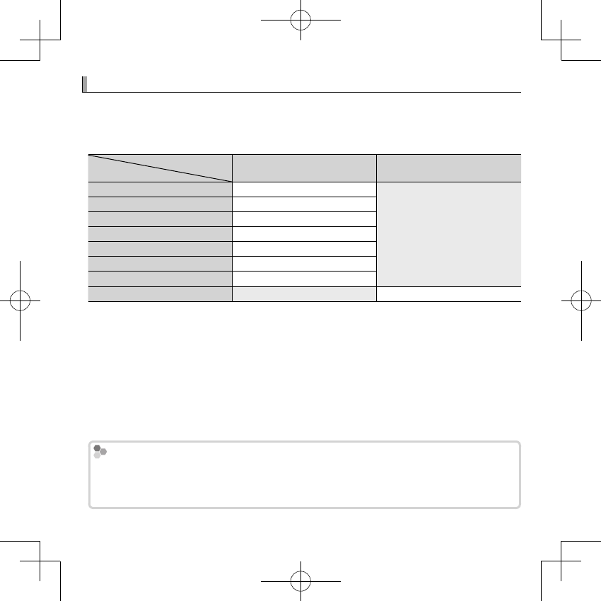
Данное руководство предназначено для использования с фотокамерами
FinePix F550EXR и F500EXR. За исключением перечисленных ниже функций,
эти две модели работают идентично.
Модель
Модель
Функция
Функция
FinePix F550EXR
FinePix F550EXR
FinePix F500EXR
FinePix F500EXR
R
R
GPS
GPS
P
P
40
40
Недоступна
Недоступна
ПОДРОБНАЯ ИНФО
ПОДРОБНАЯ ИНФО
P
P
61
61
Z
Z
УЛУЧШ. СТАБИЛИЗ.
УЛУЧШ. СТАБИЛИЗ.
P
P
23
23
P
P
СЪЕМКА ЛУЧШЕГО КАДРА
СЪЕМКА ЛУЧШЕГО КАДРА
P
P
45
45
O
O
БРЕК. С АВТОМ. ЭКСПОЗ.
БРЕК. С АВТОМ. ЭКСПОЗ.
P
P
46
46
X
X
ВРЕКЕТ. С МОДЕЛ. ПЛЕНКИ
ВРЕКЕТ. С МОДЕЛ. ПЛЕНКИ
P
P
47
47
Y
Y
ВРЕКЕТ. С ДИНАМ. ДИАП.
ВРЕКЕТ. С ДИНАМ. ДИАП.
P
P
47
47
L
L
ПОСЛЕДНИЕ
ПОСЛЕДНИЕ
nn
Недоступна
Недоступна
P
P
45
45
Карты памяти
Карты памяти
Фотографии могут храниться во внутренней памяти фотокамеры или на допол-
нительных картах памяти SD, SDHC и SDXC (
P
12), которые в данном руководстве
называются “карты памяти”.
Содержание
- 2 ii; В целях безопасности; Перед использованием изделия прочтите данные; ПРЕДУПРЕЖДЕНИЕ
- 3 iii
- 4 iv
- 7 vii
- 8 viii
- 9 ix; Об этом руководстве; nn; Карты памяти; называются “карты памяти”.
- 10 Содержание; Предупреждение о перегреве
- 11 xi; Часто используемые кнопки
- 12 xii; АВТО
- 13 xiii
- 14 xiv; Меню; Использование меню: Режим съемки; Использование меню: Режим просмотра кадров; Использование меню
- 15 xv; Меню установки параметров
- 16 xvi
- 17 Символы и условные обозначения; для обеспечения правильной работы.; жирным шрифтом; Прилагаемые принадлежности; В комплект фотокамеры входят следующие предметы:; Присоединение ремешка
- 18 Перед началом работы; Части фотокамеры
- 19 DISP; * Нажмите и удерживайте кнопку; Индикатор отображает состояние фотокамеры следующим образом:; Индикатор
- 20 Информация на дисплее фотокамеры; Съемка; Диафрагма
- 21 Просмотр кадров; Режим для фокусировки, режим для слабого; Уровень зарядки аккумуляторной батареи
- 22 Скрытие и показ индикаторов; Нажмите
- 23 Зарядка батареи; Вставьте зарядное устройство; Индикатор зарядки батареи
- 24 28) времени зарядки (имейте в виду, что время зарядки возрастает; Выньте зарядное устройство из розетки, если оно не используется.
- 25 Первые шаги; Установка батареи и карты памяти; карты памяти; Вставляйте батарею, соблюдая полярность.; В правильном
- 26 Вставьте карту памяти.; Щелчок; Закройте крышку отсека батареи.
- 27 Использование блока питания переменного тока; Перед извлечением батареи или карты памяти
- 28 Совместимые карты памяти; или устройства; рожности может привести к повреждению карты памяти.; ФОРМАТИРОВАТЬ; повреждению карты памяти.
- 29 Батареи; за один или два дня до использования.
- 30 Включение и выключение фотокамеры; Режим съемки; Переключение в режим просмотра; Нажмите кнопку; Режим просмотра; Переключение в режим съемки; , чтобы вернуться в режим
- 31 Кнопка; Автоматическое выключение; 02) не будет совершаться никаких действий.
- 32 Основные установки; ЯРКИЙ LCD; Часы фотокамеры
- 33 Фотографирование в режиме; В этом разделе описывается фотографирование в режиме; Выберите режим; Значок; В режиме; не соответствует объекту, выберите режим; SP; выберите программу вручную.
- 34 Поместите изображение в рамку кадра.; Как держать фотокамеру
- 35 ПОДСВЕТКА AF; получения информации о выключении подсветки.; Если фотокамера сможет произвести фокусировку,
- 36 Кнопка затвора
- 37 Основные функции фотосъемки и просмотра кадров; Просмотр фотографий
- 39 и выберите; Если выбрана опция; Улучшение стабилизации (только F550EXR); Когда на дисплее отображается значок
- 40 Приоритет; кой чувствительностью.
- 41 СЛОЖНЫЙ; в меню съемки может использоваться для выбора следую-
- 42 Панорамируйте фотокамеру в направлении, указанном; Для наилучших результатов
- 43 PRO ФОКУС
- 44 ВКЛ; для опции; СОХР ИСХ ИЗОБРАЖ; в меню установки параметров (
- 45 ПРОГРАММЫ; му, соответствующую положению; на диске выбора режимов.
- 46 КОШКА; водит спуск затвора при обнаружении животного (
- 47 РУЧНОЙ; В этом режиме Вы регулируете выдержку и диафрагму.; Индикатор экспозиции
- 48 ПРОГРАММА AE; Фотокамера автоматически устанавливает экспозицию.
- 49 Более подробно о фотосъемке; Блокировка фокуса; Фокусировка; : Удерживайте кнопку затвора
- 50 Автофокус; Быстродвижущиеся объекты.
- 51 Коррекция экспозиции; Появится значок
- 52 Режим макросъемки (Съемка с близкого расстояния); . При включенном режиме; OFF
- 53 Использование вспышки (Супер интеллектуальная вспышка); Когда используется вспышка, то система фотокамеры
- 54 красных глаз
- 55 Использование таймера; Опция
- 56 Запись данных GPS с фотографиями (только F550EXR); ПОИСК МЕСТОПОЛОЖ; Лучше всего GPS работает вне помещения под чистым небом.; ОТКЛ; для; ИНФО О МЕСТОПОЛОЖ
- 58 GPS; Фотокамера не может получить данные GPS, если антенна заслонена (
- 59 Интеллектуальная функция обнаружения лица; для вызова меню; ОПРЕДЕЛЕНИЕ ЛИЦА
- 60 Непрерывная съемка; СЕРИЙНАЯ СЪЕМКА; Частота смены кадров меняется в зависимости от выдержки.; ПЕРВЫЕ
- 61 ПОСЛЕДНИЕ; Выделите количество кадров и нажмите селектор
- 62 ШАГИ EV ДЛЯ; 7), и третий – недоэкспонированный на ту же
- 63 ДАРТНЫЙ
- 64 RAW; в меню установки параметров.
- 65 Распознавание лиц; Добавление новых лиц; РЕГИСТРАЦИЯ; РЕГИСТРАЦИЯ; РАСПОЗНАВАНИЕ ЛИЦ; Чтобы отключить распознавание лиц, выберите
- 66 Введите данные распознавания лиц.; ИМЯ; : Введите имя длиной до 14 знаков и нажмите; ДЕНЬ РОЖДЕНИЯ; : Введите дату рождения этого человека и нажмите; OK; : Выберите опцию, описывающую Ваше отношение к данному
- 67 Просмотр, редактирование и удаление существующих данных; Просмотрите или отредактируйте данные распознавания лиц.; ЗАМЕНА ИЗОБРАЖЕНИЯ; и сделайте новый пор-; СТЕРЕТЬ; Автоматическое добавление лиц; АВТО РЕГИСТРАЦИЯ; в меню
- 68 освободить место для новых лиц, удалив имеющиеся данные.; отключается, если уже имеются данные о восьми лицах.
- 69 Опции меню просмотра снимков; , а затем нажмите селектор вверх и
- 70 Увеличение во время просмотра
- 71 Многокадровый просмотр; При выборе
- 72 Более подробно о просмотре снимков; Удаление фотографий; УДАЛИТЬ; выберите опцию из перечисленных ниже.; ДА; для удаления этих фотографий.
- 73 Поиск изображений; ПОИСК ИЗОБРАЖЕНИЯ
- 74 Помощь фотоальбома; Создание фотоальбома; Ни фотографии; ЗАВЕРШИТЬ ФОТОАЛЬБОМ; Фотоальбомы могут содержать до 300 изображений.
- 75 Просмотр фотоальбомов; Выделите альбом в меню помощи фотоальбома и нажмите; Редактирование и удаление фотоальбомов; Откройте альбом и нажмите; РЕДАКТИРОВАТЬ; : Редактирование альбома, как описано в разделе “Создание; Фотоальбомы
- 76 Просмотр панорам
- 77 Просмотр информации о снимке (только F550EXR); Информацию о снимке можно просматривать, нажав; Гистограммы; Оптимальная экспозиция; : Пиксели распределяются по; Переэкспонирование; : Пиксели скапливаются с правой; Недоэкспонирование; : Пиксели скапливаются с левой
- 78 Запись видеофрагментов; Чтобы завершить запись, нажмите снова кнопку; Масштаб изображения можно настроить во время записи.
- 79 Возможность делать снимки во время записи; Размер кадра видеоролика; Перед записью выберите размер кадра, используя опцию; ДЕО
- 80 Видеофрагменты; Просмотр видеофрагментов; Скорость воспроизведения; или; Не закрывайте динамик во время просмотра.
- 81 Просмотр фотографий на телевизоре; Выключите фотокамеру.
- 82 Подключение фотокамеры к телевизорам высокой четкости
- 83 Подключения; Печать фотографий через USB; , чтобы открыть окно подтверждения после завершения установок.
- 84 BACK; , однако имейте в виду, что некоторые принтеры могут не отреагиро-; ПЕЧАТАЕТСЯ; исчезла с дисплея; Печать даты фотосъемки; Для печати даты съемки на фотографиях нажмите; ПЕЧАТЬ С ДАТОЙ; в меню PictBridge (для печати фотографий без печати; ПЕЧАТЬ БЕЗ ДАТЫ
- 85 Печать задания печати DPOF; DPOF; igital; С ДАТОЙ
- 86 Повторите шаги 4–5, чтобы завершить задание печати, и нажмите; Задания печати могут содержать не более 999 фотографий.
- 87 Просмотр изображений на компьютере; Не; фотокамеру к компьютеру, пока установка; Windows: Установка MyFinePix Studio
- 88 Windows 7/Windows Vista; Если появляется диалоговое окно автозапуска, нажмите на файл; Программа установки запустится автоматически нажмите; Install; (Установить MyFinePix Studio) и следуйте инструкциям; Если программа установки не запускается автоматически; Установка завершена. Перейдите к шагу “Подключение фотокамеры” (
- 89 Macintosh: Установка FinePixViewer; Installer for Mac OS X
- 90 Mac OS X 10.5 или более ранняя
- 91 Подключение фотокамеры; Выключите фотокамеру и под-; Cancel
- 92 Help
- 93 Отсоединение фотокамеры
- 94 Используйте; Чтобы открыть опции режима съемки меню
- 95 Опции меню
- 96 Размер к соотношению сторон
- 98 Использование меню съемки; Чтобы открыть меню режима съемки, нажмите; Опции меню съемки; Режим
- 99 RANGE
- 100 : Пользовательский баланс белого; НИЖЕ; ISO
- 104 ПОМОЩЬ ФОТОАЛЬБОМА
- 105 СЛАЙД ШОУ; БОЛЕЕ ЧЕТКО; Во время слайд-шоу фотокамера не отключается автоматически.
- 106 Использование меню просмотра кадров; Чтобы открыть меню просмотра, нажмите; Опции меню просмотра кадров
- 107 ВОССТАНОВИТЬ ВСЕ: Отмена выбора всех изображений
- 109 будет показано
- 111 РЕЗАПИСАТЬ
- 112 фии с соотношением сторон 3 : 2 отображаются в черной рамке.
- 113 Использование меню установки параметров; Откройте меню установки параметров.; Отрегулируйте установки.
- 114 Опции меню установки параметров
- 119 ки, попробуйте увеличить расстояние до объекта.
- 121 не работает при включенной интеллектуальной функции обна-
- 122 Дополнительные аксессуары; Относится к компьютеру; Кабель USB
- 123 Аксессуары от FUJIFILM
- 124 Технические примечания; Уход за фотокамерой; Хранение и эксплуатация; • контакта с изделиями из резины и ви-; Вода и песок
- 125 Чистка
- 126 Проблемы и решения; Питание и батарея
- 127 Меню и сообщения на дисплее; РУССКИЙ
- 132 Устранение неисправностей; Предупреждающие сообщения и окна; На ЖК-дисплее отображаются следующие предупреждения:
- 136 Подсказки и советы; Работа батареи; Чтобы избежать размытости; , вызываемой движением фотокамеры при нажатии кноп-; Чтобы выключить таймер
- 138 Профессиональные подсказки
- 139 Приложение; Объем внутренней памяти/карты памяти
- 141 Технические характеристики; Система
- 145 Примечания; последней информации посетите сайт по адресу
