Фотоаппараты Casio EX-ZR10 - инструкция пользователя по применению, эксплуатации и установке на русском языке. Мы надеемся, она поможет вам решить возникшие у вас вопросы при эксплуатации техники.
Если остались вопросы, задайте их в комментариях после инструкции.
"Загружаем инструкцию", означает, что нужно подождать пока файл загрузится и можно будет его читать онлайн. Некоторые инструкции очень большие и время их появления зависит от вашей скорости интернета.

16
К
,
ы
.
Д
ы
,
ы
,
ы
«
».
•
П
ы
щ
-
CASIO (NP-110).
ы
.
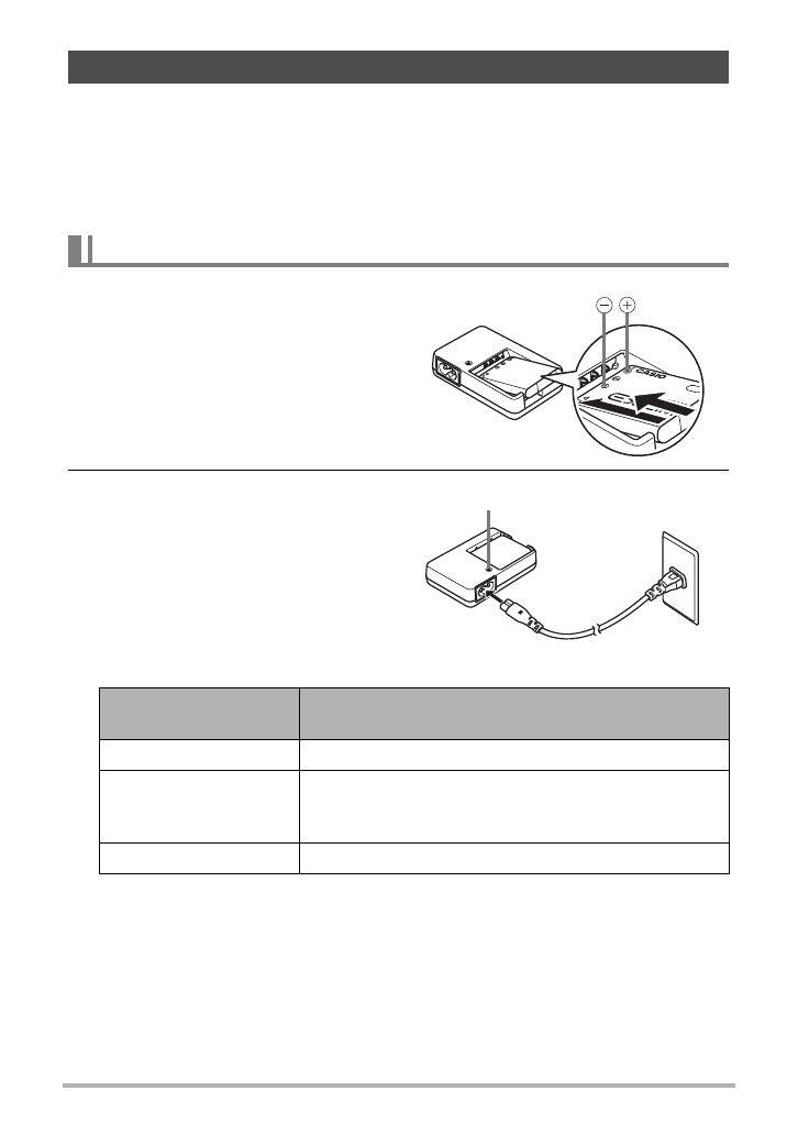
1.
С
е и
и е
+
и
и а е
-
к е
ы
а а еи
е
и и
к е
а и
а я
а
,
а
е
а а е
а я
е
.
2.
Вк
чи е
а я
е
е
е к
.
Д
180
.
И
[CHARGE]
,
.
Вы
,
ы
.
е е
ача
а
ы
ка е
а я и е
а а е
.
За я ка
а а еи
С
я ие
и ика
а
и а ие
ы
М
ы
ы
ы
щ
ы
,
ы
ы
(
. 170)
Вы
.
И
[CHARGE]
