Фотоаппараты Casio EX-Z2300 - инструкция пользователя по применению, эксплуатации и установке на русском языке. Мы надеемся, она поможет вам решить возникшие у вас вопросы при эксплуатации техники.
Если остались вопросы, задайте их в комментариях после инструкции.
"Загружаем инструкцию", означает, что нужно подождать пока файл загрузится и можно будет его читать онлайн. Некоторые инструкции очень большие и время их появления зависит от вашей скорости интернета.
Загружаем инструкцию

14
К
,
.
,
,
«
».
•
П
-
CASIO (NP-110).
Н
.
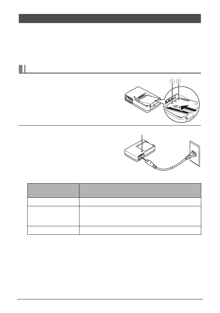
1.
С
+
-
щ
,
.
2.
ч
.
180
.
И
[CHARGE]
,
.
В
,
.
П
ч
.
С
Н
,
(
. 155)
В
.
И
[CHARGE]
