Фотоаппараты Canon PowerShot SD100 - инструкция пользователя по применению, эксплуатации и установке на русском языке. Мы надеемся, она поможет вам решить возникшие у вас вопросы при эксплуатации техники.
Если остались вопросы, задайте их в комментариях после инструкции.
"Загружаем инструкцию", означает, что нужно подождать пока файл загрузится и можно будет его читать онлайн. Некоторые инструкции очень большие и время их появления зависит от вашей скорости интернета.

31
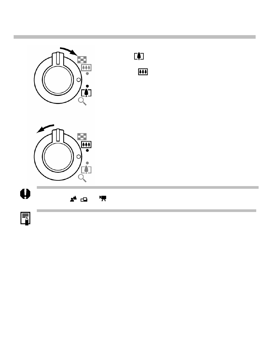
Настройка
цифрового
увеличения
·
Для
увеличения
объекта
нажмите
на
рычаг
трансфокации
в
сторону
.
·
Для
уменьшения
объекта
нажмите
на
рычаг
трансфокации
в
сторону
.
·
Цифровое
увеличение
нельзя
использовать
при
выключенном
ЖК
-
мониторе
или
в
режимах
,
или
.
·
Чем
больше
цифровое
увеличение
изображения
,
тем
хуже
его
качество
.