Фотоаппараты Canon PowerShot G2 - инструкция пользователя по применению, эксплуатации и установке на русском языке. Мы надеемся, она поможет вам решить возникшие у вас вопросы при эксплуатации техники.
Если остались вопросы, задайте их в комментариях после инструкции.
"Загружаем инструкцию", означает, что нужно подождать пока файл загрузится и можно будет его читать онлайн. Некоторые инструкции очень большие и время их появления зависит от вашей скорости интернета.

Функция энергосбережения
Камера оснащена функцией энергосбережения. Если эта функция активизирована, она выключает
питание камеры в следующих случаях.
Режим съемки: питание выключается приблизительно через 3 мин после последней
операции. ЖК-монитор выключается приблизительно через 3 мин
после последней операции, даже если функция энергосбережения
отключена.
Режим воспроизведения: питание выключается приблизительно через 5 мин после последней
операции.
Подсоединен фотопринтер для печати открыток СР-10 (приобретается дополнительно):
питание выключается приблизительно через 5 мин после последней
операции на камере или после завершения печати на принтере.
Подсоединен персональный компьютер: (При питании от аккумулятора функция энергосбережения
всегда включена, независимо от установок в настройках камеры. При питании от бытовой
электросети функция энергосбережения не работает.)
приблизительно через 5 мин после последней операции на экран
компьютера выводится предупреждающее сообщение. Питание камеры
выключается через 1 мин после этого, если на камере не будет
выполнена никакая операция.
• Нажатие кнопки спуска затвора наполовину восстановит питание камеры, если оно было выключено
функцией энергосбережения.
• Учтите, что камера продолжает потреблять минимальную мощность даже после того, как она будет
выключена функцией энергосбережения.
• При воспроизведении слайд-шоу функция энергосбережения отключается (стр. 86).
• Функцию энергосбережения можно отключить в меню настройки Set up (стр. 104).
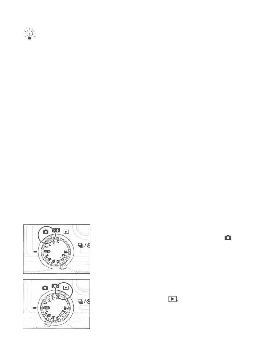
Переключение между режимами съемки и воспроизведения
Съемка
• Поверните главный диск управления в положение
Воспроизведение
• Откройте ЖК-монитор и поверните главный диск
управления в положение При быстром переключении
в режим воспроизведения непосредственно из режима
съемки объектив может не убираться. Это удобно, если
требуется продолжить съемку после проверки или
удаления изображения сразу после съемки.
• Не дотрагивайтесь до объектива при работе в режиме
воспроизведения.
30 Основные функции
Содержание
- 2 Торговые марки; или торговыми марками соответствующих компаний.; Предостережение; красных или черных точек. Это не оказывает никакого воздействия; Видеоформат
- 3 Содержание
- 6 Прочитайте это в первую очередь; Тестовые снимки; и ее вспомогательные источники питания.
- 9 Избегайте воздействия сильных магнитных полей; извлечь оборудование из пакета.; Если происходит образование конденсата внутри камеры; Прочитайте это в первую очередь 7
- 10 Краткое руководство
- 11 Удаление изображения, отображаемого на дисплее; Нажмите кнопку пока изображение отображается на дисплее.
- 12 Элементы камеры и их назначение; Вид спереди
- 13 Вид сзади; Крышка гнезда CF-карты
- 15 съемки и воспроизведения.
- 16 Диск установки режимов; • Зона творческих режимов; • Зона автоматических режимов
- 17 Панель дисплея
- 18 Подготовка видеокамеры; Зарядка аккумулятора
- 19 Меры предосторожности при обращении с аккумулятором; еще. Это может привести к его разогреву и возгоранию.
- 21 Характеристики аккумулятора
- 22 Питание от бытовой электросети
- 24 зарядному устройству.
- 25 Зарядка с помощью компактного блока питания
- 27 Меры предосторожности при работе с CF-картами; прикладывать к ним усилия, подвергать их ударам и вибрации.
- 31 Основные функции; Включение питания; LEHS
- 32 Функция энергосбережения; Переключение между режимами съемки и воспроизведения
- 33 Использование ЖК-монитора
- 34 Переключение режимов ЖК-монитора; Съемка
- 35 Воспроизведение; DISPLAY
- 36 Гистограмма
- 38 Нажатие кнопки спуска затвора
- 40 Настройка трансфокатора
- 41 Выбор меню и установок
- 42 Установки меню и заводские установки
- 43 Съемка: установки выбирает камера
- 44 Контроль изображения сразу после съемки; С помощью нажатой кнопки спуска затвора; 2 Съемка: установки выбирает камера
- 45 Изменение длительности показа изображения; Использование встроенной вспышки
- 46 Установки встроенной вспышки
- 47 О функции уменьшения эффекта «красных глаз»; ближе к объекту съемки.
- 51 Вспомогательный режим для съемки панорам; Кадрирование; Съемка: установки выбирает камера 49
- 52 объекты. Объекты могут получиться искривленными или удвоенными.; Съемка удаленного объекта; поворачивайте слева поворачивайте сверху вниз или; 0 Съемка: установки выбирает камера
- 59 Цифровое увеличение
- 60 Разрешение
- 62 • Оставшиеся кадры; Формат файлов RAW может выбираться только в режимах Р, TV, Av и М.
- 64 TV Установка выдержки затвора; Диск установки режимов поверните в
- 65 Индикация выдержки затвора; и а; Съемка: выбор особых установок 63
- 66 Установка величины диафрагмы
- 67 Индикация величины диафрагмы на дисплее; Чем больше величина диафрагмы, тем меньше отверстие.
- 68 М Ручная установка выдержки и диафрагмы
- 72 WB Установка баланса белого
- 82 Съемка объектов, не подходящих для автофокусировки; Автофокусировка может быть неэффективной в следующих случаях:
- 83 Съемка в режиме ручной фокусировки
- 84 Переключение между режимами фокусировки
- 86 Сброс номера файла; Можно выбрать метод присвоения номеров файлов.; О номерах файлов; 4 Съемка: выбор особых установок
- 87 Функции, доступные в различных режимах съемки
- 88 Просмотр изображений по отдельности
- 91 J U M P Переход через несколько изображений; Воспроизведение одиночного изображения
- 92 Просмотр видеофильма; Пауза и возобновление воспроизведения
- 93 Поворот изображений на дисплее; Оригинал
- 94 Пауза и возобновление слайд-шоу; • Для приостановки воспроизведения нажмите кнопку; Быстрая перемотка слайд-шоу вперед / назад; • Для перехода к предыдущему или следующему
- 95 Воспроизведение 93
- 96 Отбор изображений для слайд-шоу
- 97 Воспроизведение 95; Повтор; Регулировка длительности воспроизведения и установок повтора; Длительность
- 98 Защита изображений
- 100 Стирание всех изображений
- 101 Форматирование CF-карты; появляется сообщение «CF».
- 102 затирают такие параметры.; Выбор изображений для печати; Отбирать изображения можно двумя способами.
- 103 Одиночные изображения
- 105 Установка стиля отпечатка; Возможны следующие установки печати.; Дата; Откройте меню Print Order (Заказ на печать); Тип печати
- 106 Номер файла; 04 Установки для печати (Установки DPOF)
- 107 Сброс установок для печати
- 108 Подсоединение фотопринтера для печати карточек СР-10; печати контролируйте уровень заряда аккумулятора.
- 112 Границы; Для закрытия меню задания параметров; Перед обрезкой
- 113 Изменение размера рамки обрезки
- 114 • Номер файла не печатается.
- 115 распечатывается 20 изображений на странице.; Отмена печати; • Возобновление печати невозможно в следующих условиях.; Ошибки печати
- 116 Список пунктов меню
- 120 Меню настройки Set up
- 123 Нажмите пальцем на в направлении
- 125 Использование внешней вспышки
- 126 Другие вспышки Canon
- 127 Установка кольцевой вспышки для макросъемки MR-14EX; Установите адаптер Macro Lite Adapter 58C,
- 128 нулевое значение компенсации.
- 130 Установка широкоугольного
- 132 Приложения; Замена элемента питания системы впечатывания даты; элементе питания, может повредить желудок и кишечник.
- 134 Уход за камерой
- 137 Коды сообщений
- 138 Список сообщений
- 145 Алфавитный указатель
- 147 в Москве


