Фотоаппараты Canon PowerShot A720 IS - инструкция пользователя по применению, эксплуатации и установке на русском языке. Мы надеемся, она поможет вам решить возникшие у вас вопросы при эксплуатации техники.
Если остались вопросы, задайте их в комментариях после инструкции.
"Загружаем инструкцию", означает, что нужно подождать пока файл загрузится и можно будет его читать онлайн. Некоторые инструкции очень большие и время их появления зависит от вашей скорости интернета.

Широко используемые функции съемки
57
См.
Функции, доступные в различных режимах съемки
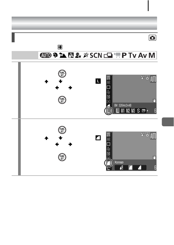
Изменение разрешения/компрессии (Фотографии)
Режим съемки
1
Выберите значение разрешения.
1.
Нажмите кнопку
.
2.
Кнопкой
или
выберите значок
,
затем
кнопкой
или
измените
значение этого параметра.
3.
Нажмите кнопку
.
2
Выберите значение компрессии.
1.
Нажмите кнопку
.
2.
Кнопкой
или
выберите значок
,
затем
кнопкой
или
измените
значение этого параметра.
3.
Нажмите кнопку
.
Широко используемые функции съемки


