Фотоаппараты Canon PowerShot A300 - инструкция пользователя по применению, эксплуатации и установке на русском языке. Мы надеемся, она поможет вам решить возникшие у вас вопросы при эксплуатации техники.
Если остались вопросы, задайте их в комментариях после инструкции.
"Загружаем инструкцию", означает, что нужно подождать пока файл загрузится и можно будет его читать онлайн. Некоторые инструкции очень большие и время их появления зависит от вашей скорости интернета.

71
Загрузка
изображений
без
установки
программного
обеспечения
П
ри
и
пользовании
Windows XP
или
Mac OS X (10,1
или
10,2)
для
загрузки
изображений
(
только
в
формате
JPE )
можно
использовать
программное
обеспечение
,
входящее
в
комплект
поставки
этих
операционных
систем
,
не
устанавливая
при
этом
программное
обеспечение
с
компакт
-
диска
Canon Digital Camera Solution Disk.
Это
удобно
для
загрузки
изображений
в
компьютер
,
на
который
не
установлено
специальное
программное
обеспечение
.
·
При
отсоединении
USB-
каб еля
при
включенной
камере
она
автоматически
в ыключаетс я
.
·
При
подключении
к
плате
,
с овмес тимой
с
USB 2.0
в ыполнение
любых
операц ий
не
гарантиру ется
.
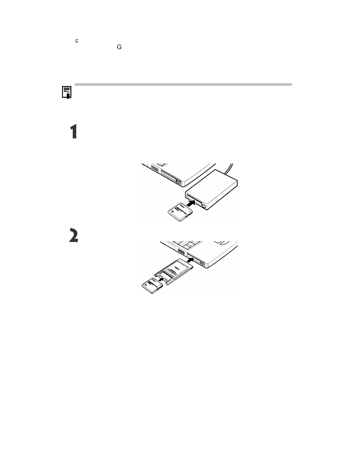
Загрузка
изображений
непосредственно
с
CF-
карты
Извлеките
CF-
карту
из
камеры
и
установите
ее
в
устройство
для
чтения
CF-
карт
,
подключенное
к
компьютеру
.
·
При
использовании
устройство
чтения
PC Card
сначала
установите
карту
в
адаптер
PC Card (
приобретается
дополнительно
),
затем
установите
адаптер
PC Card
в
устройство
чтения
PC Card
компьютера
.
Дважды
щелкните
на
значке
носителя
,
содержащего
CF-
карту
.
И
скопируйте
изображения
с
CF-
карты
в
требуемую
папку
на
жестком
диске
.


