Фотоаппараты Canon EOS 550D - инструкция пользователя по применению, эксплуатации и установке на русском языке. Мы надеемся, она поможет вам решить возникшие у вас вопросы при эксплуатации техники.
Если остались вопросы, задайте их в комментариях после инструкции.
"Загружаем инструкцию", означает, что нужно подождать пока файл загрузится и можно будет его читать онлайн. Некоторые инструкции очень большие и время их появления зависит от вашей скорости интернета.

20
,
.
.
,
.
1
:
(
. 46)
C
:
(
. 55)
.
d
:
(
. 60)
s
:
(
. 78)
f
:
(
. 80)
a
:
(
. 83)
8
:
(
. 85)
7
:
(
. 49)
2
:
(
. 50)
3
:
(
. 51)
4
:
(
. 52)
5
:
(
. 53)
6
:
(
. 54)
k
:
(
. 123)
H101_R.book Page 20 Friday, January 15, 2010 7:19 PM
Содержание
- 71 Формат бумаги
- 242 Кнопка; Режимы базовой зоны; Использование меню; Вкладка; Для отображения параметров нажмите кнопку <
- 243 Экран быстрого выбора; Когда отображены настройки съемки,
- 244 Для выбора стиля (Picture; Качество; Для выбора качества используйте клавиши <; Стандартное
- 245 Обозначения
- 246 Информация в видоискателе
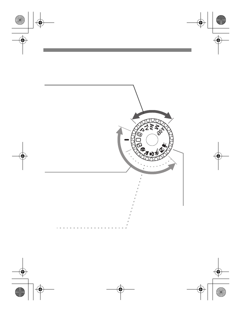
- 247 Использование встроенной вспышки; Режимы творческой зоны; Баз
- 248 : Программная автоэкспозиция; : Автоэкспозиция с приоритетом выдержки; Тв
- 249 Точка автофокусировки; : Режим автофокусировки; Покадровая автофокусировка
- 250 Чувствительность ISO; Режим перевода кадров; > можно выбирать во всех
- 251 Съемка с использованием ЖКД-видоискателя; Нажмите кнопку спуска; Настройки ЖКД-видоискателя; Температура
- 253 Просмотр изображения; Увеличение; Просмотр; Выбор изображения


