Фотоаппараты Canon EOS 550D KIT 18-55IS - инструкция пользователя по применению, эксплуатации и установке на русском языке. Мы надеемся, она поможет вам решить возникшие у вас вопросы при эксплуатации техники.
Если остались вопросы, задайте их в комментариях после инструкции.
"Загружаем инструкцию", означает, что нужно подождать пока файл загрузится и можно будет его читать онлайн. Некоторые инструкции очень большие и время их появления зависит от вашей скорости интернета.

Обозначения
20
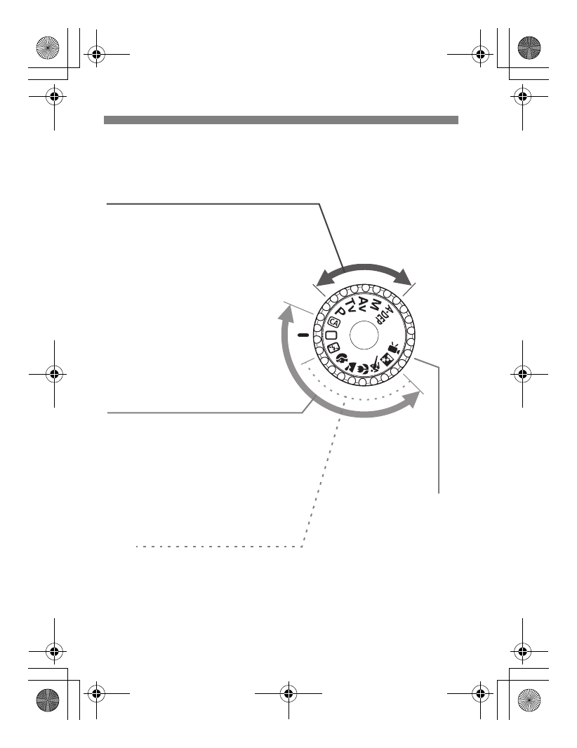
Диск
установки
режима
На
диске
установки
режима
имеются
режимы
базовой
зоны
,
режимы
творческой
зоны
и
режим
видеосъемки
.
Базовая
зона
Требуется
просто
нажать
кнопку
спуска
затвора
.
Полностью
автоматическая
съемка
,
подходящая
для
данного
объекта
.
1
:
Полностью
автоматический
режим
(
стр
. 46)
C
:
Творческий
авторежим
(
стр
. 55)
Творческая
зона
Эти
режимы
расширяют
возможности
управления
камерой
при
съемке
различных
объектов
.
d
:
Программная
автоэкспозиция
(
стр
. 60)
s
:
Автоэкспозиция
с
приоритетом
выдержки
(
стр
. 78)
f
:
Автоэкспозиция
с
приоритетом
диафрагмы
(
стр
. 80)
a
:
Ручная
экспозиция
(
стр
. 83)
8
:
Автоэкспозиция
с
контролем
глубины
резкости
(
стр
. 85)
Зона
автоматических
режимов
7
:
Без
вспышки
(
стр
. 49)
2
:
Портрет
(
стр
. 50)
3
:
Пейзаж
(
стр
. 51)
4
:
Макро
(
стр
. 52)
5
:
Спорт
(
стр
. 53)
6
:
Ночной
портрет
(
стр
. 54)
k
:
Видеосъемка
(
стр
. 123)
H101_R.book Page 20 Friday, January 15, 2010 7:19 PM
Содержание
- 2 Съемка; ISO; AUTO
- 3 Контрольный
- 5 Оглавление
- 6 Содержание
- 12 Правила
- 16 Обозначения
- 18 Отображение
- 19 Информация
- 21 Объектив
- 22 Зарядное
- 23 Закрепление
- 28 Запас; Проверка; Температура
- 29 OK; Установка
- 30 Язык
- 33 MF
- 35 Image; функции
- 37 Предотвращение
- 40 Экран
- 42 Форматирование
- 43 стр; Выполняйте
- 47 Часто
- 48 AI Servo AF; Приемы
- 49 Рекомендации
- 62 Нажмите; Установите; Изменение
- 63 «AUTO»
- 64 Использование
- 70 Серийная
- 73 Формат бумаги
- 74 Digital; Изображения; параметр; меню
- 75 Стандартное; Пейзаж; Выбор
- 76 Натуральное
- 77 Об
- 82 Av
- 84 BULB; Длительные
- 89 Автоматический
- 92 Значения
- 95 Выберите; Резкость; Задайте; Пользов
- 96 sRGB; Цвет; Adobe RGB
- 97 Фиксация; wre
- 98 Canon Speedlite; FEL
- 100 Ручной
- 102 Последовательность
- 103 Стандартная
- 105 Включена; данных
- 111 Настройки
- 112 AF
- 115 Сфокусируйтесь
- 116 Автофокусировка
- 117 Условия
- 123 Видеосъемка
- 127 Выдержк
- 128 Наведите
- 131 Меню; NTSC
- 135 Примечания
- 138 Card; Полезные
- 140 Способы
- 142 PD
- 146 Автооткл
- 147 Настройка
- 150 Автоматическая
- 151 Добавление
- 153 Ручная
- 158 Увеличение
- 159 Повернуть; Поворот
- 160 Просмотр
- 161 ZoomBrowser
- 164 Редактирование
- 167 HDMI MINI; HD
- 168 HDMI CEC; Управл
- 170 Защита
- 171 RAW; Стирание
- 174 гистограмме; Гистограмма; RGB
- 175 Печать
- 177 Выведите
- 186 Выйдите
- 187 Заказ
- 188 Прямая
- 191 Пользовательские
- 192 Экспозиция; Откл
- 193 Изображение
- 194 Приоритет
- 195 Блокировки; AI
- 196 SET
- 197 Добавлять; Запрещено
- 198 Внесение
- 200 Процедура
- 202 Когда
- 204 Пульт
- 206 Внешние; Вспышки
- 207 EX
- 209 Проверьте; SSID; Сделайте
- 212 Красное; Параметры
- 213 Синее; Желтое
- 214 МОЁ; Зеленое
- 218 Проблемы
- 219 Автоотключение
- 226 Видоискатель
- 228 ЖК
- 232 About MPEG-4 Licensing
- 235 ВНИМАНИЕ
- 244 Кнопка; Режимы базовой зоны; Использование меню; Вкладка; Для отображения параметров нажмите кнопку <
- 245 Экран быстрого выбора; Когда отображены настройки съемки,
- 246 Качество записи изображений; Для выбора стиля (Picture; Для выбора качества используйте клавиши <
- 248 Информация в видоискателе
- 249 Использование встроенной вспышки; Режимы творческой зоны; Баз
- 250 : Программная автоэкспозиция; : Автоэкспозиция с приоритетом выдержки
- 251 Точка автофокусировки; : Режим автофокусировки; Покадровая автофокусировка
- 252 Режим перевода кадров; > можно выбирать во всех
- 253 Съемка с использованием ЖКД-видоискателя; Нажмите кнопку спуска; Настройки ЖКД-видоискателя
- 255 Просмотр изображения; Выбор изображения
- 256 EOS DIGITAL Solution Disk; Руководство; EOS Utility
- 257 EOS DIGITAL Solution Disk.; Программа
- 258 Windows; Мой; Macintosh; PDF



